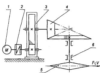
ЗАДАНИЕ 5 Привод люлечного элеватора
1 - двигатель; 2 - муфта упругая втулочно-пальцевая; 3 - цилиндрический редуктор; 4 - цепная передача; 5 - цепь элеватора;
6 - груз; 7 - натяжное устройство
Исходные |
|
|
|
|
Варианты |
|
|
|
|
||
данные |
1 |
2 |
3 |
4 |
5 |
6 |
7 |
8 |
9 |
10 |
|
Тяговая сила |
1,6 |
1,5 |
1,8 |
2,0 |
2,0 |
3,0 |
2,8 |
2,5 |
2,0 |
1,5 |
|
цепи, F, кН |
|||||||||||
|
|
|
|
|
|
|
|
|
|
||
Скорость тя- |
|
|
|
|
|
|
|
|
|
|
|
говой цепи, |
1,8 |
1,7 |
1,6 |
1,5 |
1,4 |
1,3 |
1,2 |
1,1 |
1,0 |
0,9 |
|
V, м/с |
|
|
|
|
|
|
|
|
|
|
|
Шаг тяговой |
150 |
100 |
150 |
125 |
100 |
80 |
80 |
125 |
125 |
100 |
|
цепи, p, мм |
|||||||||||
|
|
|
|
|
|
|
|
|
|
||
Число зубьев |
9 |
8 |
7 |
10 |
10 |
11 |
9 |
7 |
8 |
7 |
|
звездочки, z |
|||||||||||
|
|
|
|
|
|
|
|
|
|
||
Срок службы |
|
|
|
|
|
|
|
|
|
|
|
привода Lh, |
5 |
6 |
4 |
5 |
6 |
7 |
5 |
4 |
7 |
6 |
|
лет |
|
|
|
|
|
|
|
|
|
|
|
90
ЗАДАНИЕ 6 Привод подвесного конвейера
1 - двигатель; 2 - муфта упругая втулочно-пальцевая; 3 - цилиндрический редуктор; 4 - коническая зубчатая передача;
5 - звездочка грузовой цели; 6 - опоры приводного вала
Исходные |
|
|
|
|
Варианты |
|
|
|
|
||
данные |
1 |
2 |
3 |
4 |
5 |
6 |
7 |
8 |
9 |
10 |
|
Тяговая сила |
7,5 |
7,0 |
6,5 |
6,0 |
5,5 |
5,0 |
4,0 |
3,0 |
3,0 |
2,0 |
|
цепи, F, кН |
|||||||||||
|
|
|
|
|
|
|
|
|
|
||
Скорость гру- |
|
|
|
|
|
|
|
|
|
|
|
зовой цепи, |
0,65 |
0,65 |
0,6 |
0,6 |
0,55 |
0,5 |
0,5 |
0,55 |
0,45 |
0,45 |
|
V, м/с |
|
|
|
|
|
|
|
|
|
|
|
Шаг грузо- |
80 |
100 |
100 |
125 |
80 |
125 |
100 |
100 |
80 |
100 |
|
войцепи, p, мм |
|||||||||||
|
|
|
|
|
|
|
|
|
|
||
Число зубьев |
7 |
9 |
7 |
7 |
9 |
8 |
8 |
9 |
8 |
7 |
|
звездочки, z |
|||||||||||
|
|
|
|
|
|
|
|
|
|
||
Срок службы |
|
|
|
|
|
|
|
|
|
|
|
привода Lh, |
7 |
6 |
5 |
4 |
6 |
7 |
4 |
5 |
7 |
6 |
|
лет |
|
|
|
|
|
|
|
|
|
|
|
91
ЗАДАНИЕ 7 Привод ленточного конвейера
1-двигатель, 2-клиноременная передача, 3-конический редуктор, 4-муфта зубчатая, 5-промежуточная опора, 6-барабан,7-лента конвейера
Исходные |
|
|
|
|
Варианты |
|
|
|
|
||
данные |
1 |
2 |
3 |
4 |
5 |
6 |
7 |
8 |
9 |
10 |
|
Окружная си- |
|
|
|
|
|
|
|
|
|
|
|
ла на бараба- |
0,5 |
1,2 |
1,1 |
0,9 |
0,8 |
0,7 |
1,0 |
1,0 |
0,8 |
0,5 |
|
не, F, кН |
|
|
|
|
|
|
|
|
|
|
|
Окружная |
|
|
|
|
|
|
|
|
|
|
|
скорость бара- |
3,0 |
2,0 |
2,5 |
3,0 |
3,0 |
3,5 |
2,5 |
2,0 |
2,5 |
2,0 |
|
бана, V, м/с |
|
|
|
|
|
|
|
|
|
|
|
Диаметр бара- |
800 |
800 |
900 |
900 |
800 |
800 |
600 |
600 |
400 |
400 |
|
бана, D, мм |
|||||||||||
|
|
|
|
|
|
|
|
|
|
||
Срок службы |
|
|
|
|
|
|
|
|
|
|
|
привода Lh, |
6 |
4 |
5 |
5 |
7 |
6 |
5 |
4 |
6 |
7 |
|
лет |
|
|
|
|
|
|
|
|
|
|
|
92
П17. КОНСТРУКЦИИ ОДНОСТУПЕНЧАТЫХ ЦИЛИНДРИЧЕСКИХ И КОНИЧЕСКИХ РЕДУКТОРОВ
Редуктор цилиндрический одноступенчатый
93
Редуктор цилиндрический одноступенчатый вертикальный
с верхним расположением вала-шестерни
94