|
26 |
|
|
|
|
|
Таблица 5.3 |
|
|
|
|
Условия работы |
Значения |
||
|
|
|
Коэффициентов |
Нагрузка равномерная |
КД ≈ 1 |
||
Нагрузка переменная |
КД ≈ 1,2-1,5 |
||
|
а = (30-50)рц |
Ка = 1 |
|
|
а ≤ 25рц |
Ка = 1,25 |
|
|
а ≥ (60-80)рц |
Ка = 0,8 |
|
Линия центров звездочек наклонена к горизонту: |
|
||
|
|
до 60° |
Кн ≈ 1 |
|
больше 60° |
Кн ≈ 1,25 |
|
Положение оси регулируется: |
|
||
одной из звездочек |
Крег = 1 |
||
нажимными роликами |
Крег = 1,1 |
||
не регулируется |
Крег = 1,25 |
||
Производство: |
|
Смазка: |
|
без пыли |
|
I – хорошая |
Кс ≈ 0,8 |
|
|
II – удовлетворительная |
Кс ≈ 1 |
запыленное |
|
II – удовлетворительная |
Кс ≈ 1,3 |
Односменное производство |
Креж = 1 |
||
Двухсменное производство |
Креж = 1,25 |
||
Трехсменное производство |
Креж = 1,45 |
||
Задание 7. Найти длину цепи L, мм, которая представляет собой произведение длины цепи, выраженной в шагах или числом звеньев цепи Lр, и шага цепи рц, мм:
|
|
|
|
|
|
|
2a |
|
z z |
2 |
|
z |
2 |
z |
2 |
|
pц |
|
|
|
|
||||||||||
|
L Lp |
pц |
|
|
|
|
|
1 |
|
|
|
|
|
|
1 |
|
|
|
|
pц |
|
|
|
||||||||
|
p |
2 |
|
|
|
2 |
|
|
|
a |
|
|
|
||||||||||||||||||
|
|
|
|
|
|
|
|
|
|
|
|
|
|
|
|
|
|
|
|
||||||||||||
|
|
|
|
|
|
|
ц |
|
|
|
|
|
|
|
|
|
|
|
|
|
|
|
|
|
|
|
|
|
|||
|
Задание 8. Рассчитать уточненное межосевое расстояние цепной |
||||||||||||||||||||||||||||||
|
|
|
|
|
|
|
|
|
|
|
|
|
|
|
|
|
|
|
|
|
|
|
|
|
|
|
|
|
|
|
|
передачи: |
|
|
|
|
|
|
|
|
|
|
|
|
|
|
|
|
|
|
|
|
|
|
|
|
|
|
|
|
|
|
|
|
|
|
|
|
|
|
|
|
|
|
|
|
|
|
|
|
|
|
|
|
|
|
|
|
|
|
|
|
|
|
|
|
|
|
|
|
z1 z2 |
|
|
L |
|
|
|
z1 z2 |
|
|
2 |
|
|
z2 z1 |
|
|
2 |
||||||||||
|
a 0, 25 p L |
|
|
|
|
|
|
|
|
8 |
|
|
|
||||||||||||||||||
|
p |
|
p |
|
|
|
|
|
|
|
|
||||||||||||||||||||
|
ц |
|
|
|
2 |
|
|
|
|
2 |
|
|
|
|
2 |
|
|
||||||||||||||
|
|
|
|
|
|
|
|
|
|
|
|
|
|
|
|
|
|
||||||||||||||
|
|
|
|
|
|
|
|
|
|
|
|
|
|
|
|
|
|
|
|
|
|
|
|
|
|
|
|
|
|
|
|
Для обеспечения провисания цепи уменьшить значение межосевого расстояния на величину: ∆а = 0,003а.
27
Задание 9. Вычислить делительные диаметры ведущей звездочки d1, мм, и ведомой звездочки d2, мм, по формулам:
d1 |
pц |
|
d2 |
pц |
|
|||||||
sin |
180 ; |
sin |
180 . |
|||||||||
|
|
|||||||||||
|
|
z1 |
|
|
|
z2 |
|
|||||
|
|
|
|
|
|
|||||||
Задание 10. Вычислить наружные диаметры звездочек:
|
|
|
180 |
|
|
|
|
|
|
180 |
|
|
||
de1 |
pц |
ctg |
0, 6 |
|
|
de2 |
pц |
ctg |
0, 6 |
. |
||||
|
z1 |
, |
|
z2 |
||||||||||
|
|
|
|
|
|
|
|
|
|
|
|
|
||
Задание 11. Проверка цепи по числу ударов в секунду u, 1/сек, которое для обеспечения долговечности цепи не должно превышать допускаемого [u], 1/сек (из табл. 5.2):
u4z1n1 u
60Lp
Задание 12. Определить окружное усилие F, Н по формуле:
F |
1000Pp |
|
|
V |
. |
||
|
|||
|
|
Нерационально применять цепные передачи при резких колебаниях нагрузки, так как при этом остаточные деформации цепи (увеличение ее шага по сравнению с шагом зубьев звездочек) и значительный износ шарниров возникают уже при кратковременной ее эксплуатации.
Тема № 6. Проектирование и расчет валов [1 Осн., 2 Осн., 1 Доп.].
Проектирование валов заключается в разработке последовательности расположения его основных участков с определением в дальнейшем конкретных размеров. Валы имеют форму тел вращения. Основными участками вала являются:
–концевой консольный участок (отсутствует у промежуточных валов);
–участок под уплотнения (отсутствует у промежуточных валов);
–две посадочные поверхности под подшипники;
28
–посадочную поверхность под ступицу колеса;
–буртик под колесо.
Переходные участки валов образуются между двумя ступенями разных диаметров. Чаще всего используют два типа переходных участков:
–с канавкой для выхода обрабатывающего инструмента;
–с галтелью постоянного радиуса.
Расчет валов проводят в два этапа: первый этап – приближенный расчет вала, который выполняют для предварительного выбора диаметров вала в местах посадки полумуфт, подшипников, зубчатых колес и т. п.; второй этап – уточненный расчет, выполняемый на основе окончательно разработанной конструкции проектируемого объекта, с целью определения действительного коэффициента запаса прочности для опасного сечения вала.
Приближенный расчет вала
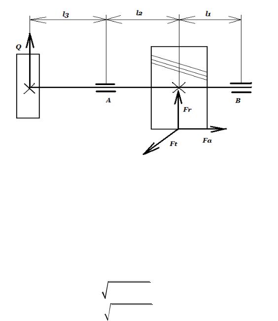
Задание 1. Выписать исходные данные для расчета быстроходного вала редуктора из табл. 6.1 согласно варианта: n1, мин-1 – частота вращения шестерни; m, мм – модуль зацепления; z1 – число зубьев шестерни; Р, кВт – мощность на валу; α = 20° – стандартный угол зацепления; β, град – угол наклона зуба шестерни; l1, l2, l3, мм – длины участков между центрами деталей на валу; Qр, Н – сила, действующая на валу от ременной передачи; Qц, Н – сила, действующая на валу от цепной передачи.
Таблица 6.1
Вариант |
1 |
2 |
3 |
4 |
5 |
6 |
7 |
8 |
9 |
10 |
n1, мин-1 |
305 |
325 |
345 |
365 |
315 |
335 |
355 |
375 |
385 |
395 |
m, мм |
2,25 |
3,5 |
3,15 |
2,25 |
3,5 |
3,15 |
2,25 |
3,5 |
3,15 |
2,25 |
z1 |
24 |
26 |
28 |
30 |
24 |
26 |
28 |
30 |
32 |
26 |
Р, кВт |
2,8 |
3,2 |
4,0 |
3,6 |
4,2 |
2,8 |
3,8 |
3,6 |
4,0 |
4,2 |
β, град |
10,3 |
12,7 |
10,3 |
12,7 |
10,3 |
12,7 |
10,3 |
12,7 |
10,3 |
12,7 |
l1, мм |
35 |
50 |
55 |
40 |
60 |
50 |
30 |
55 |
35 |
40 |
l2, мм |
55 |
65 |
50 |
55 |
65 |
50 |
55 |
65 |
50 |
55 |
l3, мм |
75 |
70 |
80 |
70 |
75 |
70 |
80 |
70 |
75 |
70 |
Qр, Н |
+ |
- |
+ |
- |
+ |
- |
+ |
- |
+ |
- |
Qц, Н |
- |
+ |
- |
+ |
- |
+ |
- |
+ |
- |
+ |
Задание 2. Вычислить значения сил, действующих от ременной или цепной передач на валу (расчет проводить по значениям, данным и полученным в темах 4 и 5).
1. Величина суммарного усилия Qр, Н, от клиноременной передачи при угле обхвата малого шкива α ≥ 150° определяется:
29
Qр 2F0 sin 2 ,
где F0 0 A – усилие предварительного натяжения ремней, Н;
ζ0 = 1,8 МПа – напряжение от предварительного натяжения
ремней;
A z A1 – суммарная площадь поперечных сечений ремней, м2;
z – число ремней клиноременной передачи;
А1 – площадь поперечного сечения одного ремня, м2; α – угол обхвата малого шкива, град.
Направление суммарного усилия можно принимать по линии, соединяющей центры шкивов.
2. Величина суммарного усилия Qц, Н, от цепной передачи:
Qц F aqKн ,
где F – окружное усилие, Н;
а – межосевое расстояние цепной передачи, м; q – вес 1 м цепи, кг;
Кн – коэффициент наклона передачи к горизонту.
Направление суммарного усилия можно принимать по линии, соединяющей центры звездочек.
Задание 3. Определить величину вращающего момента Т1 на валу и силы, действующие в косозубом зацеплении, по формулам:
– |
T |
9550P |
, Нм; |
1 |
n |
||
|
|
|
– окружная сила на шестерне – Ft1 |
|
2000T1 |
|
|||
|
|
d1 |
|
, Н; |
||
|
|
|
|
|
|
|
– радиальная сила на шестерне – Fr1 |
|
Ft1 tg |
|
|||
cos |
|
, Н; |
||||
|
|
|
|
|||
– осевая сила на шестерне – Fa1 Ft1 tg , Н.
Задание 4. Рассчитать реакции опор R, Н, (подшипников качения) в горизонтальной плоскости и вертикальной плоскости с учетом действующих
30
в этих плоскостях сил согласно представленной ниже схеме проектируемого вала:
Задание 5. Вычислить изгибающие моменты в горизонтальной и вертикальной плоскостях на выбранных отрезках:
M R x ,
где х = [0, l] м.
Построить эпюры изгибающих моментов и эпюру вращающего момента.
Задание 6. Определить суммарные реакции опор RΣ, Н:
R A 
RAx2 RAy2 ,
R B 
RBx2 RBy2 ,
где RАх и RАy – реакции подшипника А в горизонтальной и вертикальной плоскостях, Н;
RВх и RВy – реакция подшипника В в горизонтальной и вертикальной плоскостях, Н.
Задание 7. Рассчитать суммарный изгибающий момент Мизг, Нм: