Материал: 280

Внимание! Если размещение файла нарушает Ваши авторские права, то обязательно сообщите нам

вместимостью около 5 л неподвижно к станине и изменять положение чаши по высоте относительно лопасти для регулирования зазора между ними, который в момент максимального приближения лопасти к стенке чаши должен быть (3,0±1,0) мм.

Чаша и лопасть используются в паре и должны быть индивидуально подогнаны друг к другу. При работе смесителя вращение лопасти вокруг собственной оси и планетарное перемещение ее по периметру чаши должны осуществляться в противоположных направлениях со скоростью,

указанной в табл. 3.

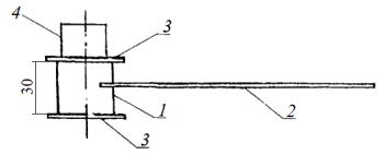
Рис. 3. Смеситель для приготовления цементного теста:

1 – чаша; 2 – лопасть

 

 

 

 

Таблица 3

 

Скорость вращения лопасти смесителя

Ступень

 

(в оборотах в минуту)

 

скорости

вокруг собственной оси

при планетарном перемещении

 

относительно оси чаши

 

 

 

Малая

140 ± 5

 

62

± 5

Большая

285 ± 10

 

125

± 10

2.1. Приготовление цементного теста нормальной густоты (стандартной консистенции)

Перед началом испытания в нижний конец стержня прибора Вика вставляют пестик, проверяют свободное перемещение стержня и нулевое показание прибора, соприкасая пестик с пластинкой, на которой установлено кольцо. При отклонении от нуля указатель шкалы прибора устанавливают в нулевое положение. Кольцо и пластинку перед началом испытания смазывают тонким слоем машинного масла.

Воду в количестве, необходимом (ориентировочно) для получения цементного теста нормальной густоты, выливают в чашу смесителя,

13

предварительно протертую влажной тканью, затем осторожно в течение 5-10 с высыпают 500 г цемента и включают смеситель на малую скорость. Время окончания высыпания цемента в воду считают началом затворения. Через 90 с смеситель останавливают на 15 с, в течение которых скребком снимают тесто, налипшее на стенках чаши, сдвигая его в середину чаши. Затем вновь включают смеситель на малую скорость и продолжают перемешивание еще в течение 90 с. Суммарное время перемешивания цементного теста должно составлять 3 мин, не считая времени остановки.

Приготовленное цементное тесто быстро за один прием переносят в кольцо, установленное на пластинке, заполняя его с избытком, но без уплотнения или вибрации. Избыток цементного теста срезают ножом, протертым влажной тканью, вровень с краями кольца до получения ровной поверхности. Кольцо с пластинкой устанавливают на основание станины прибора Вика, опускают пестик до соприкосновения с поверхностью цементного теста в центре кольца и в этом положении закрепляют стержень стопорным устройством. Через 1-2 с освобождают стержень, предоставляя пестику свободно погружаться в цементное тесто. Время от начала затворения до начала погружения пестика в цементное тесто должно составлять 4 мин. Через 30 с после освобождения стержня фиксируют по шкале прибора глубину погружения пестика в цементное тесто. В течение всего времени испытания кольцо с цементным тестом не должно подвергаться толчкам или сотрясениям.

Нормальной густотой цементного теста считают такую консистенцию, при которой пестик прибора, погруженный в заполненное цементным тестом кольцо, не доходит на (6±1) мм до пластинки, на которой установлено кольцо.

Если глубина погружения пестика окажется меньше или больше указанной, испытания повторяют, соответственно увеличивая или уменьшая количество воды затворения до погружения пестика на требуемую глубину.

За нормальную густоту цементного теста принимают количество воды затворения в процентах массы цемента, при котором достигается нормированная консистенция цементного теста.

Результат вычисления округляют до 0,25 %.

2.2. Определение начала схватывания

14

Внижний конец стержня прибора Вика вставляют длинную иглу

ипроверяют готовность прибора к проведению испытания, чистоту поверхности и отсутствие искривлений иглы.

Готовят цементное тесто нормальной густоты (см. п. 2.1). Цементное тесто переносят в кольцо.

Иглу опускают до соприкосновения с поверхностью цементного теста и в этом положении закрепляют стержень стопорным устройством. Через 1-2 с освобождают стержень, предоставляя игле свободно погружаться в цементное тесто. В начале испытания, пока цементное тесто находится в пластичном состоянии, во избежание сильного удара иглы о пластинку допускается ее слегка задерживать при погружении в тесто для исключения повреждения иглы. Как только цементное тесто загустеет настолько, что опасность повреждения иглы будет исключена, игле дают свободно опускаться. Через 30 с после освобождения стержня фиксируют по шкале прибора глубину погружения иглы в цементное тесто. Затем иглу погружают в цементное тесто через каждые 10 мин, передвигая кольцо после каждого погружения таким образом, чтобы каждое последующее погружение иглы находилось на расстоянии не менее 10 мм от мест предыдущих погружений и от края кольца. После каждого погружения иглу протирают.

Впромежутках между погружениями иглы кольцо с цементным тестом на пластинке помещают в камеру (шкаф) влажного хранения (температура (20±1) ºС, относительная влажность не менее 90 %). Допускается кольцо с цементным тестом накрывать влажной тканью

иоставлять в помещении с относительной влажностью не менее 65 %, при этом ткань не должна соприкасаться с цементным тестом.

Началом схватывания считают время от начала затворения цемента до момента, когда игла при проникновении в цементное тесто не доходит до пластинки на (4±1) мм.

Результат определения записывают с округлением до 5 мин.

2.3. Определение конца схватывания

Длинную иглу в приборе Вика заменяют на короткую иглу с кольцеобразной насадкой. Проверяют чистоту поверхности и отсутствие искривлений иглы.

15

Кольцо с цементным тестом, использованное для определения начала схватывания, переворачивают таким образом, чтобы определение конца схватывания проводить на поверхности, контактировавшей с пластинкой. Иглу осторожно опускают до соприкосновения с поверхностью цементного теста, погружение иглы выполняют с интервалом 30 мин. При приближении конца схватывания интервалы времени между погружениями могут быть сокращены.

Концом схватывания считают время от начала затворения цемента до момента, когда игла проникает в цементное тесто не более чем на 0,5 мм, что соответствует положению иглы, при котором кольцеобразная насадка впервые не оставляет отпечатка на поверхности цементного теста.

Результат определения записывают с округлением до 15 мин.

3.ОПРЕДЕЛЕНИЕ РАВНОМЕРНОСТИ ИЗМЕНЕНИЯ

ОБЪЕМА

Равномерность изменения объема цемента характеризуют величиной расширения образца из цементного теста нормальной густоты в кольце ЛеШателье при кипячении.

Средства контроля: смеситель; весы; мерный цилиндр; кольца Ле-Шателье в комплекте с пластинками и пригрузом; бачок для кипячения; камера (шкаф) влажного хранения; штангенциркуль.

Кольцо Ле-Шателье (рис. 4) представляет собой разрезанный по образующей полый цилиндр с двумя индикаторными иглами, припаянными по обе стороны на одинаковом расстоянии от прорези.

а)

в)

16

 

Рис. 4. Кольцо Ле-Шателье:

 

 

а) вид сверху; б) вид сбоку;

 

 

в) схема поверки упругости

 

кольца Ле-Шателье;

 

 

 

1 – кольцо с прорезью; 2 –

 

индикаторная

игла;

3

б)

пластинка;

 

 

 

 

4 – пригруз

 

 

 

Подготовка и проведение испытания

Кольца и пластинки перед началом испытания смазывают тонким слоем машинного масла.

Готовят цементное тесто нормальной густоты (см. п. 2.1). Кольца устанавливают на пластинки и наполняют в один прием цементным тестом с избытком, но без уплотнения или вибрации. При заполнении колец исключают случайное раскрытие прорези осторожным сдавливанием кольца пальцами или резиновой лентой. Избыток цементного теста срезают ножом, протертым влажной тканью, вровень с краями кольца. Для одного испытания заполняют два кольца из одного замеса цементного теста.

Кольца, заполненные цементным тестом, накрывают сверху пластинками, на которые устанавливают пригруз, и помещают в камеру влажного хранения, где выдерживают в течение (24±0,5) ч. Допускается выдерживать кольца в воде в течение (24±0,5) ч при температуре (20±1)°С при условии получения одинаковых результатов.

После предварительного твердения кольца извлекают из камеры, измеряют штангенциркулем расстояние между концами индикаторных игл с точностью до 0,5 мм (начальное измерение), освобождают от пластинок и пригруза и помещают в бачок для кипячения индикаторными иглами вверх. Воду в бачке доводят до кипения за (30±5) мин и выдерживают кольца в кипящей воде в течение (180±5) мин. Уровень воды в бачке должен быть выше размещенных на подставке колец на 4-6 см в течение всего времени кипячения.

После окончания кипячения кольца извлекают из воды, дают им остыть до температуры помещения, после чего измеряют расстояние между концами индикаторных игл (конечное измерение).

17