Материал: 254

Внимание! Если размещение файла нарушает Ваши авторские права, то обязательно сообщите нам

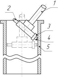
Положению стрелки индикатора, где она изменяет направление движения на обратное, соответствует искомый размер измеряемого цилиндра.

Рис. 3. Схема ввода индикаторного нутромера в цилиндр: 1 – трубка; 2 – сменный стержень; 3 – центрирующий мостик; 4 – измерительный стержень; 5 − измеряемый цилиндр

Каждое измерение повторяют два-три раза, в журнал наблюдений заносят средний результат.

Затем передвигают индикаторный нутромер на высоту второго и третьего пояса и производят замеры. После этого поворачивают индикаторный нутромер на 90°, и в такой же последовательности производят измерение в каждом из трех поясов.

По окончании измерений в данном цилиндре индикаторный нутромер снова наклоняют центрирующим мостиком 3 (см. рис. 3) вниз и извлекают индикаторный нутромер из цилиндра.

При несоблюдении этого правила можно поломать зубчатые колеса и стрелку индикатора.

Для уменьшения износа измерительных стержней следует перемещать индикаторный нутромер в цилиндре наклонно.

Определение диаметров цилиндра по поясам производится по формуле

D Hи п,

где D – диаметр цилиндра в данной плоскости, мм;

11

Hи – размер, на который был настроен индикаторный нутромер, мм;

δп – показания стрелки индикатора в данной плоскости или поясе, мм.

Если стрелка индикатора отклонена против хода часовой стрелки, то величину δп прибавляют к размеру настройки Hи индикатора нутромера, если же стрелка отклоняется по ходу часовой стрелки, то δп следует вычитать.

Рис. 4. Схема, иллюстрирующая положение индикаторного нутромера при измерениях

Овальность в каждом поясе определяется как разность диаметров, замеренных в одном поясе, но в разных плоскостях.

О DAA DBB ,

где DAA – диаметр цилиндра в плоскости А-А, мм; DВВ – диаметр цилиндра в плоскости В-В, мм.

12

Общая конусность по длине цилиндра определяется по формуле

К1 3 Dmax Dmin ,

где Dmax – наибольший диаметр цилиндров в первом измерительном поясе, мм;

Dmin – наименьший диаметр цилиндра в третьем измерительном поясе, мм.

На основании результатов измерений определяют ремонтный размер, под который следует обработать цилиндры.

Dр Dн 2 (Иmax Z),

где Dр – ремонтный размер цилиндра, мм; Dн – номинальный размер цилиндра, мм;

Иmax – максимальный износ цилиндра на сторону, мм;

Z – суммарный припуск на механическую обработку на сторону, мм.

Иmax Dmax Dн .

2

Припуск на обработку:

на растачивание 0,10−0,15 мм (на диаметр);

на хонингование 0,04−0,06 мм (на диаметр).

ИЗМЕРЕНИЕ ОТВЕРСТИЙ ПОД ВТУЛКИ ИЛИ ВО ВТУЛКАХ РАСПРЕДЕЛИТЕЛЬНОГО ВАЛА

Для удобства измерения блок цилиндров устанавливается на стол-подставку плоскостью разъема с головкой блока.

Измерение производят в двух взаимно-перпендикулярных плоскостях (рис. 5).

13

Рис. 5. Схема замера отверстий под втулки или во втулках распределительного вала

Первая плоскость А-А располагается под углом 45° к плоскости разъема с масляным поддоном, а вторая плоскость В-В перпендикулярна ей. Результаты замков заносят в журнал наблюдений.

При измерении отверстий под втулки распределительного вала и постелей коренных подшипников необходимо следить за тем, чтобы измерительные стержни индикаторного нутромера во избежание поломки не вошли в отверстия масляных каналов.

ИЗМЕРЕНИЕ ПОСТЕЛЕЙ КОРЕННЫХ ПОДШИПНИКОВ КОЛЕНЧАТОГО ВАЛА

При выполнении текущего ремонта двигателей в автотранспортных предприятиях встречаются случаи подпиливания торцов крышек коренных подшипников коленчатого вала, что является нарушением ТУ. Поэтому необходимо контролировать размеры крышек коренных подшипников.

Перед измерением необходимо проверить, а при необходимости затянуть болты крышек коренных подшипников динамометрическим ключом. Усилие указано в таблице.

14

Моменты для затяжки болтов крепления крышек коренных подшипников

Модель

Модель двигателя

Рабочий объем

Моменты затяжки,

автомобиля

 

двигателя, см3

Нм

ГАЗ-31105

ЗМЗ-406.2

2300

10,0-11,0

«Волга»

 

 

 

ГАЗ-22171

ЗМЗ-4026.10

2445

8,3-9,0

«Соболь»

 

 

 

ГАЗ-3307

ЗМЗ-511.10

4250

11,0-12,0

ВАЗ-2123

ВАЗ-2111

1700

68,3-84,4

(Chevrolet Niva)

 

 

 

ЗИЛ-433360

ЗИЛ-508.10

6000

11-13

КамАЗ-53212

КамАЗ-740.11-240

10850

I этап: 95-120

 

 

 

II этап: 275-295

Mercedes-Benz

OM602 (Disel)

2497

I этап: 55

G250

 

 

II этап: довернуть

(Gelendewagen)

 

 

на 90-1000

Toyota-Corolla

4AF

1587

I этап: 20

 

 

 

II этап: 40

 

 

 

III этап: 60

Измерение постелей коренных подшипников производится в двух взаимно-перпендикулярных плоскостях (рис. 6). Первая плоскость А-А располагается под углом 45° к плоскости разъема, а вторая В-В перпендикулярна ей.

Рис. 6. Схема замера постелей коренных подшипников коленчатого вала

Результаты замеров заносятся в журнал наблюдений.

15