Материал: 2518

Внимание! Если размещение файла нарушает Ваши авторские права, то обязательно сообщите нам

 

 

 

1

 

 

 

7

 

 

 

6

 

 

 

3

 

 

 

5

 

 

 

2

 

 

 

4

Рис. 2.1. Схема структуры скважины:

1 – устье скважины; 2 – забой скважины; 3 – стенкаИ

скважины; 4 – ось скважины; 5 – ствол скважины;

6 – обсадная колонна; 7 – цементное кольцо

 

 

 

Д

 

 

А

а

 

 

б

б

 

Рис. 2.2. Схема углубления скважины:

 

а – сплошное; б – колонковое

и

 

 

Скважины, для которых проектом предусматривается опреде-

ленное отклонение забоя от вертикали, а ствол проводится по заранее

заданной траектории, называются наклонно направленными.

Наклонные скважины бурят, когда продуктивные пласты зале-

гают под акваториями морей, озер, рек, под территориями населен-

Сных пунктов, промышленных объектов, в заболоченной местности, а

также для удешевления строительства буровых сооружений.

26

В последние годы все большее распространение получают вертикальные и наклонные скважины, имеющие горизонтальные окончания большой протяженности. Это делается для того, чтобы увеличить площадь поверхности, через которую в скважину поступает нефть, и соответственно увеличить дебит.

Кроме совершенствования технологии разработки нефтяных и газовых месторождений наклонно направленные скважины эффективны во многих других случаях:

при бурении в обход осложненных зон горных пород; при бурении под недоступные или занятые различными объ-

ектами участки земной поверхности; при глушении открытых фонтанов;

при вскрытии крутопадающих пластов и т.д.

Первоочередными

объектами использования направленных

скважин являются:

А

И

 

 

 

морские месторождения углеводородов;

 

месторождения

на территории с ограниченной возможно-

стью ведения буровых работ;

 

 

 

 

б

 

 

залежи высоковязких нефтей при естественном режиме

фильтрации;

 

 

Д

низкопроницаемые, неоднородные пласты – коллекторы ма-

и

 

 

 

лой мощности;

 

 

 

 

карбонатные коллекторы с вертикальной трещиноватостью;переслаивающиеся залежи нефти и газа, залежи на поздней

стадии разработки.

В скважину спускают специальные трубы – обсадные колонны

Сопределенного назначения: направление, кондуктор, промежуточные колонны, эксплуатационная колонна.

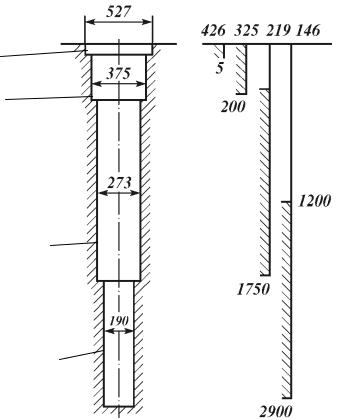
Под конструкцией скважины понимается совокупность данных о числе и размерах (диаметр и длина) обсадных колонн, диаметрах ствола скважины под каждую колонну, интервалах цементирования, а также о способах и интервалах соединения скважины с продуктивным пластом (рис. 2.3). На рабочей схеме конструкции скважины (рис. 2.3, б) вверху над каждым рядом обсадных колонн пишется диаметр (мм), а внизу − глубина (м) трубы; интервал подъема цементного раствора обозначается штриховкой, выше которой отмечается высота его подъема; иногда приводится номер долота.

27

 

527

 

 

 

 

 

 

 

 

 

 

 

 

 

 

 

 

 

 

 

 

426 325 219 146

 

 

Направление

 

 

 

 

 

 

 

 

 

 

 

 

 

 

 

 

 

 

 

 

5

 

 

 

 

 

 

 

 

375

 

 

 

 

 

 

 

 

 

 

 

Кондуктор

 

 

 

 

 

 

 

 

 

 

 

 

 

200

 

 

 

 

 

 

 

 

 

 

 

 

 

 

 

 

 

 

 

 

а

б

 

 

 

 

 

 

 

 

 

 

 

 

 

 

 

 

 

 

 

 

 

 

 

 

 

 

273

 

 

 

 

 

 

 

 

 

 

 

 

 

 

 

 

 

 

 

 

 

 

 

 

 

 

 

 

 

 

 

 

 

 

 

 

 

 

 

 

 

1200

 

Промежуточная

 

 

 

 

 

 

 

 

 

 

 

колонна

 

 

 

 

 

 

 

 

 

 

 

 

 

 

 

 

 

 

 

 

 

 

 

 

 

 

 

 

 

 

 

 

 

1750

 

 

 

 

 

 

 

 

 

 

 

 

 

 

И

190

 

 

 

 

 

 

 

 

Эксплуатационная

 

 

 

 

 

 

колонна

 

 

 

 

 

 

 

 

 

 

 

 

 

 

 

 

 

 

 

 

 

 

 

 

 

 

 

 

 

 

 

 

 

 

 

 

 

 

 

 

 

 

 

 

2900

 

 

 

Рис. 2.3. Структура скважины:

 

 

 

 

 

 

а – профиль ствола; б – рабочая схема

 

 

 

 

 

 

Направление спускается в скважину для предупреждения раз-

мыва и обрушения горных пород вокруг устья при бурении под кон-

дуктор, а также для соединения скважины с системой очистки буро-

 

А

вого раствора. Кольцевое пространство за направлением заполняют

по всей длине тампонажным цементным раствором. Направление

спускают на глубину от нескольких метров в устойчивых породах до

десятков метровбв болотах и илистых грунтах.

Кондуктором обычно перекрывают верхнюю часть геологиче-

ского разреза, где имеются неустойчивые породы, пласты, погло-

щающие буровой раствор или проявляющие, подающие на поверх-

и

 

ность пластовые флюиды, т.е. все те интервалы, которые будут ос-

ложнять процесс дальнейшего бурения и вызывать загрязнение окру-

Сжающей природной среды. Кондуктором обязательно должны быть перекрыты все пласты, насыщенные пресной водой. Кондуктор служит также для установки противовыбросового устьевого оборудования и подвески последующих обсадных колонн. Кондуктор спускают на глубину нескольких сотен метров. Для надежного разобщения пла-

28

стов, придания достаточной прочности и устойчивости кондуктор цементируется по всей длине. Низ кондуктора, как и низ всех спускаемых после него колонн, заканчивается короткой утолщенной трубой, называемой башмаком.

Промежуточные (технические) колонны необходимо спус-

должна составлять соответственно не менее 150 – 300Им и 500 м. Колонна, перекрывающая некоторый интервал без выхода к

кать, если невозможно пробурить до проектной глубины без предварительного разобщения зон осложнений (проявлений, обвалов). Решение об их спуске принимается после анализа соотношения давле-

ний, возникающих при бурении в системе «скважина – пласт».

Эксплуатационная колонна спускается в скважину для извлечения нефти, газа или нагнетания в продуктивный горизонт воды или газа с целью поддержания пластового давления. Высота подъема тампонажного раствора над кровлей продуктивных горизонтов, а также устройством ступенчатого цементирования или узлом соединения верхних секций обсадных колонн в нефтяных и газовых скважинах

устью скважины, называется хвостовиком (потайной колонной).

Хвостовики часто применяют при креплении глубоких скважин.

Классификация нефтяных и газовыхДскважин. Скважины можно классифицировать по назначению, профилю ствола и фильтра, степени совершенства и конструкции фильтра, количеству обсадных колонн,

расположению на поверхности земли и т.д.

По назначению различают скважины:

 

опорные;

А

 

параметрические;

 

 

поисковые;

 

 

разведочные;

 

 

б

эксплуатационные;

 

специальные.

 

Опорные скважины проектируются с задачей изучения основ-

ных чертиглубинного строения малоисследованных крупных регио-

нов, определения общих закономерностей стратиграфического и тер-

риториального распределения отложений, благоприятных для нефте-

Сгазонакопления. В процессе и по окончании бурения в скважинах проводится комплекс исследований, предусмотренных специальной инструкцией. В результате опорного бурения дается оценка прогнозных запасов нефти и газа.

29

Параметрические скважины закладываются для изучения глубинного строения и сравнительной оценки перспектив нефтегазоносности возможных зон нефтегазонакопления. В отличие от опорных скважин в целях ускорения поисковых работ и снижения их стоимости без ущерба для решения основных геологических задач эти скважины бурятся с сокращенным отбором керна. В результате бурения параметрических скважин могут быть уточнены прогнозные запасы и

ных горизонтов и на границах стратиграфических Иразделов, а также проведение комплекса промыслово-геофизических исследований и опробование возможно продуктивных горизонтов. В результате бурения поисковых скважин могут бытьАопределены запасы категорий С1 и С2.

выявлены запасы нефти и газа категории С2.

предусматривают полный отбор керна в пределах возможно продуктив-

Поисковые скважины проектируются по данным параметрического бурения и геофизических работ для выяснения наличия или отсутствия залежей нефти и газа на новых площадях и выявления новых залежей на разрабатываемых месторожденияхД. При проводке скважины

Разведочные скважины бурятся на площадях после выявления при поисковом бурении их нефтегазоносности. На первой стадии (предварительная разведка) цель бурения таких скважин – оценка промышленногобзначения месторождений (залежей) и составление технико-экономических докладов (ТЭД) об экономической целесооб-

разности их разведки. Задача второй стадии (детальная разведка) после утверждения ТЭД – подготовка запасов промышленных категорий (А + Ви+ С) и сбор исходных данных для составления проектов разработки месторождений (залежей).

При бурении разведочных скважин предусматриваются отбор керна в пределах продуктивных горизонтов, проведение комплекса промыслово-геофизических исследований, в том числе отбор керна боковым грунтоносом и опробование горизонтов, включая пробную Сэксплуатацию. Продуктивные разведочные скважины на месторождениях, вводимых в разработку, передаются в фонд эксплуатационных. Эксплуатационные скважины бурятся в соответствии с проектами разработки нефтяных и газовых месторождений. В эту категорию входят также нагнетательные, оценочные, наблюдательные и пьезометрические скважины. Эксплуатационные скважины предназначены для извлечения нефти и газа из разрабатываемой залежи; нагнетательные – для закачки в продуктивный пласт воды, газа или воздуха; оценочные – для оценки коллекторов продуктивных горизонтов; наблюдательные и пьезометрические – для систематического наблюдения за изменением давления, водонефтяного контакта в процессе

эксплуатации скважины.

30