Материал: 2416

Внимание! Если размещение файла нарушает Ваши авторские права, то обязательно сообщите нам

ливается. Достоинством динамического торможения является простота его осуществления.

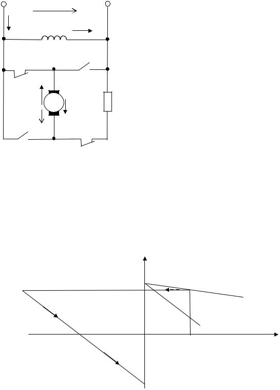
Торможение противовключением возникает после смены полярности напряжения, приложенного к обмотке якоря (рис. 9.25).

+

 

U

Механическая характеристика дви-

 

гателя для этого случая приведена на

I

Rв

 

Iв

рис. 9.26. При работе машины в двига-

 

 

тельном режиме замкнуты контакты ЛК

 

 

 

 

 

 

 

и разомкнуты контакты КТ (см. рис.

КТ

 

 

ЛК

9.25). Электромагнитный момент явля-

 

 

 

ется вращающим. При размыкании кон-

 

 

 

 

тактов ЛК и замыкании контактов КТ

 

Iя

Iят

Rдт

ток якоря меняет направление, за счет

 

чего электромагнитный момент стано-

 

 

 

 

 

Е

Rя

 

вится тормозным.

ЛК

 

 

КТ

После торможения двигатель оста-

 

 

навливается (n=0 в точке N на рис.

 

 

 

 

Рис. 9.25. Схема включения

9.26). Если в этот момент времени дви-

гатель не будет отключен от сети, то

двигателя при торможении

электромагнитный момент вновь стано-

противовключением

вится вращающим и двигатель начинает

 

 

 

 

разгоняться в обратном направлении.

Режим торможения противовключением (режим электромагнитного тормоза) может возникнуть также при работе двигателя, если к валу двигателя приложить достаточно большой тормозной момент, при котором двигатель начинает вращаться в обратную сторону.

 

 

n

 

 

 

 

n0

 

 

 

 

nн

 

Rя

 

Тормозной

 

 

 

Двигательный режим

 

режим

 

 

 

 

 

 

 

 

Rя+Rдт

М

 

 

N

0

Мн

 

Двигательный режим после реверса

-n0

Рис. 9.26. Механическая характеристика двигателя при торможении противовключением

210

Торможение противовключением возникает при работе двигателя, например, в грузоподъемных механизмах при спуске тяжелых грузов. В этом случае двигатель включается на подъем, электромагнитный момент становится тормозным (рис. 9.27), а вращение осуществляется за счет сторонних сил (под действием силы тяжести груза).

n

 

n0

Двигательный

 

режим

 

Rд1

Rд3 Rд2

а а' M

Режим b' электромагнитного b

тормоза

Рис. 9.27. Механические характеристики двигателя в режиме торможения противовключением

при разных сопротивлениях в цепи якоря: Rд3> Rд2> Rд1

При этом ЭДС, наводимая в якоре, меняет свое направление по отношению к двигательному режиму, а ток якоря равен

I я =

U + E

,

(9.34)

 

 

Rя + Rдт

 

где Rдт – дополнительное сопротивление, которое необходимо включить в цепь якоря, чтобы ограничить ток.

9.11.Коэффициент полезного действия двигателя

ипотери мощности

Коэффициент полезного действия двигателя определяется по формуле

η =

Р2

100% ,

(9.35)

Р

 

 

 

 

1

 

 

211

где Р1 – мощность, подводимая к двигателю из сети; Р2 – полезная мощность на валу двигателя.

Р1 = Р2 + ∑Р,

(9.36)

где Р – суммарные потери мощности.

Потери мощности можно разделить на постоянные и переменные. Постоянные потери мощности – это такие потери, величина которых не зависит от нагрузки на валу двигателя. К постоянным поте-

рям относятся:

механические потери;

потери в стали;

добавочные потери.

К механическим потерям Рмех относятся потери, обусловлен-

ные трением в подшипниках, трением щеток по коллектору; трением якоря в воздухе и вентиляционным действием при вращении якоря и вентилятора двигателя, если он имеется.

Рмех = ( 2 4 )% Р1 .

(9.37)

Потери в стали (электромагнитные потери) Рст обусловлены

перемагничиванием материала сердечника (железа) якоря и вихревыми токами. Потери при перемагничивании материала сердечника пропорциональны площади петли гистерезиса, частоте перемагничивания (частоте вращения якоря) и максимальной величине индукции. Потери на вихревые токи пропорциональны частоте перемагничивания и квадрату магнитной индукции.

Рст = (1 2 )% Р1.

(9.38)

К добавочным потерям Рдоб относятся потери в полюсных на-

конечниках, обусловленные пульсациями магнитного поля из-за наличия зубцов якоря, и другие трудноопределимые потери.

Рдоб 1% Р1.

(9.39)

Переменные потери мощности – это потери, величина которых зависит от тока в обмотках якоря и возбуждения. К таким потерям от-

носятся электрические потери Рэ .

 

 

 

 

 

Рэ = Ря

+ Рв,

 

 

(9.40)

где Ря – потери мощности в обмотке якоря; Рв

– потери мощно-

сти в обмотке возбуждения.

 

 

 

 

 

 

Ря = I я2 Rя ;

 

 

(9.41)

Р

= I 2 R

= I

U

в

.

(9.42)

в

в в

в

 

 

 

Обычно

212

Ря = (7 8)%Р1 ; Рв = (1 1,5 )%Р1.

(9.43)

Таким образом, суммарные потери мощности

 

Р = Рмех + Рст + Рдоб + Ря + Рв .

(9.44)

9.12. Примеры расчета режимов работы двигателей постоянного тока и построения механической характеристики

9.12.1.Пример расчета двигателя постоянного тока

спараллельным возбуждением

Двигатель постоянного тока с параллельным возбуждением (рис. 9.28), подключенный к сети с напряжением Uн=220 В, потребляет при номинальной нагрузке ток Iн=20,5 А. В режиме холостого хода ток потребления составляет I0=2,35 А. Сопротивление обмотки якоря Rя=0,75 Ом; сопротивление обмотки возбуждения Rв=258 Ом. Номинальная частота вращения

nн=1025 миноб .

+

Uн

Iн

Rв

Iв

 

 

Е

Iян

Rд

 

 

Rя

 

 

Рис. 9.28. Схема подключения двигателя постоянного тока с параллельным возбуждением к примеру расчета режима его работы

Определить номинальную мощность на валу двигателя, номинальный КПД, номинальный вращаю-

щий момент, пусковой ток при пуске двигателя без пускового реостата, сопротивление пускового реостата для условия Iп=2,5·Iн и пусковой момент при пуске двигателя с реостатом. Построить механические характеристики двигателя. При решении считать магнитные и механические потери не зависящими от нагрузки.

Решение.

1. Номинальная мощность на валу двигателя Р2н = Р1н Р, где Р – потери мощности в двигателе; Р1н – потребляемая мощность.

Р1н=Uн·Iн=220·20,5=4510 Вт=4,51 кВт.

Для определения потерь в цепи якоря и в цепи возбуждения определим ток возбуждения Iв и номинальный ток в цепи якоря Iян.

Iв = U н = 220 = 0,85 А; Rв 258

213

Iян=Iн–Iв=20,5–0,85=19,65 А.

2. Потери в обмотке якоря и в цепи возбуждения

Рян = Rя I я2н = 0,75 19,652 = 290 Вт;

Рв = Rв Iв2 = 258 0,852 =186 Вт. 3. Магнитные и механические потери

∆Рм+∆Рмех0–∆Ря0–∆Рв,

где Р0 – потребляемая двигателем мощность в режиме холостого хода; ∆Ря0 – потери в обмотке якоря в режиме холостого хода.

Р0=Uн·I0=220·2,35=517 Вт;

∆Ря0=Rя(I0Iв)2=0,75(2,35–0,85)2=1,7 Вт; ∆Рмех+∆Рм0–∆Ря0–∆Рв=517–1,7–186=329,3 Вт; Р=290+186+329,3=805,3 Вт;

Р2н = Р1н −∑Р=4510–805,3=3704,7 Вт=3,71 кВт.

4. Номинальный КПД

ηн = Р2н 100% = 3,71 100% = 82,2% . Р1н 4,50

5. Номинальный вращающий момент

Мн = 9550 Р2н = 9550 3,71 = 34,6 Н·м. nн 1025

6. Пусковой ток якоря двигателя при пуске без реостата

I яп =

U н

=

220

= 293 А.

 

0,75

 

Rя

 

7. Сопротивление пускового реостата Rр определим из уравнения

I яп = 2,5 I ян = RяU+нRр ,

откуда Rр = 2,5U нI ян Rя = 2,522019,65 0,75 = 3,73 Ом.

8. Определим пусковой момент двигателя при пуске с реостатом. Известно, что вращающий момент двигателя М=СмФIя.

Для режима номинальной нагрузки МнмФIян; для режима пуска МпмФIяп.

Считая магнитный поток постоянным, имеем

Мн

=

I ян

,

 

 

Мп

 

I яп

214