Материал: 2338

Внимание! Если размещение файла нарушает Ваши авторские права, то обязательно сообщите нам

Рис. 10.18. Пример определения прав доступа в различных случаях

Следует отметить, что если у вас нет прав назначать права другим группам, список слева будет неактивен. Для того, чтобы изменить какое-либо право выбранной группы, следует нажать на соответствующий квадратик в левом списке. При этом право изменится: означает, что право разрешено; – запрещено; – право не будет определено на этом уровне.

Рис. 10.19. Назначение прав доступа

Для того, чтобы назначить права доступа на уровне выбранного типа объектов (в "дереве" следует выбрать папку объектов), выбранного титула или выбранного конкретного объекта, следует нажать кнопку Права доступа на панели инструментов либо выбрать

126

пункт Права в выпадающем меню. Кроме того, назначить права доступа можно находясь в форме редактирования объекта. Для этого следует нажать кнопку Права доступа в левом нижнем углу.

Следует отметить, что создаваемые информационной системой пользователи не смогут получить доступ к базе данных иначе, чем через клиента информационной системы. Это позволяет оградить базу данных от несанкционированного доступа посторонними вредоносными программами и лицами, а также защищает ее целостность. Для повышения защищенности от взлома администратору сервера рекомендуется запретить доступ пользователям в каталог, содержащий файлы базы данных. Для защиты от доступа к данным в случае кражи диска с файлами базы данных администратору сервера рекомендуется включить принудительное шифрование этих файлов. Следует, однако, отметить, что при этом снижается производительность сервера.

10.15. Информационная модель

Концептуальным в нашем построении объектной модели является то, что объекты сложной предметной области мы разбиваем на некоторую иерархию типов. Для этого мы рассмотрим следующую группу классов объектов (рис. 10.20).

Автомобильная дорога состоит из объектов трех видов: протяженных (участков), точечных и площадных. Под участком или объектом будем понимать такое сооружение или протяженный фрагмент дороги, логический или технический, который исполняет определенный набор функций либо представляется в определенном качестве, может фигурировать в этом качестве как единое целое и при этом может быть целиком заменен на аналогичный. Необходимым требованием к участку и объекту является его необходимость с информа- ционно-аналитической точки зрения. Так, например, в ряде практических случаев представляется важным рассматривать такие мелкие объекты, как слои дорожной одежды, детали пролета моста, а в ряде случаев – нет.

Для качественного разделения объектов по классам и наиболее простого и в то же время полного описания, удобного для анализа, необходимо выработать единую методику абстракции конкретных сущностей реального мира на основе унификации их параметров и функций.

127

Водопропускная

труба

Рис. 10.20. Обобщенная классификация дорожных объектов во всех объектах

Мы уже выделили примерную структуру объектной иерархии и теперь можем привести общие положения по разделению конкретных сущностей по этим классам. Начиная с самого верха, выделим абстрактный объект дорожной сети. Самыми общими его чертами будут: принадлежность титулу, расположение, тип (принадлежность к тому или иному виду сущностей), состояние. Набор возможных состояний будет расширяться по мере конкретизации описания объекта, используя список объектов, находящихся в его составе. Самыми общими функциями будут: изменение состояния объекта, добавление нового объекта в состав данного, исключение определенного объекта из состава (рис. 10.21).

На следующем уровне абстракции находятся такие объекты, как линейно-протяженные объекты (участки), строительные сооружения и другие точечные объекты (знаки, трубы и т.п.). Рассмотрим участки. Непрерывная и перекрывающаяся цепочка участков физически представляет собой дорогу. Участок имеет начало, конец, геометрическое описание, а также специфические для данного типа участка парамет-

ры (см. рис. 10.21).

128

Рис. 10.21. Абстрактный объект

Рис. 10.22. Абстрактный участок

Моделирование жизненного цикла распадается на две задачи: отслеживание технологических событий, дефектов и работ; отслеживание и архивирование изменения параметров. Для этого используются следующие модели.

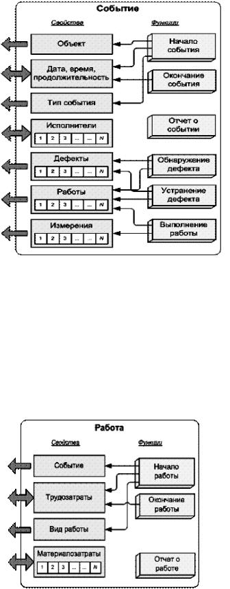
Основным объектом для описания жизненного цикла объекта дороги является «событие». Событие – любое действие, производимое системой над объектом. Это могут быть измерения характеристик, ремонтные работы и другие действия – в зависимости от типа собы-

тия (рис. 10.23).

129

Рис. 10.23. Абстрактное событие

Любая информация об изменении состояния объекта появляется при проведении очередного события. Это может быть информация об обнаруженных и устраненных дефектах, изменении характеристик объекта, зафиксированных в результате измерений.

Фактически событие состоит из работ. Это могут быть ремонтновосстановительные работы, работы по содержанию, работы по измерению параметров и т.п. (рис. 10.24).

Рис. 10.24. Абстрактная работа

130