Материал: 2338

Внимание! Если размещение файла нарушает Ваши авторские права, то обязательно сообщите нам

Функция «Окончание работы» может вызвать функции «Обнаружение дефекта» и «Устранение дефекта» у события, в составе которого происходит работа. Функции «Начало работы» и «Окончание работы» вызываются из функции события «Выполнение работы». Дефекты обнаруживаются в ходе выполнения работ. Некоторые из них могут быть устранены прямо в ходе выполнения работ события, а некоторые остаются неустраненными в течение времени. В соответствии с типом дефекта должна осуществляться автоматическая выдача рекомендаций, которая будет автоматически генерировать планы работ

(рис. 10.25).

Рис. 10.25. Абстрактный дефект

Измерения значений параметров моделируются при помощи объекта, изображенного на рис. 10.26. Здесь также отражается информация об условиях проведения измерений, что часто является важным.

Рис.10.26. Абстрактное измерение

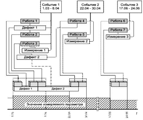
На рис. 10.27 изображена информационная структура, моделирующая жизненный цикл объектов дорожной сети. На рисунке изо-

131

бражены жизненные линии работ, дефектов, параметров объекта дорожной сети [3, 6].

Рис. 10.27. Фрагмент жизненного цикла объекта автомобильной дороги

Контрольные вопросы

1.Каковы основные функции информационной системы автомобильных дорог IndorInfo/Road?

2.Какие основные задачи возникают в процессе эксплуатации автомобильных и городских дорог?

3.Для чего предназначено «дерево» титулов и объектов в главном окне IndorInfo/Road?

4.Какие стандартные отчеты по объектам дорожной сети позволяет формировать геоинформационная система IndorInfo/Road?

5.Каким образом обеспечивается взаимодействие базы данных и пространственных данных в IndorInfo/Road?

6.Каким образом можно выполнять редактирование объектов дорожной сети из среды ГИС IndorGIS?

132

Библиографический список

1.Система проектирования IndorCad. Проектирование автомобильных дорог

/И.В. Кривых, Д.А. Петренко, В.Н. Бойков и др. – Томск : Изд-во Том. ун-та,

2008. – 250 с.

2.Система проектирования IndorCad. Построение, обработка и анализ цифровой модели местности / И.В. Кривых, Д.А. Петренко, В.Н. Бойков и др. – Томск : Изд-во Том. ун-та, 2008. – 300 с.

3.Геоинформатика в дорожной отрасли / А.В. Скворцов, П.И. Поспелов,

С.П. Крысин. – М. : МАДИ(ГТУ), 2005. – 250 с.

4.Геоинформационые системы /А.С. Самардак. – Владивосток, 2005. – 124 с.

5.Геоинформационные системы в дорожном строительстве : курс лекций для студентов строительных специальностей 270205 / сост. В.А. Шнайдер. – Омск : СибАДИ, 2010. – 81 с.

6.Геоинформационная система автомобильных дорог IndorRoad 8.0 [Электронный ресурс]. – Электронные данные. Материалы фирмы "Индорсофт. Инженерные сети и дороги", 2014. – Режим доступа : www.indorsoft.ru /downloads/road, свободный. – Геоинформационная система автомобильных до-

рог IndorRoad 8.0 (14.07.2014 г.).

133

Оглавление

 

Введение…………………………………………………………………………

3

Лекция 1. Геоинформационные системы в дорожном строительстве.

 

Роль ГИС в жизненном цикле дорог……………………………………….

5

1.1. Геоинформационные системы в дорожной отрасли.

 

Жизненный цикл дорог………………………………………………………..

5

1.2. Краткий системный анализ дорожной сети………………………..

10

Лекция 2. Геоинформационные системы. Понятие,

 

функциональные возможности, их общая структура………………….

14

2.1.Понятие ГИС……………………………………………………….. 14

2.2.Функциональные возможности ГИС………………………………. 18

2.3.Общая структура ГИС………………………………………………. 19

Лекция 3. Модели пространственных данных…………………………….. 22

3.1. Организация данных в ГИС…………………………………………

22

3.2. Классификация моделей…………………………………………....

24

3.3. Модель транспортной сети…………………………………………

32

3.4. Растровая модель данных…………………………………………..

33

3.5. Триангуляционная модель поверхностей……………….................

35

Лекция 4. Структура и источники геоданных…………………………….

38

4.1.Источники пространственных данных…………………………….. 38

4.2.Векторизация………………………………………………………… 39

4.3.Дистанционное зондирование………………………………………. 41

Лекция 5. Классификация ГИС………………………………......................

45

5.1. Виды ГИС по пространственному охвату………………………….

45

5.2. Виды ГИС по уровню управления………………………………….

47

5.3. Виды ГИС по области деятельности………..………………………

47

5.4. Виды ГИС по функциональности…………………………………..

48

5.5. Виды ГИС по используемой модели данных………………………

49

5.6. Виды ГИС по компьютерной платформе………………..................

50

5.7. Объектные модели автомобильных дорог…………………………

50

Лекция 6. Пространственный анализ………………………………………

53

6.1. Измерительные операции……………………………………………

53

6.2. Сетевой анализ………………………………………………………

55

6.3. Анализ поверхностей……………………………………………….

62

Лекция 7. ГИС автомобильных дорог IndorGIS и САПР

 

автомобильных дорог IndorCAD/Road…………………………………….

68

7.1. Общие сведения о системе……………………………………….....

68

7.2. Основные возможности и преимущества IndorGIS……………….

73

7.3. Принцип работы, возможности и преимущества

 

IndorCAD/Road..........................................................................................

76

Лекция 8. Дополнительные редакторы в ГИС IndorGIS………………..

79

8.1. Редактор дорожных знаков IndorRoadSign…………………………

79

8.2. Работа с видеорядами в IndorVideoRow…………………………….

81

Лекция 9. Геоинформационная система IndorGIS……………………..…

89

9.1. Отображение векторных объектов в IndorGIS…………………….

89

134

9.2. Управление проектами и картами………………………………..

91

9.3. Принцип работы в IndorGIS………………………………………

95

Лекция 10. Информационная система IndorInfo/Road………………….

103

10.1. Функции информационных систем…………………………….

105

10.2. Работа с "деревом" титулов……………………………………..

107

10.3. Редактирование свойств логических участков………………..

108

10.4. Редактирование свойств участков дороги……………………..

110

10.5. Редактирование свойств сооружений…………………………..

113

10.6. Редактирование объектов придорожной полосы………………

115

10.7.Редактирование свойств недвижимости……………………….. 116

10.8.Редактирование событий на дороге…………………………….. 117

10.9. Редактирование эксплуатационной информации……………… 117

10.10.Редактирование документов по объектам…………………….. 119

10.11.Формирование отчетов…………………………………………. 121

10.12.Работа с пространственной информацией…………………….. 122

10.13.Управление правами доступа…………………………………. 123

10.14.Права доступа………………………………………………….. 124

10.15. Информационная модель……………………………………… 127

Библиографический список……………………………………………………. 133

135