Материал: 2254

Внимание! Если размещение файла нарушает Ваши авторские права, то обязательно сообщите нам

 

Зависимость i от величины Рс

Таблица 5.1

 

 

 

 

 

 

 

 

 

 

 

Рс, МПа

5

6

7

8

9

10

 

i , мс

0,0018

0,0015

0,0012

0,001

0,0009

0,0008

 

При расчете периода задержки воспламенения желательно учитывать коэффициент избытка воздуха α и среднюю скорость движения поршня в цилиндре ( = S n /30).

В работе [10] предложена формула, которая учитывает дополнитель-

ное влияние на величину τi значения α и :

 

τi = В· α · –x·Р-y ·Т–z,

(5.2)

где В =1, которое при корректировке угла опережения впрыска топлива может принимать другие значения; α – коэффициент избытка воздуха (1,6 – 2,0 для дизелей); средняя скорость поршня, м/с; Р – давление в цилиндре в момент начала подачи топлива, Н/м2 (Па); Ттемпература воздуха в момент подачи распыленного топлива в камеру сгорания, К; коэффициенты степени х = 0,75, у = 0,24, z = 0,27.

Для дизеля КамАЗ-740 (8ЧН 12/13) мощностью 205 кВт при частоте вращения коленчатого вала 1900 мин-1 с Р = 7·106 Па, Т= 700 К, α =1,8,

=8,2 м/с, х = 0,75, у = 0,24, z = 0,27 по формуле (5.2) была определена величина τi = 0,001 с.

Формулы (5.1) и (5.2) с достаточной для практики точностью определяют τi для заданных Р и Т. Более точные значения периода задержки воспламенения определяются экспериментальным путем.

Для дизелей с объёмным смесеобразованием и степенью сжатия 15 – 17, работающих на топливе с цетановым числом 45 – 55, давлением распыленного топлива 50 – 100 МПа, значение периода задержки воспламенения топлива i равно 0,001 – 0,002 с.

Средняя жесткость процесса сгорания топлива определяется как отношение изменения давления от точки 2 (см. рис. 5.1) начала горения до точки 3 (максимальное давление в цилиндре) к углу поворота коленчатого вала от точки 2 до точки 3.

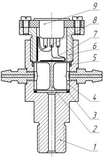
Для снятия индикаторной диаграммы рабочего процесса двигателя используют датчики различной конструкции. Широкое применение получили тензометрические датчики, наклеенные на упругую мембрану. На рис. 5.2 показана конструкция датчика для измерения давления газов в цилиндре двигателя [1].

~36 ~

В корпусе 1 устанавливается чувствительный элемент 2, который от прорыва газов уплотняется медной прокладкой 3. Чувствительный элемент 2 представляет собой две мембраны, жестко соединенные между собой штоком. Между мембранами расположена втулка 4, которая для обеспечения сборки выполнена из двух частей (разрезана).

Рис. 5.2. Датчик для измерения давления газов

Втулка имеет канавку с отверстиями, через которые циркулирует вода, охлаждающая датчик. Резиновое кольцо 5 служит для уплотнения полости охлаждения датчика. Гайкой 6 чувствительный элемент прижат к корпусу датчика. Рабочий тензометр 7 наклеен на поверхность тонкой мембраны, которая при изменении давления в цилиндре прогибается, изменяя его сопротивление. Компенсационный тензометр 8 наклеен на внутреннюю поверхность гайки. Выводы тензометров припаяны к разъёму 9, образуя полумост.

Чувствительный элемент изготовлен из стали 4Х15 с последующей термообработкой. Рабочий диаметр мембран 20 мм, толщина мембран 0,5 мм, расстояние между ними 15 мм. Датчик через отверстие с резьбой соединяется с камерой сгорания двигателя.

Полумост из проволочных тензоэлементов припаян к разъему датчика, который при помощи экранированных проводов присоединяется к усилителю. Усилитель работает совместно с осциллографом, который фиксирует процессы изменения давления в цилиндре.

~37 ~

Для определения давления в цилиндре двигателя возможно применение преобразователя давления ПД-100ДИ (тензопреобразователь, датчик для замера избыточного давления) с верхним пределом измерения от 0,1 до 100 МПа (рис. 5.3 и 5.4). Датчик преобразует избыточное давление топлива в электрический сигнал постоянного тока (4 – 20 мА).

Рис. 5.3. Общий вид

Рис. 5.4. Разрез датчика ПД-100

датчика давления серии ПД-100

 

Для обеспечения высокой экономичности и минимальной токсичности отработавших газов процесс смесеобразования и сгорания организуют по следующей схеме [1]. За период задержки воспламенения передний фронт распыленного топлива должен пройти путь от сопловых отверстий форсунки (с учетом поворота факела) до стенок камеры сгорания (не касаясь их). За период основного горения (он заканчивается в момент достижения максимальной температуры газов в цилиндре) топливные факелы, например четыре, должны быть повернуты на угол между сопловыми отверстиями. Поворот факелов обеспечивается при помощи винтовых или тангенциальных каналов, по которым воздушный поток поступает в цилиндры двигателя. Важное влияние на экономичность и токсичность дизеля оказывает правильный выбор топливной аппаратуры и агрегатов наддува [8].

Согласно требованиям стандарта ЕВРО-5 (2008) удельные выбросы четырех основных компонентов отработавших газов дизелей в г/(кВт·ч) не должны превышать: углеводороды – 0,25; окиси азота – 2; окиси углерода – 1,5; сажа (твердые частицы) – 0,02. У двигателей, находящихся в эксплуатации, токсичность отработавших газов может превышать допустимые значения в 5 – 10 раз. Токсичность газов может возрастать при износе цилиндропоршневой группы, неправильной регулировке топливной аппаратуры, плохом качестве топлива.

~38 ~

В табл. 5.2 приведены значения концентрации вредных веществ в отработавших газах дизельных двигателей, находящихся в эксплуатации, и допустимые нормы стандарта ЕВРО [1, 11].

Углеводороды вызывают головокружение, расстройства дыхания и сердечной деятельности. Окись углерода поражает центральную нервную систему, вызывает потерю сознания и может привести к смертельному исходу. Окислы азота провоцируют отек легких. Сажа, твердые частицы способствуют зарождению опухолей.

Таблица 5.2

Требования стандарта ЕВРО к концентрации вредных веществ в ОГ

Компоненты

Концентрация вредных

ЕВРО-3

ЕВРО-4

ЕВРО -5

веществ в ОГ, г/(кВт ч)

2000 г.

2005 г.

2008

г.

 

Оксид углерода

1,512,0

2,1

1,5

1,5

 

Углеводороды

1,38,0

0,6

0,46

0,25

 

Оксиды азота

1030

5,0

3,5

2,0

 

Сажа

0,252,0

0,10

0,02

0,02

Уменьшение выбросов вредных веществ с отработавшими газами может быть достигнуто внедрением регулярного контроля токсичности, использованием малотоксичных и экономичных регулировок, установкой нейтрализаторов в выпускную систему двигателя, которые бывают с пламенным дожиганием вредных веществ, каталитическими, жидкостными и фильтрующими.

Контрольные вопросы и задания

1.Поясните фазы сгорания на индикаторной диаграмме (изменение давления в цилиндре) дизельного двигателя.

2.Что собой представляет период задержки воспламенения, жесткость процесса сгорания?

3.Как должен быть согласован впрыск топлива в камеру сгорания с периодом задержки его самовоспламенения?

4.Поясните, с какой целью входящий воздушный поток должен повернуть топливные факелы на угол между сопловыми отверстиями за период времени основного горения топлива.

5.Каковы устройство и принцип работы тензометрического датчика давления?

6.Назовите требования стандарта ЕВРО к содержанию вредных веществ в отработавших газах.

~39 ~

6. ЭКСПЛУАТАЦИОННЫЕ ТРЕБОВАНИЯ К БЕНЗИНАМ И ДИЗЕЛЬНЫМ ТОПЛИВАМ

6.1. Бензины

При сгорании топлива образуются СО2 и Н2О. При сгорании серы и

сернистых соединений выделяются серный и сернистый ангидриды (SO2 и SO3). Пары воды, соединяясь с ангидридами, образуют сернистую и серную кислоты H2SO3 и H2SO4. Данные кислоты вызывают коррозию баков, трубопроводов и деталей двигателя.

Активность сернистых соединений проверяют с помощью медной пластинки. В пробирку наливают бензин, опускают медную пластинку и кипятят 18 мин при температуре 100 оС. Если на пластине отсутствуют тёмные пятна, то сера в топливе находится в допустимых пределах.

Контрольно-измерительное оборудование совершенствуется. В последних вариантах приборов используются автоматика, электроника, микропроцессорная техника. Длительность контроля сократилась, а качество и точность повысились.

На рис. 6.1 показан анализатор содержания серы АСЭ-2 в нефти и нефтепродуктах. Содержание серы в нефтепродуктах определяется в соответствии с ГОСТ Р 51947–2002. Принцип действия прибора – энергодисперсионный анализ рентгеновской флуоресценции серы. Время измерения одного образца нефтепродукта до 5 мин.

Рис. 6.1. Анализатор содержания серы в нефтепродуктах АСЭ-2

При сгорании топлива его химическая энергия переходит в тепловую

идалее, при использовании специальных устройств (КШМ) – в механи-

~40 ~