Материал: 2254

Внимание! Если размещение файла нарушает Ваши авторские права, то обязательно сообщите нам

Топливо должно соответствовать требованиям настоящего стандарта и изготовляться по утвержденной технологии. Топлива должны изготовляться по технологии и с присадками, которые применялись при изготовлении опытно-промышленных образцов и прошли испытания с положительными результатами. По физико-химическим и эксплуатационным показателям топливо должно соответствовать требованиям, указанным в табл. 6.9.

 

Требования к топливу по ГОСТ 325132013

Таблица 6.9

 

 

 

 

 

 

 

 

 

 

Показатель

 

Значения для марки топлива

 

Л

 

Е

 

З

А

1.

Цетановое число, не менее

 

 

 

45

 

2.

Фракционный состав:

 

 

 

 

 

 

50% перегоняется при температу-

 

 

 

 

 

 

ре, оС, не выше

280

 

280

 

280

255

95% перегоняется при температу-

 

 

 

 

 

 

ре, оС, не выше

360

 

360

 

360

360

3.

Кинематическая вязкость при

 

 

 

 

 

 

20 оС, мм2/с (сСт)

3,0 – 6,0

 

3,0 – 6,0

 

1,8 – 5,0

1,5 – 4,0

4.

Температура вспышки, опреде-

 

 

 

 

 

 

ляемая в закрытом тигле, оС, не

 

 

 

 

 

 

ниже:

 

 

 

 

 

 

для тепловозных, судовых дизе-

62/40

 

62/40

 

40/30

35/40

лей и общего назначения

 

 

 

 

 

 

5.

Массовая доля серы, мг/кг, не

 

 

 

 

 

 

более

 

2000

 

6.

Испытание на медной пластин-

 

 

 

 

 

 

ке

 

 

 

Выдерживает

 

7.

Кислотность, мг КОН на 100

 

 

 

 

 

 

см3 топлива, не более

 

 

 

5

 

8.

Зольность, %, не более

 

 

 

0,01

 

9.

Коксуемость, 10%-ного остатка,

 

 

 

 

 

 

%, не более

 

 

 

0,02

 

10. Общее загрязнение, мг/кг,

 

 

 

 

 

 

не более

 

 

 

24

 

11. Содержание воды, мг/кг,

 

 

 

 

 

 

не более

 

 

 

200

 

12. Плотность при 15 оС, кг/м3,

 

 

 

 

 

 

не более

863,4

 

863,4

 

863,4

833,5

13. Предельная температура

 

 

 

 

 

 

фильтруемости, оС, не выше

минус 5

 

минус 15

 

минус 25

минус 45

~61 ~

Контрольные вопросы

1.Что называют октановым числом бензинов?

2.Какова методика определения октанового числа по моторному и исследовательскому методам?

3.Назовите признаки детонационного (взрывного) сгорания топлива и к каким отрицательным последствиям оно приводит, способы устранения детонации.

4.Перечислите характеристики бензинов, их маркировку.

5.Испаряемость бензинов, связь с давлением насыщенных паров.

6.Что называют цетановым числом дизельного топлива, методика его определения?

7.Что представляют эталонные топлива цетан и α – метилнафталин?

8.Какая связь между цетановым и октановым числом?

9.Как влияет цетановое число на жесткость процесса сгорания и экономичность?

10.Каковы характеристики дизельных топлив (цетановое число, температура вспышки, помутнения и замерзания)?

11.Что называется коэффициентом фильтруемости и кислотным числом?

12.Перечислите маркировку дизельных топлив.

13.Почему зимнее дизельное топливо можно использовать летом, а летнее нельзя применять зимой?

14.В чем главное отличие маловязких и высоковязких топлив для судовых дизелей?

~62 ~

7. СИСТЕМЫ ПИТАНИЯ ДВИГАТЕЛЕЙ ВНУТРЕННЕГО СГОРАНИЯ НА ГАЗООБРАЗНОМ ТОПЛИВЕ

Широкое применение в двигателях внутреннего сгорания получили

два вида газообразного топлива – сжиженный нефтяной газ (СНГ) и сжатый природный газ (СПГ).

В табл. 7.1 даны характеристики газов, применяемых в качестве топлив в двигателях внутреннего сгорания [1].

 

Характеристики газов

 

Таблица 7.1

 

 

 

 

 

 

 

 

 

 

Параметры

Метан

Этан

Пропан

Бутан

1.

Молекулярная формула

СН4

С2Н6

С3Н8

С4Н10

2.

Молярная масса, кг / кмоль

16

30

44

58

 

 

 

 

 

 

3.

Относительная плотность га-

0,55

1,05

1,56

2,1

зовой фазы по воздуху

 

 

 

 

4.

Теплотворная способность,

 

 

 

 

МДж/кг,

49,7

47,1

45,9

45,4

МДж/ м3

33,8

59,9

85,6

111,6

5.

Необходимое количество воз-

 

 

 

 

духа для сгорания 1 кг топлива

17,2

16,8

15,7

15,6

6.

Температура

680 –750

650 –580

510 –580

475– 510

самовоспламенения, оС

7.

Октановое число по моторно-

110

108

105

94

му методу

 

 

 

 

7.1. Сжиженные газы

Автомобильная газобаллонная установка рассчитана на подачу топ-

лива в камеру сгорания под действием давления паров газа в баллоне. В этой связи величина давления насыщенных паров имеет важное эксплуатационное значение. Зависимость давления насыщенных паров пропана и бутана мало изменяется от температуры, что позволяет хранить сжиженные газы в баллонах при давлении 1,6 МПа. Для перевода в жидкое состояние пропана и бутана достаточно при 20 °C повысить давление соответственно на 0,8 и 0,2 МПа.

~63 ~

Главным преимуществом пропана и бутана является высокое октановое число, равное 98 единиц по моторному методу.

По ГОСТ Р 52087–2003. Газы углеводородные сжиженные топливные. Технические условия на автомобилях применяют в качестве топлива пропан автомобильный (ПА), 85±10% пропана, остальное бутан (для зимних условий), пропан-бутан автомобильный (ПБА), 50 ±10% пропана, остальное бутан [5] (табл. 7.2).

Характеристики сжиженных газов

Таблица 7.2

 

 

 

 

 

Содержание газов, %

ПА (зимний)

 

ПБА

Пропан

90

 

40

Бутан

5

 

55

Метан, этан, этилен

5 (3,1,1)

5

(3,1,1)

При емкости баллонов 50 л их заполняют на 45 л, обеспечивая запас 10% в связи с расширением газа при повышении температуры.

Один 50-литровый баллон, заправленный сжиженной пропанбутановой смесью для автомобиля ВАЗ, рассчитан на 500 км пробега.

Баллон для сжиженного газа имеет две трубки: одна – для газовой фазы, другая – для жидкой фазы. Газовая фаза используется для пуска двигателя.

Пропан-бутановая жидкая смесь имеет теплотворную способность ниже, чем бензин, поэтому при переводе двигателя на газ его мощность снижается примерно на 20%.

Пропан-бутановая смесь тяжелее воздуха, и при ее утечках газ будет скапливаться внизу. Скопление газа может спровоцировать взрыв и пожар.

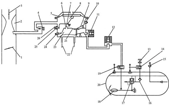
На рис. 7.1 показана принципиальная схема системы питания газобаллонного оборудования при работе двигателя на сжиженном газе

[15, 16].

При работе на сжиженных газах запуск холодного двигателя осуществляется на бензине, а после прогрева двигатель переводится на газовое топливо.

В баллон сжиженный газ заправляется через вентиль 13 (рис. 7.1). Наполнение баллона автоматически прекращается при всплытии поплавка 18, который связан с отсечным клапаном 17.

~64 ~

Рис. 7.1. Принципиальная схема питания двигателя на сжиженном газе: 1 – дроссельная заслонка; 2 – смеситель; 3 – воздушная заслонка;

4 – дозатор газа; 5 – мембрана 2-й ступени РНД; 6 – клапан 2-й ступени; 7 –рычаг клапана 2-й ступени; 8 – полость 2-й ступени;

9 – рычаг мембраны 1-й ступени; 10 – регулировочный винт рычага 1-й ступени; 11 – входной электромагнитный клапан;

12 – магистральный электромагнитный клапан; 13 – заправочное устройство; 14 – заправочный вентиль; 15 – предохранительный клапан; 16 – клапан обратный; 17 – отсечной клапан; 18 – поплавок; 19 – магистральный вентиль; 20 – баллон; 21 – мембрана с клапаном 1-й ступени; 22 – каналы для охлаждающей жидкости; 23 – полость 1-й ступени; 24 – винт регулировочный холостого хода;

25 – пружина; 26 – регулировочный винт клапана 2-й ступени

Через магистральный вентиль 19 газ поступает через электромагнитные клапаны 12, 11 и далее в редуктор. В смесителе 2 происходит снижение давления газа до атмосферного значения. Для испарения жидкой фазы газ подогревается жидкостью из системы охлаждения. Через дозатор газ поступает в смеситель, откуда смесь газа с воздухом поступает в цилиндры (одна часть газа и 16 частей воздуха).

Преимущества работы двигателя на газе:

1.Срок службы моторного масла увеличивается в 2 – 3 раза.

2.Токсичность отработанных газов снижается в 3 – 4 раза.

3.Уменьшается образование нагара в поршневой группе.

Недостатки:

1.Мощность двигателя снижается примерно на 20%.

~65 ~