7.3. Варианты расчетно-графической (контрольной) работы «Интегрирование дифференциальных уравнений движения материальной точки»
Варианты 1 – 5 (рис. 2)
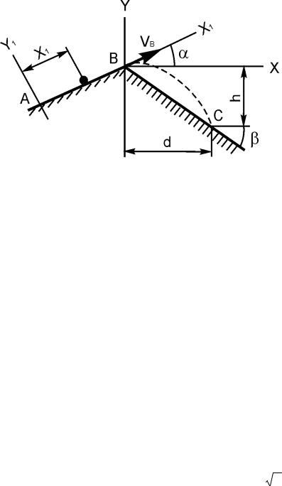
Си бРис. 2
Тело совершает поступательное движение из точки А по участку АВ (длиной l) наклонной плоскости, составляющей угол α с горизонтом, в
течение τ секунд. Его начальная скорость |
VA. Коэффициент трения |
||||
|
|
Д |
|||
скольжения тела по плоскости равен f. |
|
|
|
||
В точке В тело покидаетАплоскость со скоростью VB и попадает со |
|||||
скоростью VC в точку С участка BC, наклоненного под углом β к |
|||||
горизонту, находясь в воздухе Т секунд. |
|
|
|
||
При решении задачи тело принять за материальную точку; |
|||||
сопротивление воздуха не учитывать. |
|
|
|
||
Вариант 1. Дано: α = 30 |
о |
; VA = 0; f = 0,2; l = 10 м; β = 60 |
о |
. Определить τ |
|
|
|
||||
и h. |
|
|
|
|
|
Вариант 2. Дано: α = 15о; VA = 2 м/с; f = 0,2; h = 4 м; β = 45о.
Определить l и уравнение траектории точки на участке ВС (Y = f(X)).
Вариант 3. Дано: α = 30 |
о |
о |
|
; VA = 2,5 м/с; f ≠ 0;Иl = 8 м; d = 10 м; β = 60 . |
|
Определить VB и τ. |
|
|
Вариант 4. Дано: VA = 0 м/с; τ = 2 с; l = 9,8 м; β = 60о; f = 0.
Определить α и T.
Вариант 5. Дано: α = 30о; VA = 0 м/с; τ = 3 с; l = 9,8 м; β = 45о.
Определить f и VC.
86
Варианты 6 – 10 (рис. 3)
С |
|
иРис. 3 |
|
Тело совершает поступательное движение и подходит к точке А |
|
|
АВ |
участка АВ, наклоненного под углом α к горизонту и имеющего длину l со |
|
скоростью VбA. Коэффициент трения скольжения на участке АВ равен f. |
|
Тело от точки А до точки движется τ секунд; в точке В со скоростью VB |
|
оно покидает участок |
. |
Через Т секунд тело приземляется со скоростью VC в точке С участка ВС, составляющем угол β с горизонтом.
При решении задачи тело принять за материальную точку и не учитывать сопротивление воздуха.
Вариант 6. Дано: α = 20о; f = 0,1; τ = 0,2 с; h = 40 м; β = 30о.
Определить l и VC. |
|
|
Вариант 7. Дано: α = 15о; f =Д0,1; VA = 16 м/с; l = 5 м; β = 45о. |
||
Определить VB и T. |
|
|
Вариант 8. Дано: VA = 21 м/с; f = 0; τ = 0,3 с; VB = 20 м/с; β = 60о. |
||
Определить α и d. |
|
|
Вариант 9. Дано: α = 15 |
о |
о |
|
; τ = 0,3 с; f = 0,1;Иh = 30 2 м; β = 45 . |
|
Определить VB и VA. |
|
|
Вариант 10. Дано: α = 15о; f = 0; VA = 12 м/с; d = 50 м; β = 60о.
Определить τ и уравнение траектории тела (Y = f(X) = ?) в системе отсчёта
XВY.
87
Варианты 11 – 15 (рис. 4)
Си бРис. 4
Имея в точке А скорость VA, тело поднимается τ секунд по участку АВ длиной l, составляющему с горизонтом угол α. При постоянной на всем участке АВ движущей силе Р тело в точке В приобретает скорость VB и перелетает через ров шириной d, находясь в воздухе Т секунд и
приземляясь в точке С со скоростью VC. Масса тела равна m. |
|
|
|
Д |
|
При решении задачи считать тело материальной точкой и не |
||
учитывать силы сопротивленияАдвижению. |
|
|
Вариант 11. Дано: α = 30о; Р ≠ 0; l = 40 м; VA = 0; VB = 4,5 м/с; |
d = 3 |
|
м. Определить τ и h. |
|
|
Вариант 12. Дано: α = 30о; Р = 0; l = 40 м; VB = 4,5 м/с; h = 1,5 м. |
||
Определить VA и d. |
И |
|
|
|
|
Вариант 13. Дано: α = 30о; m = 400 кг; VA = 0; τ = 20 с; d = 3 м; |
h = |
|
1,5 м. Определить Р и l. |
|
|
Вариант 14. Дано: α = 30о; m = 400 кг; Р = 2,2 кН; VA = 0; l =40 м; d |
||
= 5 м. Определить VB и VС. |
|
|
Вариант 15. Дано: α = 30о; VA = 0; Р = 2 кН; l = 50 м; h = 2м; |
d = 4 |
|
м. Определить Т и m. |
|
|
88
Варианты 16 – 20 (рис. 5)
Си б АРис. 5
Тело скользит в течение τ секунд по участку АВ откоса, составляющему угол α с горизонтом и имеющему длину l. Его начальная скорость VA. Коэффициент трения скольжения тела по откосу равен f. Имея в точке В скорость VB , тело через Т секунд ударяется в точке С о
защитную стену.
При решении задачи принять тело за материальную точку;
сопротивление воздуха не учитывать. |
И |
Вариант 16. Дано: α = 30о; VДA = 1 м/с; l = 3 м; f = 0,2; d = 2,5 м.
Определить T и h.
Вариант 17. Дано: α = 45о; l = 6 м; VB = 2·VA; τ = 1 c; h = 6 м.
Определить d и f.
Вариант 18. Дано: α = 30о; l = 2 м; VA = 0; f = 0,1; d = 3 м. Определить
h и τ. |
|
Вариант 19. Дано: α = 15о; l = 3 м; VB = 3 м/с; f ≠ 0; τ = 1,5 c; |
d = 2 |
м. Определить VA и h. |
|
Вариант 20. Дано: α = 45о; VA = 0; f = 0,3; d = 2 м; h = 4м. Определить l
и τ.
89
Варианты 21 – 25 (рис. 6)
С |
|
|
и |
|
|
б |
|
|
АВ |
||
|
Рис. 6 |
|
Тело движется из точки |
по участку |
(длиной l) наклонной |
плоскости, составляющей угол α с горизонтом. Его начальная скорость VA. |
||
|
Д |
|
Коэффициент трения скольжения равен f. Через τ секунд тело в точке В со скоростью VB покидает наклонную плоскость и падает на горизонтальную плоскость в точку С со скоростью VC; при этом оно находится в воздухе Т секунд.
При решении задачи принять тело за материальную точку и не учитывать сопротивление воздуха.
Вариант 21. Дано: α = 30о; f = 0,1; VA = 1 м/с; τ = 1,5 c; h = 10 м.
Определить VB и d.
Вариант 22. Дано: VA = 0; α = 45о; l = 10 м; τ = 2 c. Определить f и
уравнение траектории (Y = f(X) = ?) на участке ВС в системе отсчёта XВY. |
||||||||||||||||
Вариант 23. |
Дано: f = 0; VA = 0; l = 9,81Им; τ = 2 с; h = 20 м. |
|||||||||||||||
Определить α и Т. |
|
|
|
|
|
|
|
|
|
|
|
|
|
|
|
|
Вариант 24. |
Дано:VA |
= |
0; |
α = |
30о; |
f |
= |
0,2; |
l |
= |
10 |
м; |
d |
= |
12 |
м. |
Определить τ и h. |
|
|
|
|
|
|
|
|
|
|
|
|
|
|
|
|
Вариант 25. |
Дано: VA |
= |
0; |
α = |
30о; |
f |
= |
0,2; |
l |
= |
6 |
м; |
h |
= |
4,5 |
м. |
Определить VC и τ.
90