Материал: 2100

Внимание! Если размещение файла нарушает Ваши авторские права, то обязательно сообщите нам

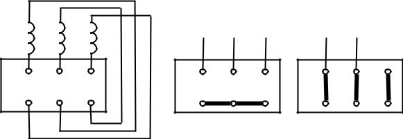
Статор – это неподвижная часть машины, которая состоит из станины с сердечником и трёхфазной обмотки, представляющей собой катушки медного провода (рис. 6.1, б). Катушки, расположенные в соседних пазах сердечника и соединённые последовательно, образуют катушечную группу. Каждая фаза обмотки состоит из катушечных

групп, соединённых между собой последовательно или параллельно

СибАДИ

таким образом, чтобы ЭДС всех катушек складывались друг с другом,

сохраняя при этом направление тока в фазе [5, 7].

Начала

концы

фаз обмотки статора выведены на зажимы

клеммной коробки, расположенной на корпусе машины (рис. 6.1, в и

рис. 6.2, а). Статорная обмотка соединяется по схеме звезда или тре-

угольн к (р с. 6.2,

в). О ычно трёхфазный АД предназначен для

включен я в трёхфазную сеть на два разных линейных напряжения 220/380 (230/400) В. Например, если линейное напряжение 220 (230) В, то статорная обмотка соединяется треугольником, а при линейном напряжен 380 (400) В – звездой [5, 7].

 

 

 

а

б

 

в

 

 

 

 

 

3

~

 

3 ~

 

U1

V1

W1

U1

V1

W1

U1

V1

W1

W2

U2

V2

W2

U2

V2

W2

U2

V2

 

 

 

 

 

 

 

 

 

 

Y

 

 

 

 

Рис. 6.2. Схема подключения статорной обмотки:

а – катушек обмотки к клеммной коробке; – соединение фаз обмотки звездой; в – соединение фаз обмотки треугольником

Ротор – вращающаяся часть машины, представляющая собой вал на подшипниках с цилиндрическим сердечником, собранным из тонких пластин электротехнической стали (рис. 6.1, г). Пластины, изолированные друг от друга лаком или тонкой пленкой окисла, собирают в пакет и насаживают на вал. Вдоль наружного края сердечника ротора имеются пазы, в которых располагаются витки обмотки. Обмотка короткозамкнутого ротора выполняется заливкой собранного сердечника алюминиевым сплавом, в результате образуются витки обмотки, залитые в пазах, и короткозамыкающие кольца по торцам [5, 7].

111

Катушки фаз обмотки статора соединены таким образом, что в каждый момент времени электромагнитные силы (МДС, индукция и магнитный поток) одного полюсного деления складываются и образуют результирующее магнитное поле. С изменением направлений и величин токов в катушках непрерывно меняют своё расположение по окружности статора полюсные деления и магнитные полюса машины.

Таким образом, результирующее магнитное поле непрерывно «вра-

СибАДИ

щается» по окружности статора.

 

 

 

Частота вращен я магнитного поля статора (синхронная частота)

определяется в об/м н как [5, 7]:

 

 

 

n =

60 f1

,

(6.1)

1

p

 

где f1 – л нейная частота тока в о мотке статора (линейная частота питающего напряжен я, о ычно 50 Гц); р – число пар полюсов статора.

Ч сло пар полюсов p магнитного поля статора АД определяется количеством последовательно соединенных катушечных групп в каждой фазе обмотки. При этом катушечные группы одной фазы сдвинуты по окружности статора относительно катушечных групп другой фазы обмотки на угол 120°/р [5, 7].

Например, при наличии всего одной катушки в каждой фазе обмотки статор АД удет иметь только два магнитных полюса или одну пару полюсов. Тогда за один период изменения фазного тока обмотки статора результирующий вектор магнитной индукции повернётся на один полный оборот, или 360°. При последовательном соединении двух катушечных групп каждой обмотки статора число пар полюсов р = 2. Тогда магнитное поле за один период изменения фазного тока статора повернётся в пространстве на 180° и частота вращения магнитного поля n1 при частоте f1 = 50 Гц будет равна 1500 об/мин.

Принцип действия АД в самом общем виде состоит в следующем: статор используется для создания магнитного поля, вращающегося с определенной скоростью, а в замкнутых проводящих пассивных контурах ротора наводятся ЭДС, вызывающие протекание токов образование моментов сил при их взаимодействии с магнитным полем статора. Под действием электромагнитных сил обмоток ротор

вращается в направлении вращения магнитного поля статора [5, 7].

В связи с особенностями электромагнитных процессов АД не может самостоятельно обеспечить частоту вращения ротора n2, равную синхронной частоте вращения n1. Мерой относительной разницы частот вращения ротора n2 и магнитного поля статора n1 является па-

раметр скольжение [5, 7]:

112

S = n1 n2 .

(6.2)

n1

 

кольжение S обычно выражают в долях единицы или в процентах, тогда выражение (6.2) необходимо умножить на 100%. В режиме двигателя у асинхронной машины 0 < S < 1 [5, 7].

При включении машины в сеть в начальный момент времени ротор под влиянием сил инерции неподвижен (n2 = 0; S = 1). Далее ротор вращается в том же направлении, что и магнитное поле статора.

Частота вращен я ротора асинхронной машины, работающей в режи-

При

 

 

 

 

 

 

ме двигателя, всегда меньше частоты вращения магнитного поля ста-

Стора. отсутств

механической нагрузки на валу (холостой ход)

ротор вращается с частотой, очень близкой к синхронной частоте.

кольжен е, соответствующее номинальной нагрузке на валу,

назы-

 

преобразования

 

 

 

вают ном нальным скольжением. Для различных АД общепромыш-

ленного назначен

нормальном режиме номинальное скольжение

SН = 0,02 – 0,08 уменьшается с увеличением мощности машины.

Акт вная мощность Р1

определяет среднюю мощность необра-

тимого

 

в двигателе электрической энергии, получае-

мой из трёхфазной сети, в механическую, тепловую и другие виды

энергии. Потребляемая из сети о моткой статора трёхфазного АД ак-

тивная электрическая мощность определяется как мощность трёхфаз-

ного симметричного приёмника [5, 7]:

 

 

 

 

 

 

Д

 

 

А

ϕ ,

(6.3)

 

 

 

 

 

P = 3U I cosϕ = 3 U I cos

 

1

1Ф 1Ф

1

 

 

1Л 1Л

1

 

где U1Ф и U1Л – фазное и линейное питающие напряжения; I1Ф и I1Л – фазный и линейный токи статора; cosφ1 – коэффициент мощности фа-

зы статора.

И

Преобразование электрической энергии в механическую в АД, как и в других электрических машинах, связано с потерями энергии, поэтому полезная механическая мощность на валу двигателя Р2 всегда меньше мощности на входе Р1, потребляемой из сети, на величину

суммарных потерь мощности ΣР. КПД асинхронного двигателя [5, 7]:

η =

P2

= 1

P

= 1

P

.

(6.4)

P1

P1

P2 + P

 

 

 

 

 

КПД трёхфазных АД общепромышленного назначения в номинальном режиме составляет при мощности до 1 кВт 60 – 75%; от 1 до 10 кВт 75 – 88% и при мощности свыше 10 кВт 88 – 94% [5, 7].

113

КПД двигателя с изменением нагрузки на валу также меняет свою величину: в режиме холостого хода КПД равен нулю, а затем с ростом нагрузки он увеличивается, достигая максимума при нагрузке 0,45–0,65 от номинальной Р2Н. При дальнейшем увеличении нагрузки КПД снижается незначительно, а при перегрузке он резко убывает, что объясняется интенсивным ростом электрических потерь, величина которых пропорциональна квадрату тока статора, и уменьшением коэфф ц ента мощности [5, 7].

увел чен ем нагрузки на валу двигателя активная мощность растёт, а реакт вная остается постоянной. Следовательно, коэффициент мощности увел ч вается и при номинальной нагрузке достигает значен я cosφ1н = 0,7 – 0,9 в зависимости от мощности АД, а при п е- регрузке он резко убывает, как и КПД машины [5, 7].

Электромагн тный момент АД создаётся взаимодействием тока в обмотке ротора с вращающимся магнитным полем. Электромагнитный момент М равен отношению электромагнитной мощности АД РЭМ к угловой скорости вращен я магнитного поля статора 2πn1/60 [рад/с] [7]:

M =

60

Р

=

60m R I 2

(6.5)

 

ЭМ

2 2 2 .

 

2πn

 

2πn S

 

 

 

1

 

1

 

где R2 – активное сопротивление фазы ротора; m2 – число фаз обмоток ротора; I2 – ток фазы ротора.

После приведения выражения (6.5) к величине питающего на-

пряжения фазы АД U1Ф получим следующее выражение [7]:

 

2

 

60m1R2U1Ф

 

M = 2πn1S[(R1 + R2S )2 + (X1 + X2)2 ],

(6.6)

где m1 – число фаз обмоток статора; R1

X1 – активное и индуктивное

сопротивления фазы обмотки статора; R'2 и X'2 – приведённые к обмотке

статора активное и индуктивное сопротивления фазы обмотки ротора.

В данном выражении момента М единственная переменная ве-

личина – скольжение S, которое для

может принимать разные

СибАДИ

значения в диапазоне от 0 до 1.

 

 

Зависимость М = f(S) называют механической характеристикой

асинхронной машины. Однако для решения уравнения (6.6) необхо-

димо произвести расчёт параметров

электрической цепи

обмоток

статора и ротора, воспользовавшись проектно-конструкторскими каталогами асинхронных машин, что весьма проблематично в учебном процессе.

114

Упрощённо, используя паспортные данные АД, механическая характеристика М = f(S) может быть рассчитана по формуле М. Клосса

[5, 7]:

М =

 

2М КР

 

 

 

 

 

 

 

;

 

 

(6.7)

 

S

+

SКР

 

 

 

SКР

 

 

S

 

 

СибАДИ

 

 

 

 

 

 

SКР = SН (λ +

 

λ2 1)

,

(6.8)

где МКР – макс мальный (критический) момент; SН и SКР – номинальное и крит ческое скольжения; λ – кратность максимального момента.

Исходная формула Клосса позволяет с достаточной точностью построить механ ческую характеристику только в области устойчивой работы, т.е. в пределах скольжения от 0 до SКР. На пусковом участке при скольжен SКР S ≤ 1 формула Клосса даёт недопустимые погрешности. Поэтому для расчёта и построения пускового участка характерист ки спользуется уточнённая формула Клосса-Чекунова [8]:

 

 

 

 

 

 

М =

M П2 +

0,93M КР2 M П2

(1S )2 ,

(6.9)

 

 

(11,3SКР )2

 

 

 

где МП – пусковой момент двигателя или стартовый момент, развиваемый в момент запуска двигателя.

Для устойчивой работы двигателю необходимо преодолевать статический момент сопротивления, приложенный к валу, динамический момент при разгоне, а также случайные кратковременные перегрузки. Поэтому важным эксплуатационным свойством АД является перегрузочная способность по моменту. ля двигателей общепро-

мышленного назначения коэффициент перегрузки по моменту (крат-

ность максимального момента) λ составляет 1,6 – 2,5 [5, 7].

 

 

λ =

М КР ,

 

(6.10)

 

 

 

М

 

 

 

 

 

Н

 

 

где МН – номинальный момент двигателя в Н·м [5, 7],

 

МН

=

60 1000 Р2Н =

9550 Р2Н ,

(6.11)

 

 

2πn2н

 

n2н

 

здесь Р2Н – номинальная мощность на валу двигателя в кВт; n2н – номинальная частота вращения ротора в об/мин.

115