Конструкция базы должна отвечать принятому в расчетной схеме колонны способу сопряжения ее с основанием (см. рис. 26). При шарнирном сопряжении колонны с фундаментом анкерные болты ставят лишь для фиксации проектного положения колонны и закрепления ее в процессе монтажа. Анкеры в этом случае прикрепляют непосредственно к опорной плите базы, и благодаря гибкости плиты
обеспеч вается необходимая податливость сопряжения при действии |
|
случайных моментов. Диаметр анкерных болтов принимают равным |
|
20…30 мм, а отверст я для анкерных болтов принимают в 1,5…2 раза |
|
С |
|
больше д аметра анкеров. На анкерные болты надевают шайбы с от- |
|
, которое на 3 мм ольше диаметра болта, и после натяжения |
|
болта гайкой шай у пр варивают к |
. |
верстием(4000…5000 кН) пр меняются азы с траверсами. Траверса воспри-
При сравн тельно не ольших расчетных усилиях в колоннах
нимает нагрузку со стержня колонны и передает ее на опорную плиту. Чтобы увел ч ть равномерную передачу давления с плиты на фунда-
мент, жесткость плиты увеличивают дополнительными ребрами |
|
(рис. 30). |
базе |
|
А |
Таким образом, аза колонны выполняет две функции распределяет усилие, передаваемое колонной на фундамент, снижая напря-
|
|
|
|
Д |
|||
жение до расчетного сопротивления бетона фундамента, и обеспечи- |
|||||||
вает прикрепление к нему колонны с помощью анкерных болтов. |
|||||||
3.6.1. Определение размеров опорной плиты |
|||||||
|
|
|
|
|
|
|
И |
Расчет базы начинается с определения площади опорной плиты |
|||||||
и ее размеров в плане. |
|
|
|
|
|
||
Площадь опорной плиты Аоп рассчитывается из условия прочно- |
|||||||
сти бетона фундамента |
|
|
|
|
|
||
|
Nк |
|
R |
ф |
; |
(69) |
|
|
|
||||||
|
Аоп |
|
b |
|
|
||
|
|
Nк |
|
|
|
||
А |
|
, |
|
(70) |
|||
|
|
|
|||||
|
оп |
|
Rb ф |
|
|
||
|
|
|
|
|
|
|
|
66
Си бА Д
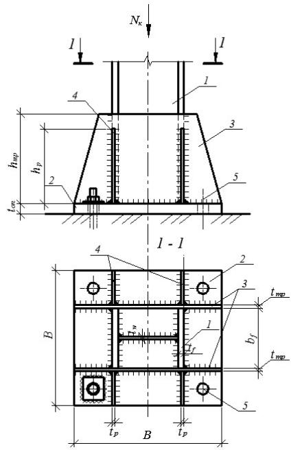
Рис. 30. Конструктивная схема базыИколонны:
1 – стержень колонны; 2 – опорная плита; 3 – траверсы;
4 – ребра жесткости; 5 – оси анкерных болтов; hmp – высота траверсы; tmp – толщина траверсы; hp – высота ребра жесткости;
tp – толщина ребра жесткости; ton – толщина опорной плиты
67
где Rb расчетное сопротивление бетона осевому сжатию (прил. 4),
кН/см2; ф коэффициент увеличения Rb в зависимости от соотно-
шения площадей верхнего обреза фундамента Аф и опорной плиты Аоп
при |
Аф |
2, |
|
|
|
|
|
|
|
|
|
|
|
|
|
|
|
|
|||
|
|
|
|
|
|
|
|
|
|
|
|
|
|
|
|
|
|||||
С |
|
|
|
|
|
|
|
|
|
|
|
|
|
|
|
|
|||||
|
Аоп |
|
|
|
|
|
|
А |
А |
|
|
|
|
|
|
|
|
|
|
|
|
|
|
|
|
|
|
|
ф |
3 |
3 |
2 |
1,26. |
|
|
|
|
||||||
|
|
|
|
|
|
|
|
ф |
оп |
|
|
|
|
|
|
|
|
||||
|
Так как габар тные размеры колонны приближены к квадрату, |
||||||||||||||||||||
bf hw , то |
|
опорная |
|
|
|
принимается квадратной в плане со сто- |
|||||||||||||||
роной B |
|
|
по ГОСТ 82 70*на листовую сталь. |
|
|
|
|
||||||||||||||
|
Аоп |
|
|
|
|
||||||||||||||||
|
|
|
|
|
|
|
|
|
|
|
Напряжение смятия в фунда- |
|
|||||||||
|
|
|
|
|
|
|
|
|
|
менте под опорной плитой σф, кН/см2, |
|
||||||||||
|
|
|
бА |
|
|
|
|
||||||||||||||
плита |
(рис. 31) считается распределенным |
|
|||||||||||||||||||
равномерно и является фактическим |
|
||||||||||||||||||||
реактивным давлением на опорную |
|
||||||||||||||||||||
|
|
|
|
|
|
|
|
|
|
плиту, кН/см2. Проверка прочности |
|
||||||||||
|
|
|
|
|
|
|
|
|
|
етона фундамента |
выполняется по |
|
|||||||||
|
|
|
|
|
|
|
|
|
|
формуле |
|
|
Nк |
|
|
|
|
|
|||
|
|
|
|
|
|
|
|
|
|
|
|
|
|
|
|
R γ |
ф . |
(71) |
|
||
|
|
|
|
|
|
|
|
|
|
|
|
|
|
|
|
||||||
|
|
|
|
|
|
|
|
|
|
|
|
|
|
ф |
|
В2 |
b |
|
|||
|
|
|
|
|
|
|
|
|
|
Д |
рас- |
|
|||||||||
Рис. 31. Схема к расчету |
|
|
|
Толщина опорной |
плиты |
|
|||||||||||||||
|
опорной плиты |
|
|
|
|
считывается |
после |
конструирования |
|
||||||||||||
|
|
|
|
|
|
|
|
|
|
базы. |
|
|
|
|
|
|
|
|
|||
|
3.6.2. Определение размеров траверс и ребер базы колонны |
||||||||||||||||||||
|
|
|
|
|
|
|
|
|
|
|
|
|
|
И |
|||||||
Траверсы и ребра жесткости предназначены для равномерного распределения нагрузки от стержня колонны по площади опорной плиты.
Следующие размеры траверс и ребер принимаются по конструктивным требованиям:
tтр 10...14мм – толщина траверсы;
tp tmp 2 мм – толщина ребра жесткости; hp 0,8hmp – высота ребра жесткости.
Если торец колонны не фрезерован, то передача усилия от колонны к опорной плите происходит через траверсу – вертикальные
68
опорные листы. В этом случае усилие от колонны передается через вертикальные швы на траверсу и от траверсы через горизонтальные швы на опорную плиту.
Поэтому высота траверсы hтр определяется из условия прочно- |
||||||||||||||||
сти сварных швов, приваривающих траверсы к стержню колонны. |
||||||||||||||||
С |
|
|
|
|
|
|
|
|
|
|
|
|
|
|
|
|
Количество вертикальных швов принимается четыре (см. рис. 29). |
||||||||||||||||
Расчет сварных угловых швов производится на условный срез: |
||||||||||||||||
1) при срезе по металлу шва |
|
|
|
|
|
|
|
|
|
|
||||||
при |
|
N |
к |
|
|
|
|
|
1, |
|
(72) |
|||||
4βf kf hтрRwf γc |
|
|
||||||||||||||
|
|
|
|
|
||||||||||||
|
|
|
|
|
|
|
|
|||||||||
|
|
|
|
|
|
|
|
|
||||||||
|
отсюда hmp |
|
|
|
Nк |
|
|
|
|
+ 2 см; |
(73) |
|||||
|
4βf kf Rwf c |
|||||||||||||||
2) |
срезе по металлу границы сплавления |
|
||||||||||||||
|
|
|
|
Nк |
|
|
|
|
1, |
|
|
(74) |
||||
|
|
|
4βzkf hтрRwzγc |
|
|
|
||||||||||
|
|
|
|
|
|
|
|
|
|
|||||||
|
отсюда hmp |
|
4β |
Nк |
|
|
+ 2 см. |
(75) |
||||||||
|
|
k |
f |
R |
|
c |
||||||||||
|
|
|
|
|
|
z |
|
|
|
wz |
|
|
|
|||
Все обозначения в формулах – см. п. 2.6 данного пособия, при |
||||||||||||||||
этом катет шва kf принимается kf |
Д |
|
||||||||||||||
min |
≤ kf |
≤ 1,2 tmin. |
|
|||||||||||||
Полученнаябвысота траверсыАне должна превышать отметку по- |
||||||||||||||||
ла 1-го этажа hmp hз |
100 мм, что регулируется изменением катета |
|||||||||||||||
шва. |
|
|
|
|
|
|
|
|
|
|
|
|
|
|
|
|
Размеры траверс и ребер |
принимаются в соответствии с |
|||||||||||||||
ГОСТом на листовую сталь. |
|
|
|
|
|
|
|
|
|
|
|
И |
||||
|
|
|
|
|
|
|
|
|
|
|
|
|
||||
3.6.3.Определение толщины опорной плиты
Плиту рассчитывают как пластинку, нагруженную (снизу) равномерно распределенным давлением фундамента и опертую на элементы стержня и базы колонны (траверсы и ребра).
Для расчета вырезают из плиты полоску шириной 1 см в направлении наименее благоприятной работы плиты.
Равномерно распределенное реактивное давление со стороны фундамента ф на полосе шириной 1 см определяется по формуле
qф ф 1 см, кН/см. |
(76) |
69
Опорная плита (рис. 32) представляет собой пластину на упругом основании, закрепленную на разных участках по двум (участок 4), трем (участки 2;3) и четырем (участок 1) сторонам. Для определения толщины опорной плиты базы необходимо найти изгибающие
моменты на участках 1, 2, 3, 4. Си
бАРис. 32. Схема расположенияДрасчетных участков опорной плиты
Вычисляемые изгибающие моменты зависят от соотношения сторон: при опирании на три стороны – защемленной к свободной, при опирании на четыре стороны – большей к меньшей [1, п. 8.6].
Участок 1 работает на изгиб как пластина, опертая по четырем сторонам. Изгибающие моменты М1а (в направлении короткой стороны) и М1в (в направлении длинной стороны), кН·см, определяются по формулам
М |
|
2 |
; |
М |
|
2 |
|
q а |
qИb , |
||||||
1а |
1 |
ф 1 |
|
1в |
2 |
ф 1 |
(77) |
где α1, α2 – коэффициенты, зависящие от отношения длинной стороны b1 к короткой а1: b1 /а1 (прил. 5).
Участки 2 и 3 работают на изгиб как пластина, опертая по трем сторонам. Изгибающие моменты М2 и М3, кН·см, определяются по формулам
70