Материал: 2031

Внимание! Если размещение файла нарушает Ваши авторские права, то обязательно сообщите нам

11.2.7.2. Пористость активированного минерального порошка определяют расчетом на основании предварительно установленных значений истинной и средней плотности. Сущность метода определения истинной плотности заключается в нахождении плотности порошка без учета имеющихся в нем пор. Сущность метода определения средней плотности состоит в нахождении плотности порошка после уплотнения его в форме объемом 100 см3 под нагрузкой 40 МПа.

 

 

Таблица 11.2

Требования к активированному минеральному порошку

 

 

 

 

Показатель

Норма для порошка

 

 

Зерновой состав, % по массе, не менее:

 

 

 

мельче 1,25 мм

95

»

0,315 мм

90

»

0,071 мм

75

Пористость, % по объему, не более

30

 

 

Набухание образцов из смеси порошка с битумом, % по

1,8

объему, не более

 

 

 

 

 

11.2.7.3.Сущность метода определения набухания образцов из смеси порошка с битумом заключается в нахождении приращения объема образцов из смеси порошка с битумом с остаточной пористостью 5 – 6 % после насыщения их водой в вакуум-приборе и последующего выдерживания в горячей воде.

11.2.7.4.Сущность метода определения водостойкости образцов из смеси порошка с битумом заключается в оценке степени падения прочности при сжатии образцов после воздействия на них воды в условиях вакуума и температуры.

11.2.7.5.Сущность метода определения показателя битумоемкости

заключается в нахождении количества масла, при котором смесь его со 100 см3 порошка имеет заданную консистенцию.

11.2.7.4. Сущность метода определения гидрофобности активированного минерального порошка состоит в оценке способности порошка не смачиваться водой.

11.3.Рабочие гипотезы

11.3.1.Минеральный порошок является обязательным компонентом асфальтовяжущего в асфальтобетоне. Минеральный порошок регулирует вязкость и клейкость асфальтовяжущего. Таким образом, асфальтовяжущее является суспензией минерального порошка (дисперсной фазы) в битуме (дисперсионной среде).

11.3.2. Вязкость асфальтовяжущего зависит от:

а) соотношения битума и минерального порошка в нем; б) тонкости помола порошка (удельной поверхности);

в) физико-химического сродства битума и поверхности зерен минерального порошка (их адгезионного взаимодействия);

г) вязкости битума; д) температуры.

11.3.3. Клейкость асфальтовяжущего зависит от: а) содержания минерального порошка в нем;

б) количества свободного (неструктурированного порошком) битума; в) адгезионного взаимодействия свободного битума и поверхности

зерен минерального порошка.

11.3.4. С ростом содержания активирующей или гидрофибизирующей добавки при помоле минерального порошка растет гидрофобность поверхности его зерен. Поверхность зерен минерального порошка будет полностью покрыта битумом, если его объемный расход VБ равен

VБ =Sмпу Б,

(11.1)

где VБ – объемный расход битума на полное покрытие поверхности зерен

порошка пленкой битума толщиной Б; Sмпу – удельная

поверхность

минерального порошка, м-1.

 

11.4.Используемые материалы и реактивы

1.Битум нефтяной дорожный вязкий марки БН или БНД 60/90 – 300 г.

2.Анионактивное ПАВ, например, керосиновый контакт (контакт Петрова), каменноугольная смола или деготь – по 50 г.

3.Минеральный порошок, например известняк, – 1500 г на один

состав.

4.Вода дистиллированная – 1000 мл.

5. Смачиватель, например, ОП – 7, ОП – 10 – 50 г.

6.Масло индустриальное М 8В – 500 г.

11.5.Используемые приборы и оборудование

1.Набор сит с сетками № 1,25; 0,315; 0,071 – 1 шт.

2.Прибор для механического просеивания – 1 шт.

3.Весы лабораторные квадрантные технические ВЛКТ – 1 шт.

4.Шкаф сушильный – 1 шт.

5.Чашка фарфоровая диаметром 15 – 20 см – 3 шт.

6.Пестик фарфоровый с резиновым наконечником – 3 шт.

7.Сосуд вместимостью 6 – 10 л – 1 шт.

8.Груша резиновая – 1 шт.

9.Пикнометр – 9 шт.

10.Ванна песчаная или электроплитка с закрытой спиралью – 1 шт.

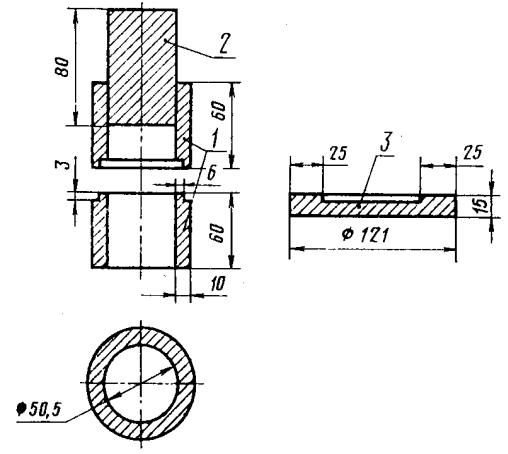
11.Форма для уплотнения порошка (рис. 11.1), состоящая из полого

разъемного цилиндра 1, вкладыша 2 и металлического поддона 3. Объем нижней части формы 100 3 см3 – 3 шт.

12.Шаровая мельница – 1 шт.

Рис. 11.1. Форма для уплотнения порошка: 1 – полый разъемный цилиндр, 2 – вкладыш, 3 – металлический поддон

13.Пресс гидравлический с нагрузками до 100 кН (10 т.с) –1 шт.

14.Противень металлический размером не менее 25 40 см – 3 шт.

15.Нож или шпатель – 3 шт.

16.Формы металлические для уплотнения образцов (рис. 11.2) – 6 шт.

17.Термометр стеклянный ртутный с ценой деления шкалы 1 0 С – 1

шт.

18.Вакуум-прибор – 1 шт.

19.Прибор Вика с дополнительным грузом массой 170 г, укрепленным на верхней площадке стержня и с пестиком диаметром 10 1 мм – 3 шт.

20.Чашка металлическая диаметром 50 мм и высотой 20 мм – 3 шт.

21.Чашка фарфоровая диаметром 10 – 12 см – 3 шт.

22.Стакан стеклянный вместимостью 500 – 800 мл – 9 шт.

11.6.Порядок подготовки к проведению работы

11.6.1.Подготовить и проверить используемые в работе приборы и оборудование (см. разд. 11.5).

11.6.2.Подготовить исходные материалы для приготовления активированного минерального порошка (см. табл. 11.1).

Рис. 11.2. Форма металлическая для уплотнения образцов

11.6.3. Приготовить девять составов активированного минерального порошка с различным содержанием активирующей смеси для последующего их испытания.

11.6.3.1. Смешать между собой компоненты для приготовления активированного минерального порошка до однородной смеси в следующих соотношениях:

1 состав – 99 % известняка, 1 % битума, 0 % ПАВ; 2 состав – 99 % известняка, 0,85 % битума, 0,15 % ПАВ;

3 состав – 99 % известняка, 0,70 % битума, 0,30 % ПАВ; 4 состав – 98 % известняка, 2 % битума, 0 % ПАВ; 5 состав – 98 % известняка, 1,70 % битума, 0,30 % ПАВ;

6 состав – 98 % известняка, 1,40 % битума, 0,60 % ПАВ; 7 состав – 97 % известняка, 3 % битума, 0 % ПАВ;

8 состав – 97 % известняка, 2,55 % битума, 0,45 % ПАВ; 9 состав – 97 % известняка, 2,10 % битума, 0,90 % ПАВ.

11.6.3.2. Измельчить приготовленные составы в шаровой (планетарной) мельнице с одинаковыми условиями механической обработки.

11.7.Порядок проведения работы

11.7.1.Определение зернового состава. Пробу активированного порошка массой 50 г отбирают из средней пробы в воздушно-сухом состоянии и помещают в фарфоровую чашку, заливают небольшим количеством раствора смачивателя (смачиватель вводят на 1 л воды – 3 г, порошок должен быть покрыт раствором) и растирают в течение 2 – 3 мин пестиком с резиновым наконечником, после чего раствор со взвешенными в нем частицами порошка выливают на сито с сеткой № 0071, установленное над сосудом.

Эту операцию повторяют и продолжают до тех пор, пока раствор в чашке не станет прозрачным.

После промывки частицы порошка крупнее 0,071 мм, оставшиеся на сетке, смывают с помощью резиновой груши в фарфоровую чашку.

Оставшейся в чашке раствор осторожно сливают, чашку помещают в

сушильный шкаф, где высушивают остаток пробы порошка при температуре 105 5 0 С до постоянной массы.

Высушенный остаток пробы последовательно просеивают через сита с сетками № 1,25; 0,315 и 0,071 вручную или на приборе для механического просеивания. Просеивание считается законченным, если после встряхивания сита в течение 30 с количество частиц, прошедших через сито № 1,25, не превышает 0,05 г, а прошедших через сита № 0,315 и 0,071

0,02 г. Остаток на каждом сите взвешивают.

Для текущего (оперативного) контроля зернового состава допускается просеивать порошок без предварительной промывки при условии использования прибора для механического просеивания. Для этого берется навеска 50 г и помещается в верхнее сито в набора сит с поддоном и крышкой, установленного в прибор для механического просеивания. Просеивание в приборе продолжается в течение 30 – 40 мин, после чего прибор останавливают и производят контрольное просеивание вручную. Просеивание считается законченным, если после ручного встряхивания сита в течение 30 с количество частиц, прошедших через сито № 1,25, не превышает 0,05 г, а прошедших через сита № 0,315 и 0,071 – 0,02 г. Остаток на каждом сите взвешивают.

11.7.2. Определение истинной плотности. Определяют истинную плотность раствора смачивателя (см. пп. 11.7.1) пикнометрическим методом. Затем берут навеску около 10 г порошка и всыпают в чистый, высушенный и взвешенный пикнометр. После чего пикнометр с порошком вновь взвешивают и на 1/3 заполняют раствором.