Материал: 2015 [Тынчеров] Основы автоматизации ТПНП

Внимание! Если размещение файла нарушает Ваши авторские права, то обязательно сообщите нам
xmin

x xmin

q qном

,

(1.6)

,

(1.7)

где φ — относительное значение регулируемой величины; x — сама регулируемая величина;

— минимальное значение регулируемой величины (при но-

минальном режиме);

xmin и qном — базовые значения величин;

λ — относительное значение нагрузки.

Тогда неравномерность δ (или статизм) системы в общем случае есть частная производная в данной точке (или относительная крутизна характеристики регулирования в этой точке):

 

.

(1.8)

 

 

 

Если характеристика регулирования линейная, то статизм будет постоянной величиной для всех значений нагрузки. И он может быть определен следующим образом:

 

 

 

 

xmax xmin

 

 

 

 

 

 

 

 

 

max

 

 

 

xmin

 

 

xmax xmin

,

 

xmax xmin

.

(1.9)

 

 

 

qном 0

 

 

 

 

 

max

 

 

 

 

xmin

 

xmin

 

 

 

 

 

qном

Статический регулятор поддерживает не строго постоянное значение регулируемой величины, а с ошибкой, которая называется статической ошибкой системы. Таким образом, статизм регулирования

— это относительная статическая ошибка при изменении нагрузки от холостого хода до номинальной нагрузки.

Внекоторых системах статическая ошибка (даже если и сотые доли процента) нежелательна, тогда переходят к регулированию, при котором она равна нулю, — к астатическому регулированию. Характеристика регулирования такой системы представляется линией, параллельной оси нагрузки.

Астатическим называется автоматическое регулирование, при котором при различных постоянных значениях внешнего воздействия на объект отклонение регулируемой величины от заданного значения по окончании переходного процесса становится равным нулю.

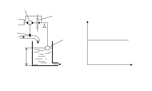
Вастатическом регуляторе уровня Н воды в баке (рис. 1.7) поплавок перемещает ползунок реостата в ту или иную сторону в зави-

симости от изменения уровня от заданного значения, тем самым запитывая двигатель, управляющий положением заслонки. Выключен двигатель будет тогда, когда уровень воды достигнет заданного значения.

Система астатического регулирования имеет следующие характерные особенности:

равновесие системы имеет место только при одном значении регулируемой величины, равном заданному;

регулирующий орган имеет возможность занимать различные положения при одном и том же значении регулируемой величины.

В реальных регуляторах первое условия выполняется с некоторой погрешностью. Для выполнения второго условия в контур регулирования вводится так называемое астатическое звено. В приведенном примере — двигатель, обладающий тем свойством, что при отсутствии напряжения его вал неподвижен в любом положении, а при наличии напряжения он непрерывно вращается.

 

а)

б)

 

3

 

 

Ø +

4

 

 

+ Ø

• • • •

 

- Ø

H

 

 

1

Ø -

 

q1

 

2

 

 

Н

q

0

q

 

 

Рис. 1.7 — Астатический регулятор уровня воды непрямого действия: а — схема регулятора, б — характеристика регулятора; 1 — задвижка, 2 — поплавок, 3 — электродвигатель постоянного тока, 4 — реостат

Взависимости от источника энергии, получаемой регулятором, различают:

прямое,

непрямое регулирование.

Всистемах прямого регулирования энергия для перестановки управляющего элемента получается от датчика (как пример — статический регулятор уровня воды).

Всистемах непрямого регулирования энергия для перестановки управляющего элемента получается от постороннего источника (пример — астатический регулятор уровня воды).

Системы автоматического регулирования с несколькими регулируемыми величинами (например, давление пара в котле, подача воды

вкотел, подача топлива и воздуха в топку) подразделяются на системы несвязанного и связанного регулирования.

Системами несвязанного регулирования называются такие, в

которых регуляторы, предназначенные для регулирования различных величин, не связаны друг с другом и могут взаимодействовать только через общий для них объект регулирования. Если в системе несвязанного регулирования изменение одной из регулируемых величин влечет за собой изменение других регулируемых величин, то такая система называется зависимой; а если не влечет, то система назы-

вается независимой.

Системами связанного регулирования называются такие, в ко-

торых регуляторы различных регулируемых величин связаны друг с другом и помимо объекта регулирования.

Система связанного регулирования называется автономной, если связи между входящими в ее состав регуляторами таковы, что изменение одной из регулируемых величин в процессе регулирования не вызывает изменения остальных регулируемых величин.

Замкнутые системы автономного регулирования, имеющие только одну (главную) обратную связь, называются одноконтурными. Системы автоматического регулирования, имеющие помимо одной главной обратной связи еще одну или несколько главных или местных обратных связей, называются многоконтурными.

Взависимости от вида характеристик элементов, из которых состоят системы, все системы делятся на:

линейные,

нелинейные.

Линейными называются системы, которые состоят только из элементов, имеющих линейные характеристики; переходные процессы в таких элементах описываются линейными дифференциальными уравнениями.

Нелинейными называются системы, которые имеют один или несколько элементов с нелинейными характеристиками; переходные процессы в таких системах описываются нелинейными дифференциальными уравнениями.

При классификации по виду используемой энергии все системы можно подразделить на:

электрические,

гидравлические,

пневматические,

электрогидравлические,

электропневматические и др.

Взависимости от числа регулируемых величин системы автома-

тического регулирования (САР) бывают:

одномерные,

двухмерные,

многомерные.

Многомерные САР могут быть системами несвязанного и связанного регулирования. Система связанного регулирования может быть автономной [42, 43].

1.1.3. Алгоритм (закон) регулирования

Всякую систему автоматического регулирования можно рассматривать как вычислительное устройство, которое вырабатывает регулирующее воздействие в функции от величины рассогласования ε, нагрузки q и других величин.

А сама функциональная связь (функциональная зависимость) между желаемым регулирующим воздействием на объект yо, величиной рассогласования ε, нагрузкой q , производных и интегралов двух послед-

них величин называется алгоритмом регулятора, или законом регулирования.

Аналитически в общем виде:

yo

= ƒ (ε, ε', ε'', … t

ε dt,…q, q', q'',…).

(1.10)

 

0

 

 

По виду этой функциональной зависимости и различают принципы регулирования.

Например, алгоритм регулятора по отклонению будет иметь зависимость:

 

 

t

 

yo

= ƒ (ε,

ε', ε'', … ε dt).

(1.11)

 

 

0

 

Алгоритм регулятора по нагрузке:

 

yo

= ƒ (q,

q', q'',…)

(1.12)

Уравнение (1.9) — алгоритм комбинированного регулирования.

Несколько конкретных алгоритмов регулирования:

— алгоритм пропорционального регулирования

y

= a0 · ε ,

(1.13)

o

 

 

где регулирующее воздействие пропорционально ε, и сами регулято-

ры называются П-регуляторами;

— алгоритм

регулирования

пропорциональный

с воздействием

по первой производной:

 

 

y

= а0 · ε + а1 · ε' ,

 

(1.14)

o

 

 

 

— алгоритм

регулирования

пропорциональный с воздействием

по первой и второй производной:

 

 

y

= а0 · ε + а1 · ε' + а2 · ε'',

(1.15)

o

 

 

 

— интегральный закон регулирования — И-регулятор:

t

 

 

 

 

yo = b0

ε dt,

 

 

(1.16)

0

 

 

 

 

— алгоритм регулирования пропорциональный с воздействием

по интегралу — ПИ-регулятор:

 

o

 

t

 

 

 

 

 

 

y = а0 ·

+ b0

 

ε dt

(1.17)

 

 

0

 

 

1.1.4. Основные требования к автоматическим системам управления

Применение автоматического управления производственными процессами должно улучшать их технико-экономические показатели. Исключением являются случаи, когда основным и решающим фактором является улучшение труда обслуживающего персонала и если это обусловливается также соображениями техники безопасности.

Сформулированы общие требования к САУ:

максимальная простота, где не всегда необходима «полная автоматизация», т. е. системе поручают только те функции, которые совершенно необходимы;

САУ должна быть гибкой, т. е. допускать быстрый переход (в случае необходимости) к ручному управлению из нескольких мест;

САУ должна действовать как при нормальных, так и при аварийных режимах;

максимальная надежность САУ;

снижение стоимости автоматизированных установок;