Материал: 1868

Внимание! Если размещение файла нарушает Ваши авторские права, то обязательно сообщите нам

Величина ИВ может быть определена по номограмме (рис 3.3). Для этого нужно знать вязкость исследуемого масла при 50 и 100 С. Для масла М4З/10Г1 вязкость при 50 и 100 С составила 50 и 10 сСт. Чтобы определить ИВ моторного масла по номограмме, необходимо восстановить перпендикуляры от известных значений вязкости при 50 и 100 С, и точка пересечения с наклонной прямой на номограмме покажет ИВ для данного масла. По номограмме ИВ = 110.

Для легкого запуска двигателя при отрицательных температурах (ниже –20 С) ИВ должен быть не менее 120.

Рис. 3.3. Номограмма для определения индекса вязкости моторного масла

 

 

 

 

И

 

 

 

Д

 

 

А

 

 

б

 

 

и

 

 

 

С

 

 

 

 

3.9. Определение температуры вспышки

Температура вспышки – это косвенный параметр, оценивающий фракционный состав масла. По температуре вспышки можно судить о наличии в масле легкоиспаряющихся фракций, а также о разбавлении масла топливом.

Температурой вспышки называют минимальную температуру, до которой необходимо нагреть масло, чтобы его пары образовали с воздухом смесь, вспыхивающую при поднесении пламени. Чем ниже эта температура, тем больше в масле низкокипящих углеводородов, тем более склонно оно при повышенных температурах к испарению и, следовательно, тем больше будет его расход (угар).

36

Температура вспышки автомобильных масел должна находиться в

пределах 190 220 С. Лучшие масла имеют более высокую температуру

вспышки.

 

 

 

 

 

Резкое снижение температуры вспышки работавшего масла сви-

детельствует о наличии в нем топлива. Это может произойти по ряду

причин: вследствие конденсации продуктов неполного сгорания топ-

лива, поступающих в картерное пространство с прорывающимися газа-

ми; из-за повышенного износа цилиндропоршневой группы, отсутствие

искрыв одномизцилиндров,трещиныв диафрагме бензонасоса.

Попадая в масло, топливо оказывает преимущественное влияние на

процесс накопления в масле различных органических отложений (про-

дукты неполного сгорания топлива), соединений серы и свинца; ухудша-

ет тепловой режим, подвод масла к узлам трения, повышает износ дета-

лей двигателя.

 

 

 

 

 

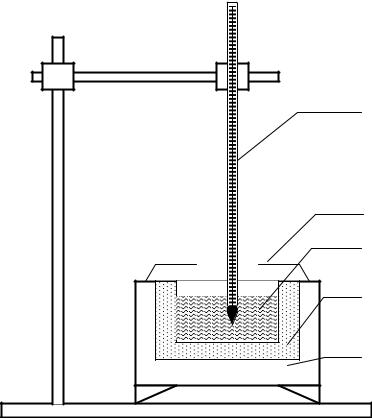
Температуру вспышки масел определяют с использованием прибора

с открытым тиглем (нем. горшок). Прибор (рис. 3.4) состоит из металли-

ческого тигля, помещённого в песчаную баню, обогреваемую электриче-

ским нагревателем.

 

 

 

 

И

 

 

 

 

 

 

 

 

 

Д

 

 

 

А

4

 

 

б

 

 

 

и

 

 

 

С

 

 

 

5

 

 

 

3

 

 

 

 

 

 

 

 

 

2

 

 

 

 

 

1

Рис. 3.4. Прибор с открытым тиглем для определения

температуры вспышки масла: 1 электрический нагреватель;

2 прокалённый песок; 3 тигель с маслом; 4 термометр; 5 щиток

37

3.10.Порядок проведения испытания

1.В тигель наливают масло, не доливая до верхнего края 10 мм.

2.Тигель с маслом погружают в песок так, чтобы уровни песка и масла были на равной высоте.

3.Термометр помещают в тигель так, чтобы ртутный шарик оказался в центре залитого масла.

4.Для уменьшения рассеивания паров масла и удобства наблюдения за вспышкой прибор загораживают щитком.

5.Включают нагреватель. Примерно за 10 15 С до ожидаемой температуры вспышки, когда над маслом начинают появляться пары,

кповерхности его подносят пламя зажигалки и медленно проводят им над поверхностью масла. Время продвижения пламени от одной сто-

роны тигля до другой 2 3 с.

6.Эту операцию повторяют через каждые 2 С подъёма температуры до тех пор, пока над частью илиДнад всей поверхностью масла не появится небольшое синее, исчезающее пламя.

7.Температуру, показываемуюАтермометром, фиксируют как температуру вспышки масла. Определяемая температура вспышки нефильтровальной бумагиб, пропитанной работавшим масломИ

ОпределениеСналич я воды в работавшем масле производят в следующем порядке: тщательно перемешивают пробу масла; берут листок фильтровальной бумаги, пропитывают его работавшим маслом и поджигают; дают оценку характеру горения факела; по табл. 3.2 определяют степень обводнения масла; содержание воды допускается не более 0,5 .

 

Таблица 3.2

Оценка обводненности масла от характера горения факела

 

 

Характер горения факела

Обводнение масла, %

 

 

Слабое шипение

Менее 0,5

Потрескивание, отдельные

0,5 1,0

фейерверки

 

Треск, сильный фейерверк

1,5 и более

 

 

38

3.12. Оценка загрязненности методом капельной пробы

Сущность метода заключается в нанесении капли работавшего масла на фильтровальную бумагу и сравнении с эталонной шкалой степени почернения полученного после сушки пятна.

Выполнение анализа: пробу масла тщательно перемешивают; каплю масла чистой пипеткой наносят на центр фильтра; фильтр, с нанесённой каплей масла, высушивают 15 мин при температуре 100 С, либо 2 4 ч при комнатной температуре; после сушки масляного пятна хроматограмма оценивается по табл. 3.3 (светлый ореол вокруг тёмного пятна во внимание не брать).

Таблица 3.3

Оценка работоспособности моторного масла в зависимости от его внешнего вида

 

 

 

 

 

 

Д

 

 

 

 

 

 

 

 

Содержание

 

 

 

 

 

 

Внешний вид пятна

 

механических

 

 

Принимаемое решение

 

 

 

 

 

 

примесей, %

 

И

 

 

Светлое желтоватое пятно

 

0,00 0,01

 

Работоспособно

 

 

Желтоватое пятно с резко ог-

 

 

 

 

 

 

 

 

раниченной более тёмной

 

0,01 0,05

 

 

 

Работоспособно

 

 

окантовкой

 

 

 

 

 

 

 

 

 

 

 

 

 

и

А0,05 0,10

 

 

 

 

 

 

Серое или светло-коричневое

 

 

 

 

 

 

пятно, ограниченное более

 

 

 

 

Работоспособно

 

 

тёмной окантовкой

 

б

 

 

 

 

 

 

 

Тёмно-серое или тёмно-

 

 

 

 

 

 

Работоспособно

 

 

коричневое пятно

 

 

0,10 1,0

 

 

 

 

 

 

 

 

 

 

 

 

 

 

 

Сплошное чёрное пятно

 

Более 1,0

 

 

 

Не работоспособно

 

 

Примечание.

одержание

механических

 

примесей допускается

не более 1 .

С

 

 

 

 

 

 

 

 

3.13. Оценка результатов лабораторного анализа

Определив значения основных показателей масла, необходимо сравнить их с требованиями ГОСТа (табл. 3.5, 3.6) с целью оценки качества нефтепродукта. Для этого результаты анализа сводятся в таблицу. Образец записи приведен в табл. 3.4.

39

Таблица 3.4

Образец записи результатов анализа масла Марка масла ________

 

 

 

Значения

по-

 

 

 

Значения

 

 

Отклонение показателей

 

 

Показатели

 

казателей каче-

 

показателей

 

 

 

 

качества

 

ства для испы-

 

 

 

качества

 

фактическое

 

допустимое

 

 

 

 

туемого образ-

 

по ГОСТ…

 

 

 

 

 

 

ца №____

 

 

 

 

 

 

 

 

 

 

 

 

 

 

 

 

 

 

 

 

 

 

 

 

 

 

 

 

 

 

 

 

 

 

 

 

 

 

 

 

 

 

 

 

 

 

 

 

 

 

 

 

 

 

 

 

 

 

 

 

 

 

 

Таблица 3.5

 

 

 

Основные показатели качества масел

 

 

 

 

 

 

 

для бензиновых двигателей (ГОСТ 10541 78)

 

 

 

 

 

 

 

 

 

 

 

 

 

 

 

 

 

 

 

 

 

 

 

 

 

 

 

 

 

 

 

 

 

 

 

 

 

 

 

 

И

 

 

 

 

 

Показатели

 

 

 

 

 

 

 

 

 

Марки масел

 

 

 

 

 

 

 

 

 

 

 

 

 

М-8-В1

 

 

М-4з/6-В1

М-6з/10-В1

М-5з/10-Г1

 

М-6з/12-Г1

 

Вязкость, мм2/с:

 

 

 

 

 

 

5,5–6,5

Д

 

10–11

 

 

12

 

 

при 100 С

 

 

 

8 0,5

 

 

 

 

9,5–10,5

 

 

 

 

 

0 С

 

 

 

1200

 

 

 

------

 

 

 

------

 

------

 

 

------

 

 

–18 С

 

 

 

-----

 

 

 

1100–2600

9000

 

5200

 

 

10400

 

 

–30 С

 

 

 

-----

 

 

 

1100

 

 

 

------

 

------

 

 

------

 

 

Индекс вязкости,

 

 

85

 

 

 

125

 

 

 

115

 

120

 

 

115

 

 

не менее

 

 

 

 

 

 

 

 

 

 

 

 

 

 

 

 

 

 

 

 

 

 

 

 

 

 

 

 

 

 

 

 

 

 

 

 

Температура вспышки

 

 

б

 

 

 

 

 

 

 

 

 

 

 

 

 

в открытом тигле, С,

 

 

200

 

 

165

 

 

 

190

 

200

 

 

210

 

 

не ниже

 

 

 

 

 

 

 

 

 

 

 

 

 

 

 

 

 

 

 

 

 

 

Температура застыва-

 

и

 

 

 

 

 

 

 

 

 

 

 

 

 

 

 

 

ния, С, не выше

 

 

–25

 

 

–42

 

 

–40

 

–38

 

 

–30

 

 

 

 

 

 

 

А

 

 

 

 

 

 

 

 

 

 

 

Плотность при 20 С,

 

 

900

 

 

895

 

 

 

890

 

900

 

 

900

 

 

кг/м3, не более

 

 

 

 

 

 

 

 

 

 

 

 

 

Содержание мех. при-

 

 

0,02

 

 

0,015

 

 

 

0,02

 

0,015

 

 

0,015

 

 

месей, %, не более

 

 

 

 

 

 

 

 

 

 

 

 

 

 

 

 

 

 

 

 

 

 

 

 

 

 

 

 

 

 

 

 

 

 

 

 

 

 

 

 

 

 

 

 

 

 

 

 

 

 

 

 

 

Таблица 3.6

 

 

 

Основные показатели качества масел

 

 

 

 

 

для дизельныхСавтомобильных двигателей (ГОСТ 8581 78)

 

Показатели

 

 

 

 

 

 

 

 

 

Марки масел

 

 

 

 

 

 

 

 

 

М-8-В2

 

М-10-В2

М-8-Г2

М-10-Г2

 

М-8-Г2к

М-10-Г2к

 

 

 

 

 

 

Вязкость, мм2/с,при 100 С

 

 

8 0,5

 

 

11–12

 

8 0,5

 

11 0,5

 

 

8 0,5

 

11 0,5

Индекс вязкости,

 

 

 

90

 

 

90

 

85

 

 

85

 

 

90/95

 

85/95

 

не менее

 

 

 

 

 

 

 

 

 

 

 

 

 

 

 

 

 

 

 

 

 

 

 

 

 

 

 

 

 

 

 

 

 

Температура вспышки в

 

 

200

 

 

205

 

200

 

205

 

 

200/210

 

205/220

 

открытом тигле, С, не

 

 

 

 

 

 

 

 

 

 

ниже

 

 

 

 

 

 

 

 

 

 

 

 

 

 

 

 

 

 

 

 

 

Содержание мех. приме-

 

 

0,015

 

 

0,015

 

0,015

 

0,015

 

0,015

 

0,015

 

сей, %, не более

 

 

 

 

 

 

 

 

 

 

 

 

 

 

 

 

 

 

 

 

 

 

 

 

 

 

 

 

 

 

 

Примечание. В числителе – показатели для масла первой категории качества, в знаменателе – высшей.

40