7.2. Проверка напряжений на уровне нижних концов свай
На уровне нижних концов свай давление в грунте от нормативных нагрузок р не должно превышать расчетного сопротивления грунта R:
р ≤ R.
Для проверки напряжений на уровне нижних концов свай определяют давление под подошвой условного фундамента
|
|
Nmaxсоч |
Gyнф |
|
|
р |
|
f |
|
||
|
|
, |
(37) |
||
|
|
||||
aybу
здесь f – осредненное значение коэффициента надежности по нагрузке,
принимаем равное 1,2; Gнyф – нормативный вес условного фундамента
(рис.14).
|
|
|
|
|
|
Gнуф= ауbуНγ, |
|
|
|
|
|
(38) |
|||||
где – осредненный объемный вес бетона и грунта, равный 20 кН/м3. |
|
||||||||||||||||
Определяем расчетное сопротивление грунта на уровне нижних |
|||||||||||||||||
концов свай: |
|
|
|
|
|
|
|
|
|
|
|
|
|
|
|
||
R |
c1 c2 |
(M |
|
k |
z |
b |
II |
M |
g |
d |
' |
c |
II |
M |
c |
). |
(39) |
|
|||||||||||||||||
|
k |
|
|
|
1 |
II |
|
|
|
|
|||||||
|
|
|
|
|
|
|
|
|
|
|
|
|
|
|
|
||
коэффициенты: с1, с2 ,k,M ,kz ,b, II ,Mg ,d1, II' |
,cII ,Mс те же, |
что в |
|||||||||||||||
формуле (1), п.1. |
|
|
|
|
|
|
|
|
|
|
|
|
|
|
|
||
Вформуле (39) d1 принимаем равное Н, b = bу.
7.3.Определение нижней границы сжимаемой толщи
основания
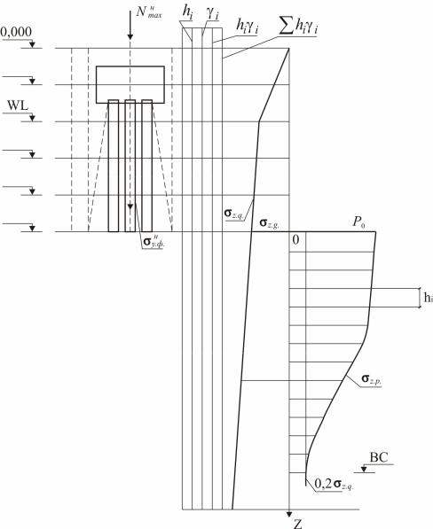
Для определения нижней границы сжимаемой толщи основания вычисляем вертикальные напряжения от собственного веса грунта:
|
n |
|
zg |
hi i . |
(40) |
|
i |
|
В случае наличия водоупора выше ВС необходимо скорректировать эпюру природного давления путем добавления эпюр давления воды с максимальной ординатой в уровне кровли водоупора и нулем на уровне WL. При этом удельный вес грунта выше WL и ниже кровли водоупора принимать не во взвешенном состоянии.
Вычисляем дополнительное вертикальное давление на основание:
po= p- zg,o , |
(41) |
где zg,o– вертикальное напряжение от собственного |
веса грунта на |
уровне подошвы фундамента. |
|
13
Дополнительное давление находим по формуле [1]:
zp p0 ,
где – коэффициент, принимаемый по табл.1 прил. 2 [1], в зависимости от соотношения сторон прямоугольного фундамента n aу и относительной
|
|
|
|
|
|
|
|
|
|
|
|
by |
|
|
||
глубины |
2z |
, значения |
z отсчитываются от подошвы |
условного |
||||||||||||
|
||||||||||||||||
|
|
|
|
|
by |
|
|
|
|
|
|
|
|
|||
фундамента. |
|
|
|
|
|
f ;n |
|
|
||||||||
|
|
|
|
|
|
|
|
|
|
|
|
|||||
|
|
|
|
|
|
|
|
|
|
|
|
|
|
Таблица 4 |
||
|
|
Определение давления под подошвой условного фундамента |
||||||||||||||
|
|
|
|
|
|
|
|
|
|
|
|
|
|
|
||
|
|
2z |
|
|
z |
by |
|
|
|
zp po |
zg zdo z |
|
0,2 zg |
|
||
by |
||||||||||||||||
|
|
|||||||||||||||
|
|
|
2 |
|
|
|
|
|
|
|
|
|||||
|
|
|
|
|
|
|
|
|
|
|
|
|
|
|
||
0 |
|
|
|
|
|
|
|
|
|
|
|
|
|
|||
|
0,4 |
|
|
|
|
|
|
|
|
|
|
|
|
|
||
|
…. |
|
|
|
|
|
|
|
|
|
|
|
|
|||
|
4,8 |
|
|
|
|
|
|
|
|
|
|
|
|
|
||
Строим эпюры вертикальных напряжений от веса грунта, дополнительных давлений. Находим границу сжимаемой толщи основания на глубине z=Hc , где выполняется условие
zp 0,2 zg .
7.4.Определение осадки фундамента методом послойного
суммирования
Осадка фундамента определяется по формуле [1]:
n |
h |
|
||
S 0.8 |
|
zp,i i |
, |
(42) |
|
|
|||
i 1 |
E |
|
||
i |
|
|||
где Ei – модуль деформации для слоев грунта ниже подошвы условного фундамента, кПа; п – число слоев, на которое разбита сжимаемая толща; hi
– мощность i -го слоя грунта, м.
14
Рис. 15. Схема к определению ВС
8. ПОДБОР МАРКИ СВАИ
Подготовка исходных данных для расчета по программе КОСТ-2. Перемещение несущего элемента от единичной силы [4]:
НН |
|
A0 |
, |
|
(43) |
||
|
|
|
|||||
|
э3ЕbI |
|
|
||||
MН |
|
В0 |
|
. |
(44) |
||
э2EbI |
|||||||
|
|
|
|||||
|
15 |
|
|
|
|
||
Перемещение несущего элемента от единичного момента:
|
мм |
|
С0 |
, |
(45) |
|
|
||||||
|
|
E I |
|
|||
|
|
|
|
э b |
|
|
где A0,, В0,, С0 – коэффициенты, определяемые по прил. 1 [4], при l = эh,
если l > 4, то l = 4, т.к. сопряжение свай с ростверком принято шарнирным; αэ – коэффициент деформации; Н – фактическая глубина погружения сваи.
э 5 |
Кdp |
, |
|
|
|
|
(46) |
|
3EbI |
|
|
|
|
||||
|
|
|
|
|
|
|
|
|
где К, кН/м4 – коэффициент пропорциональности грунта [4, прил.1]. |
|
|||||||
|
K h h 2h |
2 |
K |
h2 |
|
|||
K |
1 1 |
1 |
|
|
2 2 |
; |
(47) |
|
|
hm2 |
|
|
|
||||
|
|
|
|
|
|
|
||
h1 – мощность слоя грунта с К1 от подошвы ростверка до кровли слоя грунта с К2; h2 – мощность слоя в пределах
hm от кровли слоя грунта с К2; Еb – модуль упругости материала сваи принимается по табл. 5 с коэффициентом условия работ γш =
0,8
Н
Рис. 16. Схема к определению приведенного значения коэффициента пропорциональности грунта
|
|
|
|
|
|
Таблица 5 |
|
|
Модуль упругости бетона |
|
|
||
|
|
|
|
|
|
|
Класс бетона |
В15 |
|
В20 |
В25 |
В30 |
В35 |
Еb ,кПа |
20,5·106 |
|
24,0·106 |
27·106 |
29,0·106 |
31·106 |
Приведенное значение K получают из предположения, что влияние различных значений Ki на работу сваи уменьшается до нуля в пределах hm– мощности слоев грунта (рис. 16), определяющих в основном работу свай на горизонтальные нагрузки
16
hm=3,5dc+1,5. |
(48) |
Расчетный размер сваи вычисляется по формуле |
|
dp=Kэ(1,5dc+0,5), |
(49) |
где Kэ=1 – для прямоугольного сечения сваи; Еb – начальный модуль упругости бетона; I – момент инерции поперечного сечения сваи; dс – размер поперечного сечения сваи, м.
Момент в голове сваи
Мв=0. |
|
Поперечная сила в голове сваи |
|
Qв=Qx /n, |
(50) |
где п – количество свай; l0 – свободная длина сваи, l0=0.
Расчет изгибающего момента Мz осуществляется с помощью ЭВМ по программе КОСТ – 2. Данные для расчета сводятся в табл. 6.
Исходные данные к расчету Mz, Qz, Pzь |
Таблица 6 |
||
|
|||
|
|
|
|
Перемещение свай от |
FF |
|
м/кН |
единичной силы |
|
||
Перемещение свай от |
FM |
|
І/кН |
единичной силы |
|
||
Перемещение свай от |
MM |
|
І/(кН·м) |
единичного момента |
|
||
Момент в голове сваи |
МВ |
|
кН·м |
Поперечная сила в |
QB |
|
кН |
голове сваи |
|
|
|
Свободная длина сваи |
l0 |
|
м |
Коэффициент |
э |
|
І/м |
деформации сваи |
|
||
Жесткость сечения |
EJ |
|
кН/м2 |
ствола сваи |
|
|
|
Коэффициент |
|
|
кН/м4 |
пропорциональности |
K |
|
|
грунта |
|
|
|
Число сечений |
N |
|
- |
При свободном опирании ростверка на сваи принимается MB=0. N – количество сечений свай, в которых вычисляем вышесказанные величины
при |
|
эh 4,принимаем N=18; при |
|
3,5 N=17;при |
|
≤3,0; |
N |
l |
1. |
|
l |
l |
l |
||||||||
0,2 |
||||||||||
|
|
|
|
|
|
|
|
|
Наибольший момент по длине элемента устанавливается по эпюре Mz. Марку сваи определяют по типовому проекту 1.001-10.1[8].
17