Материал: 1851

Внимание! Если размещение файла нарушает Ваши авторские права, то обязательно сообщите нам

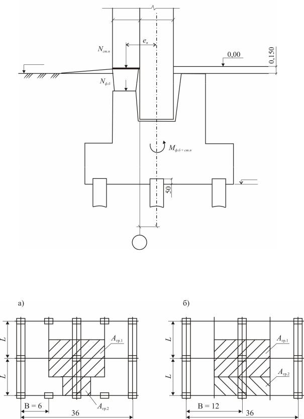
Рис.8. Схема приложения нагрузок от стенового ограждения: Ncm.п, – вес стеновых панелей, кН; NФ.б – вес фундаментных балок, кН;

е– эксцентриситет приложения нагрузки, м; Mст.п ф.б момент от стенового ограждения и фундаментной балки, кН·м

Рис.9. План здания: а – с шагом колонн по крайнему ряду 6 м, по среднему – 12 м; б – с шагом колонн по крайнему и по среднему рядам 12м

13

Таблица 1

Расчетные сочетания усилий

 

Усилия от постоянных на-

Усилия от верти-

Усилия

 

 

 

 

 

 

 

 

 

Расчетные сочетания усилий

 

 

кальной крановой

от по-

Усилия

 

 

 

 

 

 

 

 

 

 

грузок

 

 

 

 

 

 

 

 

 

 

 

 

 

 

 

 

 

нагрузки

 

переч-

от

 

Усилия от

 

 

 

 

 

 

 

 

 

 

 

 

 

 

 

 

 

 

 

 

 

 

 

 

 

 

 

 

 

 

 

 

 

 

 

 

 

 

 

 

 

 

ного

ветро-

 

снеговой

 

 

 

 

 

 

 

 

 

Колонна

 

 

 

 

 

 

 

 

 

 

 

 

тормо-

вой на-

 

нагрузки

 

 

 

 

 

 

 

 

 

 

 

 

 

 

 

 

 

 

 

 

 

 

жения

грузки

 

 

 

 

 

 

 

 

 

 

 

 

 

 

 

 

 

от веса стен.

с 2-х

 

 

 

 

 

 

 

 

 

 

основное

 

дополнительное

 

 

 

 

 

 

 

 

 

 

 

 

 

 

 

 

от веса покры-

с одной сто-

крана

 

 

 

 

 

 

 

 

 

 

 

 

панели и

сто

 

 

 

 

 

 

 

 

 

 

 

сочетание

 

сочетание

 

 

тия

 

 

 

роны

 

 

 

 

 

 

 

 

 

 

 

 

 

 

 

 

фунд. балки

рон

 

 

 

 

 

 

 

 

 

 

 

 

 

 

I

 

 

II

 

 

 

 

 

 

 

 

 

 

 

 

 

 

 

 

 

 

 

 

 

 

 

 

 

 

 

 

 

 

 

 

 

 

 

 

 

 

 

 

 

 

 

 

 

 

 

 

 

 

 

 

 

 

 

 

 

N,

M,

Q,

N,

 

М,

Q,

N,

N,

 

М,

Q,

М,

Q,

М,

 

Q,

N,

 

М,

 

Q,

І

 

І

 

І

ІІ

ІІ

 

ІІ

 

кН·

 

кН·

 

кН·

кН·

кН·

 

 

 

N ,

 

М ,

 

Q ,

N ,

М ,

 

Q ,

 

кН

м

кН

кН

м

кН

кН

кН

 

м

кН

м

кН

м

 

кН

кН

 

кН·м

 

кН

кН

 

кН·м

 

кН

кН

кН·м

 

кН

 

 

 

 

 

 

 

 

 

 

 

 

 

 

 

 

 

 

 

 

 

 

 

 

 

 

 

 

 

 

 

 

 

 

 

 

 

 

 

 

 

 

 

 

 

 

 

 

 

 

 

 

 

 

 

 

 

 

 

1

2

3

4

5

 

6

7

8

9

 

10

11

12

13

14

 

15

16

 

17

 

18

19

 

20

 

21

22

23

 

24

 

 

 

 

 

 

 

 

 

 

 

 

 

 

 

 

 

 

 

 

 

 

 

 

 

 

 

 

 

 

 

 

Средняя

 

-

-

-

 

-

-

 

 

 

 

 

 

 

 

 

 

 

 

-

 

-

 

 

 

 

 

 

 

 

 

 

 

 

 

 

 

 

 

 

 

 

 

 

 

 

 

 

 

 

 

 

 

 

 

 

 

 

 

 

 

 

 

 

 

 

 

 

 

 

 

 

 

 

 

 

 

 

 

 

 

 

 

 

 

 

 

 

Крайняя

 

 

 

 

 

 

-

-

 

 

 

 

 

 

 

 

 

 

 

 

 

 

 

 

 

 

 

 

 

 

 

 

 

 

 

 

 

 

 

 

 

 

 

 

 

 

 

 

 

 

 

 

 

 

 

 

 

 

 

 

 

 

 

 

 

 

 

 

 

 

 

 

 

 

 

 

 

 

 

 

 

 

 

 

 

 

 

 

 

 

 

 

 

 

 

 

 

 

 

 

 

 

 

 

 

 

 

3

 

 

 

 

 

 

 

 

 

 

 

 

 

 

 

 

 

3

Таблица 2

Варианты сочетаний усилий

Pn

Pn+Pkp

Pn+Pвт

Pn+P

Рn+(Ркрвт)0,9

Рn+(Pkp+P)0,9

Рn+(Pснвт)0,9

Рn+(Pkp+Pвтсн)0,8

1

2

3

4

5

6

7

8

N

M

Q

N

M

Q

Примечания:

крайняя

средняя

1.Основным сочетанием нагрузок может быть выбрано сочетание 5, 6 или 8. Критерием выбора является максимальное значение N. Значения M и Q принимаются соответственно (из того же сочетания).

2.Дополнительным сочетанием нагрузок может быть выбрано сочетание 3. Критерием являются минимальные значения N и максимальные из соответствующих M и Q.

3

Усилия от постоянных нагрузок, а также от действия кранов и ветра принимают по прил. 3 и 4 соответственно для средних и крайних колонн.

Дополнительные усилия от веса стеновых панелей Ncm.п, кН, и фундаментных балок NФ.б , кН, определяют только для крайней колонны:

Nст.п gст.пBhст.п f ;

NФ.б gф.бВ f ,

где gcm.п – вес 1м2 стеновой панели; gф.б вес 1 п.м фундаментной балки; В

– шаг колонн по крайней оси; hст.п высота стены.

hcm.п = ОНСК + hФ+ hпл+ hкр+hп , (6)

где ОНСК – отметка низа стропильной конструкции; hф = 0,9 м – высота фермы на опоре; hпл = 0,3 м – высота прилива, при В = 6 м; hпл = 0,45 м при В = 12 м; hкр= 0,3 – высота кровли; hn = 0,5 м – высота парапета; f =1,1 – коэффициент надежности по нагрузке [2].

Определяется момент от стенового ограждения и фундаментной балки (рис.8).

Mст.п ф.б Nст.п Nф.б е,

(7)

е 0,5 ст.п hк ,

(8)

где е – эксцентриситет приложения нагрузки, м; ст.п= 0,3 м толщина стеновой панели; hk – высота сечения колонны, м.

Усилие от снеговой нагрузки определяют по формуле [2]:

Nгр ,

(9)

где Агр – грузовая площадь, полное расчетное значение снеговой нагрузки на горизонтальную проекцию покрытия (рис. 9), при шаге колонн В = 6 м

а) Агр1 =2BL, Агр2 =BL/2; при В = 12 м; б) Агр1 =BL, Агр2=BL/2.

S So ,

(10)

где So расчетное значение веса снегового покрова на 1м2 горизонтальной поверхности земли, принимаем по табл.4 [2], в зависимости от снегового района (определяем по карте 1 [2]); коэффициент перехода от веса снегового покрова земли к снеговой нагрузке на покрытие, принимаемый в соответствии с пп. 5.3 5.6 [2], нормативное значение снеговой нагрузки следует принимать умножением расчетного значения на коэффициент 0,7.

Изгибающий момент Мсн и поперечная сила Qсн, вызванные действием снеговых нагрузок, определяются из пропорции

Мпокр

 

Qпокр

 

Nпокр

,

(11)

Мсн

Qсн

 

 

 

Nсн

 

где Мпокр, Qnокp, Nпокр усилия от веса покрытия.

11