Материал: 1746

Внимание! Если размещение файла нарушает Ваши авторские права, то обязательно сообщите нам

Введение

Прочность грунтов принципиальным образом определяется их влажностью: с повышением влажности прочность снижается.

Для регулирования влажности грунтовых оснований инженерных сооружений используют дренирующие слои, противофильтрационные заве-

сы и т.д. 1, 2 .

Движение воды в грунте, когда его поровое пространство полностью заполнено водой, и в ненасыщенном состоянии различаются.

Процесс движения свободной (гравитационной) воды в двухфазной системе (твердая и жидкая фазы) называют фильтрацией. Характеризуют этот процесс коэффициентом фильтрации Kф, м/сут.

Процесс движения воды в трехфазной системе (твердая, жидкая и газообразная фазы) носит диффузионный характер. Его называют влагопроводностью и характеризуют коэффициентом влагопроводности Kв, см2/ч.

Целью лабораторной работы является приобретение студентами практических навыков по определению коэффициента фильтрации грунтов в соответствии с нормативными документами.

Выполнив и оформив лабораторную работу, студент должен её защитить, ответив на вопросы преподавателя (см. п.5).

8

1. Основные положения

Способность грунтов пропускать через себя воду под действием гидростатического напора называется фильтрацией.

Согласно закону Дарси при ламинарном движении воды в полностью водонасыщенном грунте количество воды, фильтрующейся через него в единицу времени, пропорционально площади А, разности напоров воды H, под действием которой происходит фильтрация, и обратно пропорционально длине пути фильтрации L:

q K A HL 1.

(1)

Здесь Kф – коэффициент фильтрации, а

HL 1 J – гидравлический

градиент напора.

 

Скорость фильтрации фопределяется как расход воды,

протекающей

через единицу площади поперечного сечения потока.

 

ф q A 1 KфJ ,

(2)

т.е. скорость фильтрации зависит линейно от гидравлического градиента. Из линейного закона фильтрации (2) следует: коэффициент фильтрации Kф представляет собой скорость фильтрации воды при градиенте напора

J=1. Измеряется Kф в м/сут.

Величина этого коэффициента для различных грунтов изменяется в широких пределах (табл.1) и является количественной характеристикой степени его водопроницаемости (табл.2).

Коэффициент фильтрации грунтов зависит от физических свойств грунта и физико-химических свойств воды.

Так как вязкость воды снижается с повышением ее температуры, то полученное в испытаниях значение Kф при фактической температуре воды Тф приводит к температуре 10 0С путем его деления на поправку:

Т = 0,7 + 0,03Тф.

(3)

Расчетное значение коэффициента фильтрации K10фp следует принимать равным нормативному Kф10n , которое рассчитывается как среднеарифмети-

ческое n частных значений коэффициента фильтрации Kф10i .

 

 

1

n

 

Kфр10

Kф10n

 

Kф10i .

(4)

 

 

 

ni 1

 

9

Таблица 1

Ориентировочные значения коэффициентов фильтрации грунтов

Разновидность грунтов

Коэффициент фильтрации

Kф , м/сут

 

Торф

0,01…4

Глина

0,001…0,01

Суглинок

0,01…0,1

Супесь

0,1…0,5

Пески: пылеватый

0,5…1,0

мелкозернистый

1…5

среднезернистый

5…15

крупнозернистый

15…50

Песчано-гравийная смесь

50…100

Гравий

100…200

Таблица 2

Подразделения грунтов по степени водопроницаемости (извлечение из прил. 5 ГОСТ 25100. Грунты. Классификация)

Разновидность грунтов

Коэффициент фильтрации

Kф, м/сут

 

Неводопроницаемый

<0,005

Слабоводопроницаемый

0,005…0,30

Водопроницаемый

0,30…3

Сильноводопроницаемый

3…30

Очень сильноводопроницаемый

>30

2. Определение коэффициента фильтрации песчаных грунтов в приборе Союздорнии

Согласно ГОСТ 25584 3 этот метод распространяется на песчаные грунты, применяемые в дорожном и аэродромном строительстве для устройства дренирующих и морозозащитных слоев дорожной и аэродромной одежд.

Коэффициент фильтрации определяют на образцах нарушенного сложения при максимальной плотности и оптимальной влажности, значения которых предварительно устанавливают по ГОСТ 22733 [4].

Необходимое оборудование и приборы:

Фильтрационный прибор Союздорнии ( рис.1 ); трамбовка с массой падающего груза ( рис.2 ); весы; термометр с погрешностью измерения не более 0,5 0С по ГОСТ 28498; секундомер; эксикатор по ГОСТ 23932; сито с отверстиями диаметром 5 мм; цилиндр мерный вместимостью 100 мл;

10

чашка фарфоровая; емкость для воды вместимостью 8…10 л; линейка металлическая длиной 300 мм; нож из нержавеющей стали с прямым лезвием.

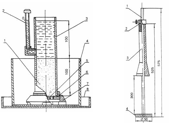
Рис.1. Схема прибора Союздорнии

Рис.2. Схема трамбовки: 1 – направляющая;

для определения коэффициента филь-

2 – фиксатор; 3 – падающий груз;

трации песчаных грунтов: 1 – образец;

4 – наковальня

2 – пьезометр; 3 – фильтрационная

 

трубка; 4 – стакан; 5 – сетка;

 

6 – перфорированное съемное дно;

 

7 – подставка; 8 – поддон

 

Подготовка к испытанию Песок и воду, предназначенные для определения коэффициента фильт-

рации, выдерживают в лаборатории до выравнивания их температуры с температурой воздуха.

Просеивают через сито с отверстиями 5 мм предварительно высушенный до воздушно - сухого состояния песчаный грунт и определяют его гигроскопическую влажность.

11

Отбирают в фарфоровую чашку пробу грунта способом квартования массой не менее 450 г и увлажняют с помощью мерного цилиндра отобранную пробу до оптимальной влажности и выдерживают её в эксикаторе с водой не менее 2 ч. Пески крупные и средней крупности допускается не выдерживать в эксикаторе.

Необходимый для увлажнения объём воды Q, см3, определяют по формуле

mW0 Wg

 

Q w 1 Wg ,

(5)

где m − масса пробы грунта, г; W0 − оптимальная влажность грунта, доли ед.; Wg − гигроскопическая влажность грунта, доли ед.; w − плотность воды, принимаемая равной 1 г/см3.

Из подготовленной пробы влажного грунта отбирают навеску массой m1 для помещения в фильтрационную трубку прибора 3 и навеску для контрольного определения фактической влажности грунта.

Массу навески m1, г, вычисляют по формуле

m1 V d max 1 W0 ,

(6)

где V − объём грунта в трубке, равный 200 см3; d max

− максимальная

плотность, установленная по ГОСТ 22733 [4], г/см3.

 

Фильтрационную трубку прибора заполняют песком в следующем порядке:

съёмное перфорированное дно с латунной сеткой, покрытой кружком марли, смоченной водой, крепят к трубке и ставят её на жесткое массивное основание;

навеску влажного грунта массой m1 делят на три порции и последовательно укладывают их в трубку, уплотняя каждую из них при помощи трамбовки, производя по 40 ударов груза с высоты 30 см. Перед укладкой каждой порции поверхность предыдущей уплотненной порции взрыхляют ножом на глубину 1…2 мм;

измеряют линейкой расстояние от верхнего края трубки до поверхности уплотненного грунта. Измерения проводят не менее чем в трех точках. В расчет принимают среднее значение. При высоте образца грунта в трубке более 100 мм проводят дополнительное уплотнение,

которое заканчивают при высоте образца (100 1) мм.

Укладывают на поверхность грунта слой гравия (фракция 2…5 мм) толщиной 5…10 мм.

Устанавливают трубку с грунтом на подставку 7 и вместе с ней помещают в стакан, который постепенно наполняют водой до верха.

Помещают стакан с трубкой в ёмкость для воды и заполняют ее до уровня выше слоя гравия на 10…15 мм.

12