Кольцо, |
предварительно |
|
|
протертое и смазанное машин- |
|
||
ным маслом и установленное на |
|
||
полированную пластинку, запол- |
|
||
няют тестом. Для этого в течение |
|
||
С |
|
|
|
30 с смешивают 200 г гипса и во- |
|
||
ду в количестве, соответствую- |
|
||
щем нормальной густоте гипсо- |
|
||
вого теста. Для удаления попав- |
|
||
шего в тесто воздуха кольцо с |
|
||
при |
|
||
пластинкой 4 – 5 раз встряхива- |
|
||
ют. После этого |
зл шки теста |
|
|
срезают л нейкой |
заполненную |
|
|
форму на пласт нке устанавли- |
|
||
вают на основан |
пр |
ора Вика. |
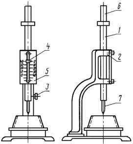
Рис. 4.2. Прибор Вика: 1 – стержень; |
Подв жную часть |
ора с |
2 – станина; 3 – стопорное устройство; |
|
|
|
|
|
иглой устанавл вают в такое по- |
4 – указатель; 5 – шкала; 6 – пестик; |
||
ложен е, при котором конец иг- |
7 – игла |
||
|
А |
||
лы касается поверхности гипсо- |
|
||
вого теста.бЗатем иглу сво одно опускают в кольцо с тестом. Погру- |
|||
жение производят каждые 30 с. После каждого погружения иглу тща- |
|||
тельно вытирают, а пластинку вместе с кольцом передвигают так, |
|||
чтобы игла при новом погружении попадала в другое место поверх- |
|
ности теста. |
Д |
|
|
Начало схватывания определяют числом минут от момента |
|
затворения гипса водой до момента, когда игла не доходит до пла- |
|
стинки, а конец схватывания – когда игла погружается на глубину не |
|
более 1 мм. |
И |
|
|
Прочность гипса определяют при испытании на изгиб и сжатие стандартных образцов-балочек размером 40×40×160 мм, изготовленных из гипсового теста нормальной густоты и твердевших на воздухе в течение двух часов.
Для изготовления трех образцов берут гипс массой 1,2 кг. Гипс в течение 5…20 с засыпают в чашку с водой, взятой в количестве, необходимом для получения теста нормальной густоты. После засыпа-
41
ния вяжущего смесь интенсивно перемешивают ручной мешалкой в течение 60 с до получения однородного теста, которым заливают
форму. Предварительно внутреннюю поверхность металлических форм смазывают минеральным маслом. Отсеки формы наполняют одновременно, для чего чашку с гипсовым тестом равномерно про- Сдвигают над формой. Для удаления вовлеченного воздуха после за-
ливки форму встряхивают 5 раз. После наступления начала схватывания излишки гипсового теста снимают линейкой. Через (15 ± 5) мин после конца схватыван я образцы извлекают из формы, маркируют и
хранят в помещен для испытаний.
нийОпределен е прочности гипсовых образцов, изготовленных из гипсового теста стандартной консистенции, производят через 2 ч после контакта г псового вяжущего с водой.
Для определен я предела прочности при изгибе R 3 образца-
балочки спытывают на машине МИИ-100. Для проведения испытаобразец устанавл вают на опоры прибора таким образом, чтобы те грани его, которые ыли горизонтальными при изготовлении, на-
ходил сь в верт кальном положении (рис. 4.3, а). Предел прочности при изгибе вычисляют как среднее арифметическое результатов трех испытаний.
бАизг
Рис. 4.3. Схемы испытаний образцов на изгиб (а) и сжатие (б): 1 – образецбалочка; 2 – нагрузочный элемент; 3 – опора; 4 – пластинки; 5 – половинка образца; 6 – плита пресса
Д а Иб
Определение предела прочности при сжатии производят на шести половинках балочек, полученных после испытания на изгиб. Образцы помещают между двумя металлическими пластинками таким образом, чтобы боковые грани, которые при изготовлении приле-
42
гали к продольным стенкам форм, находились на плоскостях пластин, а упоры пластин плотно прилегали к торцевой гладкой стенке образца
(рис. 4.3, б).
|
|
|
Образец вместе с пластинами подвергают сжатию на прессе. |
|||||||||||||
|
Время от начала равномерного нагружения образца до его разруше- |
|||||||||||||||
С |
|
|
|
|
|
|
|
|
|
|
|
|
||||
|
ния должно составлять от 5 до 30 с, средняя скорость нарастания на- |
|||||||||||||||
|
грузки при испытании должна быть (10 ± 5) кгс/см2 в секунду. |
|||||||||||||||
|
|
|
Предел прочности при сжатии Rсж |
одного образца определяют |
||||||||||||
|
как частное от делен я величины разрушающей нагрузки P, Н (кгс), |
|||||||||||||||
|
на рабочую площадь пластины S, равную 25 см2: |
|
|
|
|
|
||||||||||
|
тическое |
|
|
|
|
|
|
|
|
|
||||||
|
|
|
|
|
|
|
Rсж= P S . |
|
|
|
|
|
|
|
||
|
изг |
|
Предел прочности при сжатии⁄вычисляют как среднее арифме- |
|||||||||||||
|
|
|
бА |
|
|
|
|
|||||||||
|
|
|
результатов шести испытаний без наибольшего и наимень- |
|||||||||||||
|
шего результатов. |
|
|
|
|
|
|
|
|
|
|
|
|
|||
|
|
|
Результаты определения записывают в табл. 4.6. |
|
|
|
|
|||||||||
|
|
|
|
Определение марки гипса по прочности |
|
Таблица 4.6 |
||||||||||
|
|
|
|
|
|
|
|
|||||||||
|
|
|
Показатель |
|
|
|
|
Номер образца |
|
|
|
|
||||
|
|
|
|
1 |
2 |
|
3 |
4 |
|
5 |
6 |
|
Среднее |
|
||
|
|
|
|
|
|
|
|
|
|
|
||||||
|
|
|
|
|
|
|
|
|
Д |
значение |
|
|||||
|
|
|
|
|
|
|
|
|
|
|
|
|
|
|
|
|
|
R |
, МПа |
|
|
|
|
|
|
– |
– |
– |
|
|
|
||
|
P, кгс |
|
|
|
|
|
|
|
|
|
|
|
|
|
|
|
|
S, см2 |
|
|
|
|
|
|
|
|
|
|
|
|
|
|
|
|
Rсж, МПа |
|
|
|
|
|
|
|
|
|
|
|
|
|
||
|
Марка гипса |
|
|
|
|
|
|
|
|
|
|
|
|
|
||
|
|
|
|
|
Контрольные вопросы и задания |
|
|
|
|
|||||||
|
|
|
1. Дайте определение минеральным вяжущим веществам. На ка- |
|||||||||||||
|
кие группы их делят? Укажите особенности твердения воздушных |
|||||||||||||||
|
вяжущих. |
|
|
|
|
|
|
|
|
|
|
|
|
|
||
|
|
|
2. Какие показатели характеризуют Икачество строительного |
|||||||||||||
|
гипса? |
|
|
|
|
|
|
|
|
|
|
|
|
|
||
|
|
|
3. Дайте понятие о тонкости помола минеральных вяжущих ве- |
|||||||||||||
|
ществ. Как влияет тонкость помола вяжущего на качество вяжущего |
|||||||||||||||
|
теста и камня? |
|
|
|
|
|
|
|
|
|
|
|
|
|||
43
4. Опишите метод определения тонкости помола гипсовых вяжущих веществ.
5. На какие группы по тонкости помола делят гипсовые вяжу-
щие? |
|
6. |
Дайте понятие о нормальной густоте вяжущего теста. Как оп- |
ределяют нормальную густоту гипсового теста? |
|
7. |
Почему при определении нормальной густоты гипсового тес- |
та строго регламентируются сроки перемешивания? |
|
8. |
какой целью в гипсовое тесто вводят количество воды, в не- |
сколько раз больше, чем требуется для прохождения химических ре- |
|
акций? |
|
С |
|
9. |
Дайте понят е о сроках схватывания вяжущих веществ. Каков |
жущие 11. КакбАопределяют марку гипсовых вяжущих (по прочности)?
метод определен я сроков схватывания гипсовых вяжущих веществ?
10. На как е группы по срокам схватывания делят гипсовые вя-
?
12. Как е показатели указываются в условном обозначении строительного г пса? Приведите примеры.
Ла ораторная работа № 5 ИСПЫТ НИЕДЦЕМЕНТА
Цель работы: ознакомиться со стандартными методами определения технических свойств цемента.
Портландцемент – гидравлическое вяжущееИвещество, получаемое тонким измельчением портландцементного клинкера с добавкой гипса (3 – 5%). Клинкер получают обжигом до спекания сырьевой смеси, состоящей из известняка и глины. Гипс добавляют для замедления схватывания цемента. Для улучшения некоторых свойств и снижения стоимости портландцемента допускается введение минеральных добавок (шлака, микрокремнезема, пуццолана, золы-уноса, известняка). Гидравлические вяжущие после затворения водой способны твердеть и длительное время сохранять прочность (или даже повышать ее) не только на воздухе, но и в воде.
44
По вещественному составу цементы подразделяют на типы: - ЦЕМ I – портландцемент;
- ЦЕМ II – портландцемент с минеральными добавками; - ЦЕМ III – шлакопортландцемент;
- ЦЕМ IV – пуццолановый цемент;
СПо прочности на сжатие в возрасте 2 (7) сут цементы подразделяют на подклассы Н (нормальнотвердеющие), Б (быстротвердею-
- ЦЕМ V – композиционный цемент.
По содержанию клинкера и добавок цементы типов ЦЕМ II –
ЦЕМ V подразделяют на подтипы А, В и С.
По прочности на сжатие в возрасте 28 сут цементы подразделя-
ют на классы: 32,5; 42,5 и 52,5.
) и М (медленнотвердеющие).
Требован я к ф з ко-механическим показателям цементов при-
ведены в табл. 5.1. |
|
|
|
|
|
|
|
|
щие |
|
|
|
|
Таблица 5.1 |
|||
|
|
|
|
|
|
|
||
|
я к ф зико-механическим свойствам цемента |
|||||||
|
|
|
|
|
|
|
|
|
Класс, |
Прочность на сжатие, МПа, |
Начало |
Равномер- |
|||||
подкласс |
Требован |
схваты- |
ность измене- |
|
||||
|
в возрасте |
|
|
|||||
прочности |
2 сут, |
7 сут, |
|
28 сут |
вания, |
ния объема |
|
|
цемента |
не |
не |
|
не |
не |
мин, |
(расширение), |
|
|
менее |
менее |
|
менее |
более |
не ранее |
мм, не более |
|
32,5М* |
- |
12 |
|
32,5 |
52,5 |
75 |
|
|
|
|
А |
|
|
|
|||
32,5Н |
- |
16 |
|
|
|
|
|
|
32,5Б |
10 |
- |
|
|
|
|
|
|
42,5М* |
- |
16 |
42,5 |
62,5 |
60 |
10 |
|
|
42,5Н |
10 |
- |
|
|
|
|
|
|
|
|
|
|
Д |
|
|||
42,5Б |
20 |
- |
|
|
||||
52,5М* |
10 |
- |
52,5 |
- |
45 |
|
|
|
52,5Н |
20 |
- |
|
|
|
|
|
|
52,5В |
30 |
- |
|
|
|
|
|
|
* Подкласс применяют только для цементов типа ЦЕМ III. |
|
|
||||||
И |
|
|||||||
Условное обозначение цементов должно состоять из наименова- |
|
|||||||
ния цемента; сокращенного обозначения цемента, включающего обо- |
||||||||
значения типа, подтипа цемента и вида добавки, класса прочности, |
||||||||
подкласса, обозначения стандарта. |
|
|
|
|
||||
45