Примеры условных обозначений:
Портландцемент типа ЦЕМ I класса 42,5 быстротвердеющий: портландцемент ЦЕМ I 42,5Б ГОСТ 31108–2016.
Портландцемент типа ЦЕМ II, подтипа В со шлаком (Ш) от 21 до 35%, класса прочности 32,5, нормальнотвердеющий: портландцемент со шлаком ЦЕМ II/В-Ш 32,5Н ГОСТ 31108–2016.
Прочность цемента зависит от его минерального состава, тонкости помола и водопотребности. Твердение цемента всегда сопровож-
дается |
зменен ем его объема. Если изменение объема сравнительно |
невелико протекает равномерно, то оно не вызывает вредных по- |
|
следств й в в де появления трещин или разрушений. Если же изме- |
|
С |
|
нения объема вызывают внутренние напряжения, которым не может |
|
сопрот |
вляться твердеющий цемент, то в этом случае его нельзя при- |
менять в стро тельстве. Неравномерность изменения объема цементного теста вызывается из ыточным содержанием в цементе гипса и
свободных окс дов |
магния. |
кальция |
|
Для оценки качества цемента определяют тонкость помола, |
|
нормальную густоту цементного теста, сроки схватывания, равномер- |
|
ность изменения о ъема, прочность при изгибе и сжатии. |
|
бА |
|
1. Определение тонкости помола |
|
Пробу цемента высушиваютДв сушильном шкафу при температуре 105 110 ºС в течение 2 ч, охлаждают в эксикаторе. Отвешивают 50 г цемента и высыпают его на сито. Закрыв сито крышкой, устанавливают его в прибор для механического просеивания. Через 5…7 мин от начала просеивания останавливают прибор и делают контрольное просеивание на бумагу. Операцию считают законченной, если при контрольном просеивании сквозь сито в течение 1 мин проходит не более 0,05 г цемента. Тонкость помола определяют как остаток на сите с сеткой №008 в процентах к первоначальной массе просеиваемой пробы:
ТП= |
m |
∙100, |
И |
|
|
||||
50 |
||||
|
||||
где m – количество цемента, оставшегося на сите №008, г; 50 – исходная навеска цемента, г.
Результат вычисления округляют до 1%.
46
Нормальная густота цементного теста характеризуется количеством воды затворения, выраженным в процентах от массы цемента.
Цементное тесто готовят в |
|
|
С |
|
|
смесителе (рис. 5.1). |
|
|
Воду в количестве, необхо- |
|
|
димом (ориентировочно) для по- |
|
|
лучен я цементного теста нор- |
|
|
мальной густоты, выливают в |
|
|
ситель |
|
|
чашу смес теля, предварительно |
|
|
протертую влажной тканью, за- |
|
|
тем в течен е 5…10 с высыпают |
|
|
500 г цемента |
включают сме- |
|
бА |
||
на малую скорость. Время |
|
|
окончан я высыпан я цемента в |
|
|
воду сч тают началом затворе- |
Рис. 5.1. Смеситель для приготовления |
|
ния. Через 90 |
с смес тель оста- |
|
навливают на 15 с, в течение ко- |
цементного теста: 1 – чаша; 2 – лопасть |
|
торых скребком снимают тесто, налипшее на стенках чаши. Затем вновь включают смеситель на малую скорость и продолжают перемешивание еще в течение 90 с. Суммарное время перемешивания должно составлять 3 мин, не считая времени остановки.
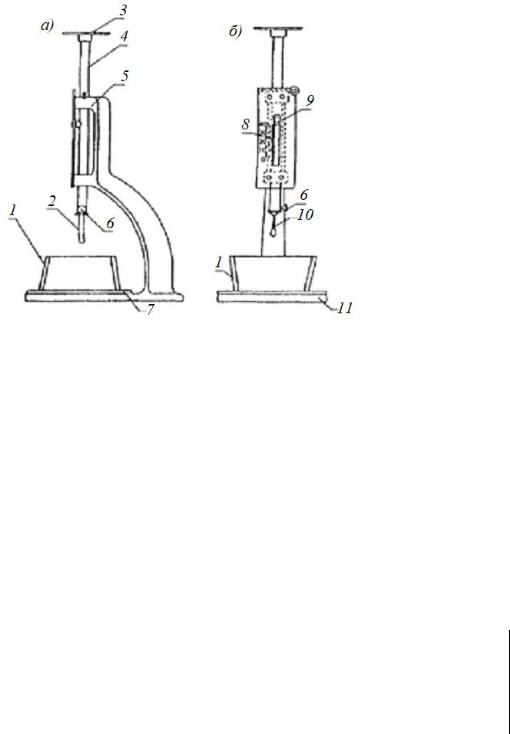
Нормальную густоту цементногоДтеста определяют на приборе Вика с пестиком (рис. 5.2). Перед началом испытания проверяют свободное перемещение стержня и нулевое показание прибора. Кольцо и
цо, заполняя его с избытком, но без уплотнения. теста срезают ножом, протертым влажной тканью, вровень с краями кольца.
пластинку смазывают тонким слоем машинного масла. Приготовленное цементное тесто за одинИзбытокприем переносят в коль-
Кольцо с пластинкой устанавливают на основание станины прибора Вика, опускают пестик до соприкосновения с поверхностью цементного теста в центре кольца и в этом положении закрепляют стержень стопорным устройством. Через 1…2 с освобождают стержень, предоставляя пестику свободно погружаться в цементное тесто. Время от начала затворения до начала погружения пестика в цементное тесто должно составлять 4 мин. Через 30 с после освобождения стержня фиксируют по шкале прибора глубину погружения пестика в цементное тесто.
47
|
|
|
|
|
|
|
Рис. 5.2. Прибор Вика: |
||||
|
|
|
|
|
|
|
а – положение кольца при оп- |
||||
С |
|
|
|
ределении нормальной густоты |
|||||||
|
|
|
|
и начала схватывания; |
|||||||
|
|
|
|
б – положение кольца при оп- |
|||||||
|
|
|
|
ределении конца схватывания: |
|||||||
|
|
|
|
|
|
|
|||||
|
|
|
|
|
|
|
1 – кольцо; 2 – пестик; |
||||
|
|
|
|
|
|
|
3 – пригруз; 4 – цилиндриче- |
||||
|
|
|
|
|
|
|
ский металлический стержень; |
||||
|
|
|
|
|
|
|
5 – обойма станины; 6 – сто- |
||||
|
|
|
|
|
|
|
порное устройство; 7 – пла- |
||||
|
|
|
|
|
|
|
стинка; 8 – шкала; 9 – указа- |
||||
|
|
|
|
|
|
|
тель; 10 – игла; 11– основание |
||||
|
|
глубина |
|
станины |
|
|
|||||
|
|
|
|
|
|
|
|||||
|
иНормальной густотой цементного теста считают такую кон- |
||||||||||
|
систенц ю, при которой пестик прибора Вика не доходит на |
||||||||||
|
(6±1) мм до пласт нки. |
|
|
|
|
|
|
|
|||
|
Если |
|
|
А |
|
|
|||||
|
|
погружения пестика окажется меньше или больше |
|||||||||
|
указанной, испытания повторяют, соответственно увеличивая или |
||||||||||
|
уменьшая количество воды затворения до погружения пестика на |
||||||||||
|
требуемую глубину. |
|
Д |
||||||||
|
Результаты определения записывают в табл. 5.2. |
|
|
||||||||
|
|
Определение нормальной густоты цементного теста |
Таблица 5.2 |
||||||||
|
|
|
|
||||||||
|
|
|
|
|
|
|
|
|
|
|
|
|
|
Показатель |
|
|
|
Номер опыта |
|
|
|||
|
|
|
1 |
|
2 |
|
3 |
|
|||
|
|
|
|
|
|
|
|
|
|||
|
Расход цемента, г |
|
|
|
|
|
|
|
|
|
|
|
Расход воды, мл |
|
|
|
|
|
|
|
|
|
|
|
Отчет по шкале, мм |
|
|
|
|
|
|
|
|
|
|
|
Нормальная густота, % |
|
|
|
|
И |
|
||||
|
Результат вычисления округляют |
до 0,25%. |
|||||||||
48
Сроки схватывания цементного теста определяют на приборе Вика (см. рис. 5.2) с иглами (длинной и короткой).
При определении начала схватывания в нижний конец стержня прибора Вика вставляют длинную иглу и проверяют готовность прибора к проведению испытания, чистоту поверхности и отсутствие искривлений иглы.
Готовят цементное тесто нормальной густоты (см. подр. 2). Це- |
||
ментное тесто переносят в кольцо. Иглу опускают до соприкоснове- |
||
ния с поверхностью цементного теста и в этом положении закрепляют |
||
С |
|
|
стержень стопорным устройством. Через 1…2 с освобождают стер- |
||
жень, предоставляя |
гле сво одно погружаться в цементное тесто. |
|
Иглу погружают в тесто через каждые 10 мин, передвигая кольцо по- |
||
сле каждого погружен я таким о разом, чтобы каждое последующее |
||
погружен е глы |
|
на расстоянии не менее 10 мм от мест |
находилось |
|
|
предыдущ х погружен й и от края кольца. После каждого погруже- |
||
ния иглу прот рают. |
|
|
Началом схватывания считают время от начала затворения |
||
цемента до момента, когда игла при проникновении в цементное |
||
тесто не доходит до пластинки на (4±1) мм. |
||
Результат определения записывают с округлением до 5 мин. |
||
бА |
||
Для определения конца схватывания длинную иглу в приборе Вика заменяют на короткую с кольцеобразной насадкой. Кольцо с цементным тестом переворачивают таким образом, чтобы определе-
цементного теста, погружение иглыДвыполняют с интервалом 30 мин. При приближении конца схватывания интервалы времени между погружениями могут быть сокращены.
ние конца схватывания проводить на поверхности, контактировавшей
с пластинкой. Иглу опускают до соприкосновения с поверхностью И
Концом схватывания считают время от начала затворения цемента до момента, когда игла проникает в цементное тесто не
более чем на 0,5 мм, что соответствует положению иглы, при котором кольцеобразная насадка впервые не оставляет отпечатка на поверхности цементного теста.
Результат определения записывают с округлением до 15 мин.
49
Прочность цемента определяют при испытании на изгиб и сжатие стандартных образцов-балочек размером 40×40×160 мм, изготовленных из стандартного цементного раствора, состоящего из цемента и полифракционного песка в соотношении 1:3 по массе при водоцементном отношении, равном 0,50, и твердевших 28 суток
С4.1. Пр готовлен е стандартного цементного раствора
в нормальных условиях.
димоготертую влажной тканью чашу смесителя выливают воду и добавляют цемент, после чего смеситель включают на малую скорость. Дальнейшая процедура пр готовления цементного раствора приведена в табл. 5.3.
Для пр готовлен я одного замеса цементного раствора, необходля зготовлен я трех о разцов-балочек, взвешивают 450 г цемента, спользуют одну упаковку стандартного полифракционного
песка массой 1350 г отмеривают 225 г воды.
б |
Таблица 5.3 |
|
|
|
|
Порядок приготовления цементного раствора |
||
|
|
|
Наименование и последовательность |
Скорость |
Продолжительность |
|
||
Авращения |
операции, с (±1) |
|
операций |
лопасти |
|
|
|
|
Перемешивание цемента с водой |
Малая |
30 |
Дозирование песка |
|
30 |
Перемешивание цементного раствора |
Большая |
30 |
Д |
||
Остановка (сбор цементного раствора |
||
со стенок чаши в середину) |
|
90 (первые 15) |
|
|
|
Перемешивание цементного раствора |
Большая |
60 |
Песок высыпают в дозирующее устройство смесителя. В про-
4.2. Изготовление образцовИ
Для изготовления образцов используют трехгнездовые разъемные формы. Перед изготовлением образцов внутреннюю поверхность стенок формы смазывают тонким слоем машинного масла. Форму устанавливают на платформу встряхивающего стола и закрепляют.
Из чаши смесителя лопаткой отбирают поочередно три порции цементного раствора массой около 300 г каждая и заполняют первым
50