Вариант 15.
ечение № 1 – двутавр с параллельными гранями полок типа Б (балочный), проф ль 26Б1.
ечен е № 2 – гнутый стальной швеллер 160х80х4.
С |
|
Вариант 16. |
|
|
|
|
|
и |
|
|
|
б |
|
||
|
А |
||
Сечение №1 – уголок 110х110х7; |
|
||
Сечение № 2 – уголок 100х63х8. |
|
||
|
|
Д |
|
|
|
|
И |
26
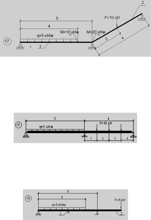
Вариант 17.
С |
|
из |
|
Угол наклона элемента к горизонту элемента 2 равен 45º |
|
ечен е № 1 – коро ка |
гнутых стальных швеллеров 200х80х4; |
б |
|
ечен е № 2 – коро ка из двутавров с параллельными гранями полок, |
|
проф ль 36ДБ1. |
|
|
Вариант 18. |
А |
|
Сечение №1 – два уголка 160х100х10; |
|
Сечение № 2 – два швеллера с параллельными гранями полок, профиль |
|
22 аП. |
И |
ВариантД19. |
|
Сечение №1 – профиль гнутый замкнутый сварной прямоугольный «Молодечно» 150х100х8; Сечение № 2 – тавр с параллельными гранями полок типа КУ, профиль
13 КУТ1.
27
Вариант 20.
С |
|
|
|||
ечен е №1 – четыре уголка 70х70х7; |
|
||||
ечен е № 2 – четыре уголка 80х650х5. |
|
||||
и |
|
||||
|
|
|
|
Контрольные вопросы |
|
1. |
|
образом |
|
||
Что пон мается в ПК ЛИРА-САПР под термином «Жесткость». |
|||||
2. |
Как м |
|
|
задать со ственный вес конструкции? |
|
3. |
С помощью как х инструментов можно включить отображение |
||||
значен й на эпюрах? |
|
||||
4. |
В какой |
форме программе «Лира – |
» выдает результаты |
||
расчетов? |
|
САПР |
|
||
|
|
|
|||
5. |
Приведите состав отчета о расчете балки? |
|
|||
6. |
Какие типы конечных элементов вы примените для расчета балки? |
||||
7. Перечислите основные типы конечных элементов. Д И
28
Тема: Формирование и документирование результатов расчетов для Заказчика и экспертизы
Лабораторная работа № 7 С
Формирование и документирование результатов расчетов в ПК Лира-Сапр
Цель: Изучен е приемов и выработка навыков создания отчетов
по результатам проектирования строительных конструкций.
Задан е |
сходные данные |
|
На |
пр мере |
расчета двухопорной балки изучить алгоритм |
форм рован я отчета. Сформировать отчет. |
||
В состав отчета входят: |
||
1. |
Схемы |
(из графического контейнера): |
нумерации |
||
|
1.1. Узлов; |
|
|
1.2. Элементов; |
|
|
1.3. Жесткостей элементов. |
|
2. |
(из интерактивных таблиц): |
|
|
Таблицы |
|
|
2.1. Узлов; |
|
|
2.2. Жесткостей. |
|
3. |
Таблицы нагрузок. |
|
4. |
Результаты статического расчета: |
|
|
|
А |
|
4.1. Эпюры усилий (напряжений) в элементах; |
|
|
4.2. Таблицы усилий (напряжений) в элементах. |
|
5. |
Результаты расчета по деформациямД: |
|
1.Приведите состав отчета о расчете конструкцииИв ПК Л РА.
2.Приведите порядок формирование стандартных и интерактивных таблиц результатов?
3.С помощью каких инструментов можно создать отчет о расчете конструкции?
4.Из каких пунктов состоит алгоритм расчета балки.
5.Какие типы конечных элементов вы примените для расчета балки?
6.Перечислите инструменты для анализа результатов расчета в ПК ЛИРА.
7.Назовите назначение инструмента «Графический контейнер».
29
|
Раздел 4. Моделирование работы и расчет стальных |
|||||
|
|
строительных конструкций |
|
|||
Тема: Моделирование стальных конструкций в Лира-Сапр |
||||||
|
|
|
Лабораторная работа № 8 |
|
||
|
Моделирование стальных конструкций в Лира-Сапр» |
|||||
Цель: Изучен е приемов и выработка навыков расчета стальной |
||||||
плоской рамы здан я. |
|
|
|
|
||
Задан е |
сходные данные |
|
|
|
||
С |
|
|
|
|
|
|
Для существующего однопролетного здания необходимо |
||||||
запроект |
ровать антресольный этаж, как показано на рис. 5. |
|
||||
и |
|
|
|
|||
|
б |
Проектируемое |
|
|||
|
|
|
|
|
||
|
|
|
|
перекрытие |
|
|
|
|
А |
|
|
||
|
|
|
Д |
|
||
|
|
|
12000 |
|
|
|
|
À |
|
|
|
Á |
|
|
|
|
Рис. 5. Плоская рама каркаса |
|
|
|
Для |
расчета |
|
И |
|||
пространственного |
каркасного |
здания |
||||
пространственную расчетную схему сооружения можно представить в |
||||||
виде ряда плоских рам. |
|
|
|
|
||
Здание имеет каркас, выполненный из железобетонных (ЖБ) |
||||||
элементов. Колонны (ЖБ 400х400) жестко крепятся к фундаментным |
||||||
плитам с помощью анкерных болтов. На колонны опирается ферма, с |
||||||
последующим опиранием на нее железобетонных плит. К колоннам |
||||||
крепятся плиты стенового ограждения. |
|
|
|
|||
30