Материал: 1518

Внимание! Если размещение файла нарушает Ваши авторские права, то обязательно сообщите нам

Тема: Расчет двухопорной балки

Лабораторная работа № 6 Расчет двухопорной балки в ПК Лира-Сапр

Цель: Изучение алгоритма и приемов расчета балок.

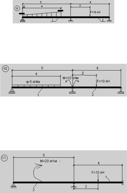
Задание и исходные данные

Во всех вар антах необходимо создать расчетную схему, выполнить

расчет постро ть эпюры изгибающих моментов Му и поперечных сил

Qz. По выполненному расчету необходимо сформировать отчет в

С

 

электронном в де.

 

Расчетная схема (расстояния на расчетной схеме даны в метрах).

Вар анты заданий для лабораторной работы

и

 

Вариант 1.

 

Сечение №1 - стальной двутавр, профиль №14;

б

 

Сечение № 2 – Стальной швеллер, профиль №12.

А

Вариант 2.

 

Д

Сечение №1 - стальной уголок 50х50х3;

И

 

Сечение № 2 – стальной уголок 75х50х5 .

21

Вариант 3.

ечение №1 коробка из стальных швеллеров с уклоном внутренних граней полок, проф ль №14;

ечен е № 2 –коробка из стальных двутавров с параллельными гранями

и

 

полок, проф ль №20Б3.

 

С

 

Вариант 4.

 

А

Сечение №1 – два стальных равнополочных уголка 75х750х6;

Сечение б№ 2 – два швеллера с уклоном внутренних граней полок,

профиль №12.

 

 

 

 

Вариант 5.

 

 

Д

Сечение №1 – профиль

И

квадратный гнутый замкнутый сварной

«Молодечно» 140х140х5; Сечение № 2 – тавр с параллельными гранями полки типа Б.

22

Вариант 6.

С

 

ечен е №1 – четыре уголка 56х56х4;

б

ечен е № 2 – четыре уголка 80х50х5.

и

Вариант 7.

А

 

Д

Сечение №1 – два стальных швеллера с параллельными гранями полок,

профиль 14;

И

 

Сечение № 2 – коробка из двутавров с параллельными гранями полок типа Б (балочный), профиль №20Б.

Вариант 8.

Сечение №1 – двутавр с параллельными гранями полок типа Б (балочный), профиль 20Б1; Сечение № 2 – швеллер с уклоном внутренних граней полок, профиль №16.

23

Вариант 9.

С

 

ечение №1 – стальной уголок равнополочный 75х75х6;

ечение № 2 – стальной уголок неравнополочный 125х80х8 .

и

Вариант 10.

 

б

Сечен е №1 – коро ка из стальных швеллеров с уклоном внутренних

А

граней полок, профиль №18;

 

Сечение №2 – коро ка из двутавров с параллельными гранями полок

типа Б (балочный), профиль 23Б1;

 

Вариант 11.

 

Д

 

И

Сечение №1 – два стальных уголка неравнополочных 56х36х5; Сечение №2 – два стальных швеллера с уклоном внутренних граней полок, профиль 18;

24

Вариант 12.

ечен е №1 – профиль квадратный гнутый замкнутый сварной «Молодечно» 150х110х8;

ечен е № 2 – тавр с непараллельными гранями полки 1/2 от двут. 24.

С

 

и

Вариант 13.

 

б

А

Сечение №1 – четыре уголка 70Дх70х4,5; Сечение № 2 – четыре уголка 70х45х5.

Вариант 14.

И

 

Сечение №1 – два стальных швеллера с уклоном внутренних граней полок, профиль 16а; Сечение № 2 – коробка из двутавров с параллельными гранями полок

типа Б (балочный), профиль 23Б1.

25