5. Вывод по лабораторной работе. Вывод − это ответ на поставленную цель работы.
На лабораторную работу отводится от 4 до 6 часов. Если студент не успел выполнить лабораторную работу в указанное время, ему следует закончить работу во внеурочное время в присутствии лаборанта.
После выполнения лабораторной работы студент отчитывается перед преподавателем о результатах экспериментальных исследований. Дома студент оформляет работу и защищает ее на следующем занятии перед получением новой работы. Работа сч тается зачтенной, если в ней соблюдены все требования к
ее оформлен ю |
нет замечаний по ее выводам. |
|
После выполнен я всех работ студент получает общий зачет по лабора- |
||
выполнивший |
|
|
торным работам |
допуск к зачету. |
|
Студент, не |
|
выше изложенные требования, не допускается к |
зачету до полного выполнения комплекса лабораторных работ, предусмотрен-
ных программой. б А Д И
6
Лабораторнаяработа№1 Диагностированиедвигателявцелом
Цель работы: научиться производить контрольный осмотр автомобиля и двигателя, проверять уровень масла в картере двигателя, охлаждающей жидкости в расширительном бачке, производить контрольный пуск двигателя и оце-
С |
|
|
нивать его работу. |
|
|
Задачи: |
|
|
1. |
Изучить порядок выполнения работы и требования к выполнению ла- |
|
|
бораторных работ. |
|
2. |
На конкретном автомобиле или стенде произвести осмотр двигателя. |
|
звести |
||
|
Результаты осмотра оформить в виде карты осмотра. |
|
3. |
Провер ть уровень масла и охлаждающей жидкости. |
|
4. |
Про |
запуск двигателя и оценить его работу по характерным |
пр знакам.
5. бильделать отчет по выполненной работе. Сформулировать вывод. Обеспечен ера оты- автомо , двигатель, ветошь, набор инструмента.
Времявыполнен я: 4 часа.
Последовательностьвыполнениялабораторнойработы:
Про звести внешний осмотр автомобиля. Убедиться в отсутствии подтеканий топлива, охлаждающейАжидкости и моторного масла. Произвести внешний осмотр двигателя и навесного оборудования, установленного на нем. Произвести пуск двигателя, прослушать его работу, произвести контроль работы по встроенным при орам.
Оценить работу двигателя на различных режимах работы. Осмотр производить по картеДосмотра (таблица 1).
И
7
|
|
|
|
|
|
|
Таблица 1 |
|
|
|
|
Карта осмотра двигателя |
|||||
|
|
|
|
|
|
|
|
|
|
Автомобиль |
|
|
|
Двигатель |
|
|
|
|
|
|
|
|
|
|
|
|
|
Объект осмотра |
|
Предмет осмотра |
Исправно |
|
Неисправно (ука- |
|
|
С |
|
|
|
|
зать конкретно) |
|
||
|
|
|
|
|
|
|
|
|
|
|
|
|
|
|
|
|
|
|
истема охлаж- |
|
-подтекания |
|
|
|
|
|
|
ден я |
|
-состояние шлан- |
|
|
|
|
|
|
|
|
гов |
|
|
|
|
|
истема |
|
|
|
|
|
|||
|
|
|
- уровень охлаж- |
|
|
|
|
|
|
|
|
дающей жидко- |
|
|
|
|
|
|
|
|
сти |
|
|
|
|
|
|
п тан |
я: |
-подтекания |
|
|
|
|
|
|
|
|
-состояние шлан- |
|
|
|
|
|
|
|
|
гов и тру ок |
|
|
|
|
|
|
|
|
|
|
|
|
|
|
|
Система смазки |
|
-подтекания, |
|
|
|
|
|
|
|
|
-состояние шлан- |
|
|
|
|
|
|
|
|
гов и тру ок |
|
|
|
|
|
|
б-уровень масла |
|
|
|
|
|||
|
|
|
-состояние масла |
|
|
|
|
|
|
Навесное обору- |
-состояние |
|
Д |
|
|
||
|
дование |
|
-крепление |
|
|
|
||
|
|
А |
|
|
|
|||
|
Работа двигателя: |
-легкость пуска |
|
|
|
|||
|
|
|
-плавность рабо- |
И |
|
|||
|
|
|
ты |
|
|
|||
|
|
|
-наличие шумов |
|
||||
|
|
|
и стуков |
|
|
|||
|
|
|
|
|
|
|
|
|
|
|
|
|
|
|
|
|
|
|
Прочие отметки |
|
|
|
|
|
|
|
|
Заключение по |
|
|
|
|
|
|
|
|
результатам ос- |
|
|
|
|
|
|
|
|
мотра |
|
|
|
|
|
|
|
|
|
|
|
|
|
|
|
|
|
Составить |
отчет о проделанной работе в |
установленной форме |
|||||
(см. п.2 стр. 6-7).
8
|
Контрольные вопросы и задания |
1. |
На что влияет уровень масла в двигателе? |
2. |
Какие жидкости рекомендуется использовать в качестве охлаж- |
дающей для ДВС? |
|
3. |
По каким параметрам подбирается моторное масло для двигателя? |
С |
|
4. |
Опишите наиболее вероятные характерные шумы в ДВС при его |
работе. |
|
5. |
Как е опасности несёт в себе подтекающее топливо? |
Лабораторная работа № 2
|
|
|
Дефектовка лока цилиндров двигателя и гильз |
|
|
работ |
средств и |
||
Цель ра оты: закрепление и развитие знания, способов, |
||||
техн |
дефектовки цилиндров двигателя и гильз, приобретение практиче- |
|||
скихнавыков определения дефектов и их сочетаний, использования средств |
||||
контроля |
руководства по капитальному ремонту автомобилей, |
уяснение |
||
характера |
|
А |
|
|
|
, выполняемых дефектовщиком. |
|
||
Задачи: |
|
|
||
1. |
Подготовка исходных данных для дефектовки деталей; |
|
||
2. |
Сортировка деталей по результатам контроля. |
|
||
3. |
Назначение способа ремонта. |
|
||
4. |
|
|
Д |
|
Оформление отчета о результатах работы. |
|
|||
Обеспечение работы – блок цилиндров двигателя, лабораторный стол, лупа 4-кратного увеличения, штангенциркуль ШЦ-П-250-0,05 (ГОСТ 166-80), микрометр рычажный МР-100 (ГОСТ 4381-80), индикаторный нут-
ромер НИ 60-80 ГОСТ 868-82), ветошь, набор инструмента.
Время выполнения: 4 часа.
Конструктивно-технологическая характеристика деталей. Основ-
И
ные конструктивные элементы блока цилиндров: стенки рубашки охлаждения и верхнего картера, посадочные отверстия под втулки распределительного вала, посадочные отверстия под гильзу, гнезда под вкладыши коленных подшипников; привалочные поверхности под головку блока, крышку распределительных шестерен, картера сцепления и др. Конструктивные элементы гильзы – отверстие под поршень, посадочная и наружная поверхности, буртик. Блок цилиндров относится к классу «толстостенных корпусных деталей», гильза – к классу «полых цилиндров». Заготовки получают
9
отливкой и подвергают низкотемпературному отжигу и старению. Требования к точности размеров в пределах квалитетов 4–7, отклонения формы (нецилиндричность, неплоскостность и др.) не должны превышать 0,010– 0,020 мм, отклонения расположения (непараллельность, неперпендикуляр-
ность и др.) – 0,020-0,050 мм на 100 мм длины. Си
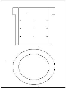
бРисА. 1. Схема о мера отверстий гильз цилиндров
Установочной азой служат: для блока – привалочная поверхность масляного картера, для гильзы – фаски отверстия под поршень.
Вид и характер дефектовД. Способы их устранения. В процессе ра-
боты двигателя на блок цилиндров и гильзу воздействуют силы трения, внутренние напряжения в металле, вибрация, агрессивность среды и др. Все
это приводит к износам (∆ИЗН до 0,150 мм, ∆НЕЦИЛ до 0,120 мм), нарушениям качества поверхности (задиры, риски, коррозияИ), механическим поврежде-
ниям (трещины, отколы, дефекты резьб) и отклонениям расположения (непараллельность, неперпендикулярность и др.).
Износы, механические и коррозионные повреждения устраняются обработкой деталей под ремонтные размеры (РР) или постановкой дополнительных ремонтных деталей (ДРД), заваркой в среде аргона, а также синтетическими материалами. Деформации различного характера устраняются слесарно-механической обработкой.
Последовательность выполнения: ниже приводится технологиче-
ская инструкция на дефектовку блока и гильзы у цилиндров (табл. 2).
10