Материал: 134

Внимание! Если размещение файла нарушает Ваши авторские права, то обязательно сообщите нам

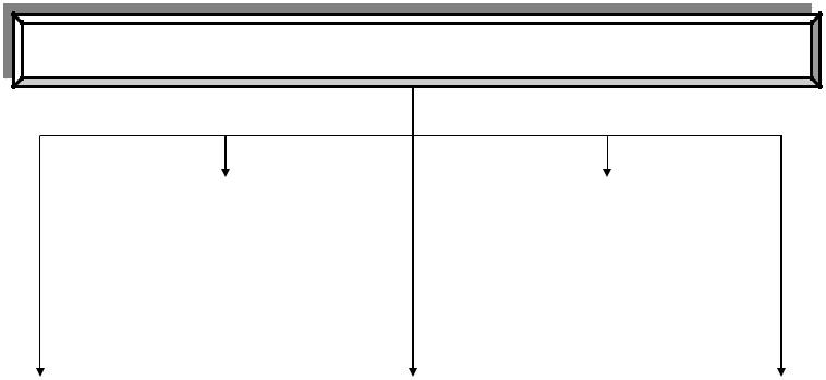
Схема 27

ВИДЫ ОБЫСКА

По объекту

Помещений

Личный

Транспортных

средств

Участков

местности

По последовательности

 

По времени (при наличии

 

нескольких подозреваемых

проведения

 

 

или обвиняемых)

 

 

 

 

 

 

 

 

Первоначальный

 

Разновременный

(первичный)

 

 

 

 

 

 

 

Одновременный

Повторный

 

 

 

 

31

Схема 28

ПОДГОТОВКА К ОБЫСКУ

Сбор необходимых ориентирующих сведений

Вынесение постановления; получение санкций прокурора

Определение времени обыска

Подбор участников обыска

Составление плана проведения обыска

Подготовка технических средств

32

Схема 29

ПОРЯДОК ДЕЙСТВИЙ ПРИ ОБЫСКЕ ПОМЕЩЕНИЙ

Прибытие к месту обыска

Проникновение в помещение

Предъявление своих документов; объявление о предстоящем обыске; ознакомление владельца помещения с постановлением, предложение всем присутствующим собраться

в одной комнате; установление личности каждого, разъяснение им их прав и обязанностей

Предложение владельцу помещения выдать искомые предметы

Ознакомление с помещением, подлежащему обыску; определение наиболее вероятных мест хранения искомого; уточнение плана обыска; распределение обязанностей между обыскивающими, их инструктаж

Проведение поисков (обследование помещения, его составных частей и отдельных предметов)

Фиксация хода и результатов обыска

33

Схема 30

МЕТОДЫ ОБЫСКА

По последовательности

поисков

С соблюдением

последовательности

(последовательный)

Без соблюдения

последовательности

По направлению движения лиц, ведущих поиски

Параллельный

Встречный

По характеру действий в отношении обследуемых объектов

Без нарушения

целостности

объектов

С нарушением

целостности

отдельных объектов

По числу лиц, ведущих поиски

Одиночный

Групповой

34

ТАКТИКА ДОПРОСА

Схема 31

ОБЩИЕ ПОЛОЖЕНИЯ ТАКТИКИ ДОПРОСА

Строжайшее соблюдение

 

Активность

законности, а также

 

и целеустремлённость

морально-этических норм

 

следователя

 

 

 

Необходимость

 

Стадийность

 

 

установления

 

 

Ситуационность

 

(последовательность)

 

и поддержания

 

 

 

 

допроса

 

допроса

 

психологического контакта

 

 

 

 

 

 

 

 

 

с допрашиваемым

 

 

 

 

 

 

 

 

 

35