Материал: 1145

Внимание! Если размещение файла нарушает Ваши авторские права, то обязательно сообщите нам

6

3Общие вопросы исследования

Вкурсовой работе используется методика анализа наезда автомобиля на пешехода.

ВПравилах дорожного движения «пешеход» - это лицо, находящееся вне транспортного средства на дороге и не производящее на ней работу. «Наездом автомобиля на пешехода» считается такое ДТП, в процессе которого пешеход получил телесные повреждения или погиб в результате контакта с движущимся автомобилем.

Студенту, в зависимости от выданного преподавателем варианта задания, предлагается методика экспертного исследования одного из видов наезда.

1 Наезд на пешехода при неограниченной обзорности и равномерном движении автомобиля.

2 Наезд на пешехода при неограниченной обзорности и замедленном движении автомобиля.

3 Наезд на пешехода при равномерном движении автомобиля и обзорности, ограниченной неподвижным препятствием.

4 Наезд на пешехода при замедленном движении автомобиля и обзорности, ограниченной неподвижным препятствием.

Впроцессе исследования необходимо так же построить тормозную диаграмму автомобиля и произвести расчет возможности объезда пешехода.

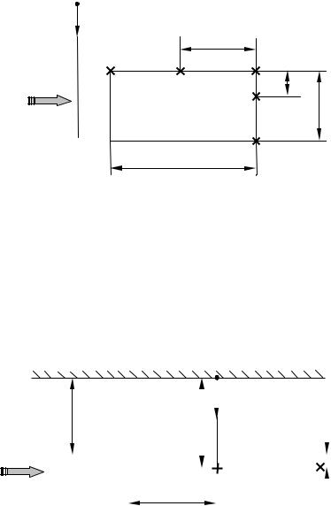
При наезде удар пешеходу может быть нанесен одной из частей автомобиля (рис.1):

1 Дальним передним углом.

2 Передней частью.

3 Ближним передним углом.

4 Боковой поверхностью.

5 Задним углом.

7

П

 

lx

 

5

 

 

4

3

ly

2

 

Ba

 

 

 

1

 

La

 

 

Рис. 1 Место удара на автомобиле

4Последовательность исследования

4.1Наезд на пешехода при неограниченной видимости и обзорности

(рис. 2).

 

 

 

 

 

П

 

 

y

Sп

 

 

 

 

 

 

 

 

 

 

 

 

 

 

 

 

 

 

ly

 

 

 

 

 

 

 

 

 

 

 

I

 

 

 

II

 

 

 

 

Sуд

 

 

 

 

 

 

 

 

 

 

 

 

 

 

 

 

 

 

 

 

 

 

 

 

 

 

 

 

 

 

 

 

 

 

 

Рис. 2 Схема наезда при равномерном движении автомобиля с ударом, нанесенным пешеходу передней частью автомобиля: I – положение автомобиля в момент возникновения опасной обстановки; II – положение автомобиля после остановки

Исследование данного случая ДТП проводят в следующем порядке. Удаление автомобиля от места наезда

Sуд = Va tп =

VaSп

.

(1)

 

 

Vп

 

8

Длина остановочного пути

 

 

 

 

 

 

 

 

 

 

 

 

 

V 2

(2)

So = (t1 + t2

+ 0,5t3) Va +

 

a

,

 

 

 

 

 

 

 

 

 

 

 

 

 

 

 

 

 

2 j

 

или в случае, если имеется след юза

 

 

 

 

 

 

 

 

 

 

 

 

 

 

 

So = (t1 + t2 + t3) Va + Sю ,

(3)

 

 

 

 

=

V 2

 

 

 

 

 

 

 

 

 

где

 

S

 

 

ю

,

 

 

 

 

 

 

 

(4)

 

ю

 

 

 

 

 

 

 

 

 

 

 

 

 

 

2 j

 

 

 

 

 

 

 

 

 

 

 

 

 

 

 

 

 

 

 

 

 

 

 

 

 

Vю =Va 0,5t3 j.

 

 

 

 

(5)

Если So < Sуд, исследование заканчивают.

 

 

 

 

 

Если So Sуд , определяют расстояние, на которое переместился бы авто-

мобиль после пересечения линии следования пешехода

 

S

 

= S

o

 

S

уд

.

 

 

 

 

(6)

пн

 

 

 

 

 

 

 

 

 

 

 

 

 

Скорость автомобиля при пересечении линии следования пешехода

 

 

′ =

 

 

 

 

 

 

 

 

 

 

V

 

2S

j .

 

 

 

 

(7)

н

 

 

 

 

 

пн

 

 

 

 

 

 

 

 

 

Время движения автомобиля с момента возникновения опасной обста-

новки до пересечения линии следования пешехода

 

 

 

 

 

 

 

 

 

 

 

Va

Vн

 

tдн = (t1

+ t2 +

0,5t3 ) +

 

 

 

.

(8)

 

 

 

 

 

 

 

 

 

 

 

 

 

 

 

 

 

j

 

Перемещение пешехода за время

 

 

t

 

 

 

 

 

 

 

 

 

 

 

Sп

 

 

 

дн

 

 

 

 

 

 

 

 

(9)

 

 

= Vпtдн .

 

 

 

 

 

 

 

 

 

 

 

 

 

 

 

 

 

 

 

 

Условие безопасного перехода полосы движения автомобиля пешеходом

Sп′ > (

 

y + Βa + δ ) ,

(10)

где Δδ = 0,005 La Va.

 

 

 

 

 

 

 

 

 

 

 

 

 

 

 

 

 

Если условие выполняется, исследования заканчивают.

Если условие не выполняется, исследования продолжают. Определяют: «Имел ли водитель в данной дорожной обстановке техническую возможность избежать наезда на пешехода путем применения экстренного маневра». Расчеты проводят применительно к маневру типа «смена полосы движения».

В случае, если удар при наезде нанесен боковой поверхностью автомобиля, в расчеты вносят следующую корректировку:

Sуд

=

Va Sп

lx .

(11)

 

 

 

Vп

 

9

4.2 Наезд на пешехода при замедленном движении автомобиля и неограниченной видимости и обзорности (рис. 3).

 

 

 

 

 

 

 

 

 

П

 

 

 

 

 

 

 

 

 

 

 

y

 

 

 

 

 

 

 

 

Sю1

 

 

 

 

 

 

 

 

 

 

 

 

 

 

 

 

 

 

 

 

 

 

 

 

Sуд

Sпн

 

 

 

 

 

 

 

 

 

 

 

 

 

 

 

 

 

 

 

 

 

 

 

 

 

 

 

 

 

 

 

 

 

 

 

 

 

 

 

 

 

 

 

 

 

 

 

 

 

 

 

 

ly

 

 

 

 

 

 

 

 

 

 

 

 

 

 

 

 

 

 

 

 

 

I

 

II

 

 

 

 

 

 

 

 

 

 

 

 

 

 

 

 

 

 

 

III

 

 

 

 

 

 

 

 

IV

 

 

 

 

 

 

 

 

 

 

 

 

 

 

 

 

 

 

 

 

 

 

 

 

 

 

 

 

 

 

 

 

 

 

 

 

 

 

 

 

 

 

La

 

 

 

Sю

 

 

 

 

 

L1

 

 

 

 

 

 

 

Sзап

 

 

 

 

 

 

S0

 

 

 

 

 

 

 

 

 

 

 

 

 

 

 

 

 

 

 

 

 

 

 

 

 

 

 

 

 

 

 

 

 

 

 

 

 

 

 

 

 

 

Рис. 3 Схема наезда в процессе торможения с ударом, нанесенным пешеходу передней частью автомобиля: I – положение автомобиля в момент возникновения опасной обстановки; II – положение начала реагирования водителя на пешехода; Ш – момент удара; IV – положение автомобиля после остановки.

Перемещение автомобиля в заторможенном состоянии после наезда

 

 

Sпн = Sю1 + L1 .

 

 

 

(12)

Скорость автомобиля в момент наезда

 

 

 

 

 

 

 

 

 

 

 

=

 

 

 

.

 

 

 

 

(13)

 

 

 

Vн

2Sпн j

 

 

 

 

Скорость автомобиля перед торможением

 

 

Va = 0,5t3 j +

 

 

.

(14)

 

 

2Sю j

Удаление автомобиля от места наезда

 

 

 

 

 

 

 

 

уд =

V

S

п

 

(V

a

V

н

)2

.

(15)

S

 

a

 

 

 

 

 

 

 

Vп

 

 

 

 

2 j

 

 

 

 

 

 

 

 

 

 

 

 

 

 

 

Если So < S уд, исследование заканчивают.

Если So Sуд , исследования продолжить, как и в п. 4.1.

В случае если удар был нанесен боковой поверхностью автомобиля:

Sуд

=

V

a

S

п

(V

a

V

н

)2

lх ,

(15а)

 

Vп

 

 

 

 

2 j

 

 

 

 

 

 

 

 

 

 

 

 

 

 

 

 

Sпн

= Sю1 + L1 lx ,

(16)

 

 

 

 

 

 

tп

=

y .

 

 

 

(17)

 

 

 

 

 

 

 

 

 

Vп

 

 

 

 

 

10

4.3 Наезд на пешехода автомобиля, движущегося с постоянной скоростью при обзорности, ограниченной неподвижным препятствием (рис. 4).

П

x

 

Е

D

Sп

y

 

 

 

I

 

 

 

ay

 

ly

 

С

II

 

В

 

 

 

ax

Sуд

 

 

Рис. 4 Схема наезда автомобиля на пешехода при равномерном движении и обзорности, ограниченной неподвижным препятствием: I – начало видимости пешехода водителем; II – момент наезда

Дополнительным построением вычерчиваются «треугольники обзорности» ВСЕ и ЕДП, из которых записывается геометрическое условие

 

Sуд

+ ax

x

=

 

 

 

x

(18)

 

 

y + ay

Sп

у ly

 

 

 

 

и кинематическое условие

 

 

 

 

 

 

 

 

 

 

 

 

 

Sуд

=

S

п

.

 

(19)

 

 

 

 

 

 

 

 

 

 

 

 

Va

 

Vп

 

 

Из формулы (19) выразить Sп и подставить в (18). Получится уравнение с одним неизвестным

 

S

V

 

(Sуд + ax

 

уд п

x)

 

 

 

Va

 

 

 

y ly = ( y + ay ) x . (20)

В уравнение (20) подставить известные параметры и найти Sуд. Далее исследования продолжить, как и в п. 4.1. до формулы (10).

Условие безопасного перехода полосы движения автомобиля пешеходом

Sп > (S

п + Βa ly ) .

(21)

 

 

В случае, если удар при наезде нанесен боковой поверхностью автомобиля: