Материал: 10-этажный 70-квартирный жилой дом

Внимание! Если размещение файла нарушает Ваши авторские права, то обязательно сообщите нам

При рытье траншей или котлованов в местах движения людей и транспорта вокруг места производства работ устанавливают сплошное ограждение высотой 1,2 м. В ночное время на нем должно быть сигнальное освещение. Расстояние между ограждением и осью ближайшего рельса железнодорожного пути должно быть не менее 2,5.

В пределах призмы обрушения грунта при устройстве траншей и котлованов без креплений запрещается складирование материалов и оборудования, установка и движение машин и механизмов, прокладка рельсовых путей.

До начала разработки траншей и котлованов необходимо выполнить все мероприятия по отводу поверхностных и грунтовых вод. Во избежание оползания грунта при появлении грунтовых вод на откосах выемок следует принять меры к отводу или понижению уровня грунтовых вод (устройство дренажей, лотков или откачка воды).

5.2 Расчет устойчивости откоса котлована

Безопасность труда при разработке котлованов н траншей должна быть обеспечена:

-       устройством откосов при глубине выемки до 5 м в однородных грунтах [11, табл.1];

-       устройством вертикальных откосов без креплений на глубину не свыше 1.5 м в нескальных, незамерзаемых грунтах ненарушенной структуры выше уровня грунтовых вод и при отсутствии вблизи подземных сооружений [11, п. 5.2.4];

-       устройством механических креплений траншей глубиной не свыше 5 м из инвентарных н типовых деталей;

-       устройством деревянных и стальных креплений по расчету при глубине выемки свыше 5 м и в сложных гидрогеологических условиях (переувлажнение» напластование грунтов);

-       извлеченный из выемки грунт необходимо размещать на расстоянии не менее 0,5 м от бровки этой выемки [11, п. 5.3.2]:

-       устройством водоотлива поверхностных дождевых и грунтовых вод;

-       устройством ограждений, указателей и световой сигнализации в опасной зоне у выемки.

-       механизацией работ по планировке дна н откосов котлованов н траншей;

-       организации надзора за безопасностью ведения работ и состоянием устойчивости бортов выемок.

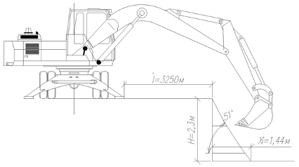
Глубина котлована в проекте составляет 2,3м, грунт суглинок.

Крутизна откоса для суглинка при глубине выемки до 3 м должна быть не более 1:0,5.

Исходные данные:

Вид грунта:                                               суглинок

Плотность грунта:                                    γ=2710 кг/м3

Характеристики связности грунта: С=19кПа

                                                                  φ=20°

                                                                  Р0=5000 кПа

Расчетная часть:

,                                                 (5.1)

где В = Р0*tgφ+C = 5000* tg20° + 19000 = 20820 Па,           (5.2)

А = γ*zi* tgφ,                                                                         (5.3)

Рисунок 5.1 - Схема построения профиля равно устойчивого откоса

Таблица 5.1 - Результаты расчета

Номер слоя

zi, м

γ*zi, Н/м2

tgφ

А= γ*zi* tgφ, ПаА+В, ПаXi=(5)*(10)








1

2

3

4

5

6

7

8

9

10

11

12

1

1

27100

0,364

0,00028

9864

30684

0,679

-0,388

1790

0,498

64

2

2

54200

0,364

0,00014

19729

40549

0,513

-0,667

5850

0,815

51

3

0,3

8130

0,364

0,00093

2959

23779

0,876

-0,133

192

0,179

80



Рисунок 5.2 - Схема безопасной установки экскаватора

5.3 Меры пожарной безопасности на стройплощадке

Все строительно-монтажные работы производятся в соответствии с правилами пожарной безопасности в Российской Федерации.

Стройгенплан разрабатывают с учетом всех требований пожарной безопасности. Должны быть правильно определены противопожарные разрывы между строящимися сооружениями, подсобными предприятиями, складами. Необходимо предусмотреть соответствующие площади строительства, количество въездов, площадок для разворота пожарных автомобилей, обеспечить свободный подъезд ко всем строящимся и эксплуатируемым зданиям.

Строительную площадку следует постоянно содержать в чистоте. Строительные отходы (обрезки лесоматериалов, щепу, кору, стружку, опилки и т. п.) ежедневно убирают с места выполнения работ и с территории строительства. Можно временно хранить горючие отходы на территории строительства на площадке, расположенной в 30м от строящихся и подсобных зданий. Отходы, поступающие на площадку, разрешается хранить не более трех суток. Здесь организуют раздельное хранение обрезков древесины, щепы и опилок. Опилки ссыпают в специальные места или ящики. Тряпки, обрывки бумаги, картона, рубероида держат отдельно от древесных отходов. Разводить костры для сжигания мусора, отходов, разогрева битума, обогрева рабочих и т. п. на территории строительства запрещается.

На всех участках строительства, где это требуется по условиям работы, возле оборудования, машин и механизмов, на подъездных путях, автомобильных дорогах и в других опасных местах должны быть вывешены хорошо видимые, а в темное время суток освещенные предупредительные и указательные надписи или знаки безопасности, плакаты и инструкции по технике безопасности.

Основную пожарную опасность при производстве строительно-монтажных работ представляет неисправное электрооборудование или токоведущие части, сгораемый утеплитель и рулонные кровельные материалы; легковоспламеняющиеся и горючие жидкости, клеи, мастики, битумы и полимерные материалы; сварочные и другие виды огневых работ; сушка помещений.

Значительную опасность в пожарном отношении представляют лесоматериалы. Расходные склады этих материалов на строительной площадке располагают от строящихся зданий на расстоянии 30м для пиломатериалов и 15м - для круглого леса. Штабеля пиломатериалов могут занимать участок не более 750м2. Если этой площади недостаточно, отводят другой участок на расстоянии не менее 25м от первого. При хранении лесоматериалов особенно важно систематически очищать склад от горючих отходов и сухой травы. Кору, щепу, стружки сразу увозят или складывают на специально отведенной площадке, расположенной не ближе 80м от границ склада лесоматериалов, строящихся объектов, временных зданий и сооружений.

Все лесоматериалы укладывают в штабеля, соблюдая при этом противопожарные разрывы. Из круглого леса делают штабеля шириной, равной длине бревна, длиной не более 100м, высотой не более 1,5м. Из пиломатериалов оформляют штабеля, высота которых при рядовой укладке должна составлять не более половины ширины штабеля, а при укладке в клетки - не более его ширины. По длине и ширине штабель не должен превышать длины доски (бруса), а по высоте - 8м. Разрывы между штабелями принимают равными не менее 1м.

Битумные мастики, разогреваемые в котлах, представляют большую опасность пожаров, и при работе с ними следует соблюдать особую осторожность. На рабочие места их доставляют в металлических бачках, заполненных не более чем на 2/3. Температура мастики не должна превышать 180° С. Внутри помещений битумные составы подогревают в электрических бачках специальной конструкции.

При проведении огневых работ место проведения работ должно быть обеспечено средствами тушения пожара. Все огневые работы следует заканчивать до начала устройства сгораемых полов, укладки сгораемой теплоизоляции, отделочных работ, связанных с применением сгораемых материалов.

Для сушки помещений строящихся зданий применяют газовые горелки инфракрасного излучения и воздухонагреватели, работающие на газе или жидком топливе. Воздухонагреватели, работающие на газе или жидком топливе, используемые для сушки помещений, должны быть только заводского изготовления.

6. ЭКОЛОГИЧНОСТЬ ПРОЕКТА

Здания и сооружения оказывают большое влияние на окружающую среду. Их появление вызывает значительные изменения в воздушной и водной средах, в состоянии грунтов участка строительства. Непродуманные технологии, организация и само производство работ определяют большие затраты энергии и материалов, высокую степень загрязненности окружающей среды. Процесс строительства является относительно непродолжительным. Взаимодействие здания или сооружения с окружающей средой, его характер и последствия определяются в период длительной эксплуатации, отсюда вытекает важность этого периода в определении экологичности проекта.

В процессе проектирования необходим тщательный учет экологических последствий принимаемых решений. Экологический подход должен быть выдержан при решении как объемно-планировочном, так и конструктивном; при выборе материалов для строительства, при определении технологии возведения и т. д.

6.1 Мероприятия по охране окружающей среды в процессе строительства

Строящееся здание находиться в городской черте. Рядом со зданием проходит автодорога, которая продувается ветром, что обеспечивает обмен воздуха и отсутствие мест застоя воздуха. Посадки деревьев и кустарников между автодорогой и зданием, запроектированные в благоустройстве территории, ведут к защите от шума автотранспорта. Зеленые насаждения ведут к улучшению газового состава воздуха и его очищению.

Водоснабжение административного здания предусмотрено из городской сети с полным циклом очистки и обезвреживания воды. Хозфекальные воды сбрасываются по сетям на очистные сооружения, где проходят полный цикл очистки и утилизации.

Основные конструкции для жилого здания запроектированы из природных экологически чистых материалов.

С целью уменьшения воздействия вредных производственных факторов для охраны окружающей среды на стадии разработки строительных технологий принимаются технические решения, которые отражаются в проектах производства работ.

Для снижения уровня шума на строительной площадке вводится временное ограничение (запрет работ ночью) для наиболее шумных работ.

Выброс в атмосферу пылевых частиц средних и мелких фракций - наиболее сложно контролируемый параметр. Максимальное количество пылеватых частиц выбрасывается в атмосферу в основном при отделочных работах, таких как шпатлёвка, затирка, покраска. Поэтому обеспечив поставку на строительную площадку предварительно окрашенные изделия и оборудование, можно свести до минимума выброс строительной пыли. Кроме того в процессах, связанных с механическим воздействием на твердые материалы (бурение, шлифовка, выдалбливание и др.) рекомендуется в процессе работы производить увлажнение обрабатываемой поверхности. Это приводит к осаждению пылеватых частиц, связыванию их водой и последующей уборке вместе со строительным мусором.

Уборные с выгребными ямами на стройплощадке могут устраиваться только с разрешения СЭС и Госгортехнадзора. С целью предупреждения заражения почвы и грунтовых вод, при устройстве выгребных ям предусматривают глиняные замки, препятствующие проникновению жидкостей и отходов из ям в грунт. По окончании строительства выгребные ямы должны быть очищены, а грунт вывезен и заменен новым.

На стоянке автотранспорта и строительных машин должен быть полностью привозной грунт. На этой площадке разрешена стоянка и слив масел и нефтепродуктов. После производства работ этот грунт вывозится и заменяется новым. Срезанный растительный слой вновь укладывается или заменяется черноземом, торфом или их смесями.

С самого начала строительства объекта скапливается огромное количество строительного мусора, что может привести к загрязнению прилегающих территорий. Поэтому необходимо наладить чёткую систему сбора и вывоза бытового и строительного мусора с объекта. Сбрасывать с этажей здания отходы и мусор можно только с применением закрытых лотков и бункеров-накопителей. На территории строительной площадки устанавливаются стоящие отдельно контейнеры под строительный мусор, в том числе и под сдаваемые отходы, такие, как металлом, бой стекла, кирпича, бытовой мусор. По мере наполнения контейнеры вывозят на городские свалки, полигоны или пункты приёма отходов стройматериалов. Подрядная организация заключает договора с местными администрациями на использование свалок и полигонов, с указанием планируемых объёмов отходов.

Серьёзную экологическую проблему необходимо решать при отводе поверхностных и производственных вод. Планируемый объём стоков должен определятся при проектировании и получении технических условий на водоотведение. Трудности возникают с несанкционированным выпуском на существующий рельеф, при этом вода перемешанная с грунтом заливает прилегающие территории забивает ливневую канализацию. На строительной площадке установить зоны мойки транспорта и строительных машин. В процессе проведения работ запретить любой сброс воды не соответствующий установленным схемам водоотвода.

Временные автомобильные дороги и другие подъездные пути устраиваются с учетом требований по предотвращению повреждений древесно-кустарниковой растительности.

В процессе строительства, при проведении вертикальной планировки площадки нарушается естественное состояние почв и рельефа местности. Поэтому в проекте строительства предусматривается рекультивация земель.

Сохранность снятого плодородного слоя почвы заключается в том, чтобы не допустить его загрязнения и засорения строительными отходами, исключить возможность его смешивания с нерастительным грунтом при срезке, транспортировании или после укладки в гурты.

При проведении технического этапа рекультивации выполняются следующие основные работы:

-        грубая и чистая планировка поверхности отвалов, засыпка нагорных и водоотводных каналов;

-        освобождение рекультивируемых поверхностей от крупногабаритных обломков пород, производственных конструкций, строительного мусора с последующим их захоронением или организованным складированием;

         укрепление откосов и оформление остаточных траншей;

         создание и улучшение структуры рекультивационного слоя;

         покрытие поверхности равномерными слоями потенциально плодородными породами и плодородными слоями почвы;

         посев трав, восстановление кустарниковой и древесной растительности или новые посадки.

6.2 Мероприятия по охране окружающей среды по окончании строительства и при эксплуатации

После завершения строительства на территории объекта должен быть убран строительный мусор, ликвидированы ненужные выемки и насыпи, засыпаны или выположены овраги, выполнены планировочные работы и проведено благоустройство земельного участка.

Овраги и промоины на территории засыпают или выполаживают за счет имеющихся повышенных форм рельефа: холмов, бугров, курганов.

Для предупреждения затопления территории ливневыми и талыми водами на поверхности участка застройки должна быть предусмотрена система ливневой канализации и водоотвода. При размещении объекта в нижней части склона с большой водосборной площадью по верхней границе участка должны размещаться нагорные и ловчие канавы для перехвата и отвода поверхностного стока с застраиваемой территории.

После завершения планировочных работ на восстанавливаемую поверхность участка наносят из резерва почвенный слой мощностью до 30см и проводят озеленение территории. Остаток резерва почвенного слоя передают другим землепользователям, для землевания малопродуктивных сельскохозяйственных угодий.