Материал: зачёт по бжд ответы на вопросы милушев

Внимание! Если размещение файла нарушает Ваши авторские права, то обязательно сообщите нам
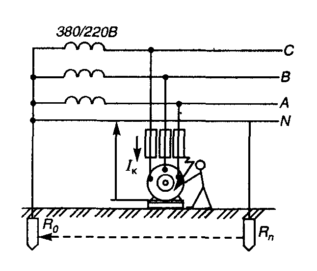
  1. Защитное заземление.

Защитное заземление предназначено для устранения опасности поражения электрическим током в случае прикосновения к корпусу и к другим нетоковедущим частям электроустановок, оказавшимся под напряжением вследствие замыкания на корпус и по другим причинам.

При этом все металлические нетоковедущие части электроустановок соединяются с землей с помощью заземляющих проводников и заземлителя.

Заземлитель — это проводник или совокупность металлически соединенных проводников, находящихся в соприкосновении с землей или ее эквивалентом ( бывают искусственные, предназначенные исключительно для целей заземления, и естественные — находящиеся в земле металлические предметы иного назначения). Для заземления оборудования в первую очередь используют естественные заземлители: железобетонные фундаменты, а также расположенные в земле металлические конструкции зданий и сооружений. Защитное заземление применяют в сетях напряжением до 1000 В с изолированной нейтралью и в сетях напряжением свыше 19000 В как с изолированной, так и с заземленной нейтралью. С помощью защитного заземления уменьшается напряжение на корпусе относительно земли до безопасного значения, следовательно, уменьшается и сила тока, протекающего через тело человека. На схеме защитного заземления показано, что напряжение, приложенное к телу человека в случае прикосновения к оборудованию, можно снизить, уменьшая сопротивление заземляющего устройства. Согласно ПУЭ, сопротивление заземления в электроустановках до 1000 В не должно превышать 4 Ом.

Обязательному заземлению подлежат установки напряжение питания которых свыше 80В переменного и 440В постоянного тока, помещения с повышенной опасностью 43 В и 110В; в особоопасных свыше 12В.

  1. Электрическое сопротивление тела человека.

Электрическое сопротивление тела человека складывается из сопротивления кожи и сопротивления внутренних тканей. Кожа, в основном верхний ее слой толщиной 0,2 мм, состоящий из мертвых ороговевших клеток, обладает большим сопротивлением, которое определяет общее сопротивление тела человека. При сухой, чистой и неповрежденной коже сопротивление тела человека составляет 200...20000 Ом. При увлажненной и загрязненной коже сопротивление тела снижается до 300...500 Ом, т.е. до сопротивления внутренних органов. При расчетах сопротивление тела человека принимается равным 1000 Ом.

  1. Защитное зануление.

Защитное зануление – преднамеренное электрическое соединение нетоковедущих частей оборудования, которые могут оказаться под напряжением с нейтральной точкой источника питания при помощи защитного нулевого провода.

Защитное зануление превращает пробой на корпус в короткое замыкание между фазным и нулевым проводами и способствует протеканию тока большой силы через устройства защиты сети, а в конечном итоге быстрому отключению поврежденного оборудования от сети

Зануление обеспечивает защиту от поражения электрическим током при замыкании на корпус за счет ограничения времени прохождения тока через тело человека и за счет снижения напряжения прикосновения.

В качестве нулевых проводов можно использовать стальные полосы, металлические оплетки кабелей, металлоконструкции зданий, подкрановые пути и др.

  1. Классификация помещений по опасности поражения электрическим током.

1. Помещения с повышенной опасностью характеризуются наличием одного из следующих факторов (признаков): сырости, когда относительная влажность воздуха длительное время или более чес на сутки превышает 75 %; высокой температуры воздуха, превышающей 35°С; токопроводящей пыли; токопроводящих полов; возможности одновременного прикосновения к нетоковедущим частям оборудования, имеющего соединение с землей, металлоконструкциями здания м сооружений.

2. Особо опасные помещения характеризуются наличием одного из трех условий: особой сырости, когда относительная влажность воздуха ближе к 100 %; химически и биологически активной среды, когда содержащиеся пары или образующиеся отложения действуют разрушающе на изоляцию и токоведущие части оборудования; стены покрыты лаком; наличие двух и более признаков одновременно, свойственных помещениям с повышенной опасностью.

3. Помещения без повышенной опасности, характеризующиеся отсутствием признаков повышенной и особой опасности.

  1. Факторы, влияющие на исход поражения электрическим током.

Сила тока, протекающего через тело человека, является главным фактором, от которого зависит исход поражения: чем больше сила тока, тем опаснее последствия.

  1. Ток ощущения – дрожание мышц или укол в месте контакта. (0,6-1,5 мА – переменный, 5-7 мА - постоянный);

  2. Неотпускающий ток - вызывает сильные и непроизвольные судороги мышц, которые человек не в состоянии преодолеть, т.е. он не может разжать руку, которой касается токоведущей части, отбросить от себя провод, оказываясь как бы прикованным к токоведущей части. (10-15 мА – переменный, 50-70 мА - постоянный);

  3. У человека происходит судорожное сокращение мышц грудной клетки, затрудняется и даже прекращается дыхание, что может привести к смерти вследствие прекращения работы легких. (25 мА – переменный, 150мА - постоянный);

  4. Фибриляционный ток - оказывает непосредственное влияние на мышцы сердца, вызывая его остановку или фибрилляцию (быстрые хаотические и разно­временные сокращения волокон сердечной мышцы), при которой сердце перестает работать. (80 мА в течение 0,5сек – переменный, 300 мА - постоянный).

Факторы:

  1. Сопротивление тела человека;

  2. Состояние кожи;

  3. Психо-эмоциональное состояние;

  4. Состояние алкогольного опьянения;

  5. Площадь и место контакта, плотность контакта;

  6. Пол человека;

  7. Путь прохождения тока;

  8. Род и частота тока;

  9. Время действия;

  10. Внешние факторы.

  1. Электрический удар.

Электрический удар представляет собой возбуждение живых тканей организма проходящим через него электрическим током, сопровождающееся непроизвольным сокращением мышц.

Степени электрических ударов: I — судорожное сокращение мышц без потери сознания;

II — судорожное сокращение мышц с потерей сознания, но с сохранением дыхания и работы сердца;

III — потеря сознания и нарушение сердечной деятельности или дыхания (либо того и другого вместе);

IV — клиническая смерть, т.е. отсутствие дыхания и кровообращения.

  1. Условия и причины поражения человека электрическим током.

Условия:

  1. Не выполнение требований ПУЭ (Правила устройства электроустановок);

  2. Нарушение требований ПУЭ;

  3. Случайное прикосновение человека к токоведущим частям;

  4. Случайное прикосновение к нетоковедущим частям, которые оказались под напряжением.

Причины:

  1. Технические;

  2. Организационно-технические;

  3. Организационные;

  4. Организационно-социальные (допуск лиц моложе 18 лет; лиц, имеющих медицинские противопоказания; лиц, не имеющих квалификационной группы; заболевания ЦНС со значительными изменениями личности в т.ч. эпилепсии; заболевания глаз; ограничение погл. Зрения более чем на 20°; острота зрения без коррекции ниже 0,5; гипертоническая болезнь 1 и 2 степени; нарушение цветоошущений).

  1. Электротравмы.

Электротравма – нарушение анатомических соотношений и функций тканей или органов с общей или местной реакцией.

Местные:

  1. Электрический ожог (60-65% пострадавших);

– контактный (температура повышается до 60 - 80°С, покраснение кожи);

– дуговой (температура 4000°С, волдыри, обугливание тканей);

  1. Электрические знаки или метки, представляющие собой резко очерченные пятна бледно-серого или желтого цвета (20%);

  2. Металлизация кожи (10%);

  3. Электроофтальмия (1-2%);

  4. Механические травмы, возникающие как следствие резких непроизвольных судорожных сокращений мышц в результате чего могут произойти вывихи, переломы, разрывы мышц.

Общие: электрический удар, сопровождение судорожным сокращением мышц, поражается весь организм, в особенности внутренняя часть (80%).

  1. Понятие несчастного случая и профзаболевания, этапы анализа, порядок расследования.

Несчастный случай на производстве — это случай воздействия на работающего опасного производственного фактора.

Опасный производственный фактор — это производственный фактор, воздействие которого на работающего в определенных условиях приводит к травме или другому внезапному резкому ухудшению здоровья.

Вредный производственный фактор – такой фактор, воздействие которого на работающих в определенных условиях приводит к профессиональному заболеванию.

Профессиональное заболевание — это заболевание, вызванное воздействием вредных условий труда.

Профессиональные заболевания подразделяются на:

-острое профессиональное заболевание - заболевание, возникшее после однократного (в течение не более одной рабочей смены) воздействия вредных профессиональных факторов;

- хроническое профессиональное заболевание - заболевание, возникшее после многократного и длительного воздействия вредных производственных факторов.

Порядок расследования несчастных случаев на производстве определен «Положением о порядке расследования и учета несчастных случаев на производстве», утвержденным постановлением Правительства РФ от 11 марта 1999 г. № 279.

Расследованию и учету подлежат несчастные случаи, повлекшие за собой необходимость перевода работника на другую работу, временную или стойкую утрату им трудоспособности либо его смерть и происшедшие при выполнении работником своих трудовых обязанностей (работ) на территории организации или вне ее, а также во время следования к месту работы или с работы на транспорте, предоставленном организацией.

Главная трудность при анализе производственного травматизма заключается в однозначном определении основных причин несчастных случаев.

Цель: разработка конкретных мероприятий по устранению несчастных случаев на производстве.

Этапы:

1) Выявление всех причин несчастного случая, которые привели к травме.

2) Установление взаимосвязи тех причин, которые непосредственно привели к несчастному случаю.

3) Определение основной причины несчастного случая, вызвавшей травмирование пострадавшего.

Технические причины.

1.Конструктивные недостатки машин, механизмов, оборудования, приспособлений и инструментов .

2.Неисправность машин, механизмов, оборудования, приспособлений и инструментов.

3.Неудовлетворительное техническое состояние зданий, сооруже­ний и их элементов.

4.Несовершенство технологических процессов.

Организационные причины: Нарушение технологических процессов; Нарушение правил дорожного движения; Неудовлетворительная организация работ; Неприменение средств индивидуальной защиты; Недостатки в обучении и инструктировании работающих по безопасным приемам труда; Использование работающих не по специальности; Нарушение трудовой дисциплины.

Личностные причины: неосторожность или невнимательность; ошибочные действия.

  1. Контурные и выносные системы защитного заземления.

Выносное заземляющее устройство характеризуется тем, что заземлитель вынесен за пределы площадки, на которой размещено заземляемое оборудование, или сосредоточен на некоторой части этой площадки. Существенный недостаток выносного заземляющего устройства – отдаленность заземлителя от защищаемого оборудования, вследствие чего на всей или на части защищаемой территории коэффициент прикосновения a1=1. Поэтому заземляющие устройства этого типа применяются лишь при малых токах замыкания на землю, в частности в установках до 1000 В, где потенциал заземлителя не превышает значения допустимого напряжения прикосновения, кроме того, при большом расстоянии до заземлителя может значительно возрасти сопротивление заземляющего устройства в целом за счет сопротивления заземляющего проводника. Достоинством выносного заземляющего устройства является возможность выбора места размещения электродов заземлителя с наименьшим сопротивлением грунта. Необходимость в устройстве выносного заземления может возникнуть в следующих случаях:

-при невозможности по каким-либо причинам разместить заземлитель на защищаемой территории;

-при высоком сопротивлении земли на данной территории и наличии вне этой территории мест со значительно лучшей проводимостью земли;

-при рассредоточенном расположении заземляемого оборудования и т. п.

Контурное заземляющее устройство характеризуется тем, что электроды его заземлителя размещаются по контуру (периметру) площадки, на которой находится заземляемое оборудование, а также внутри этой площадки. Часто электроды распределяются на площадке по возможности равномерно, и поэтому контурное заземляющее устройство называется также распределенным. Безопасность при распределенном заземляющем устройстве может быть обеспечена не только уменьшением потенцииала заземлителя, но и выравниванием потенциалов на защищаемой территории до таких значений, чтобы максимальные напряжения прикосновения и шага не превышали допустимых. Это достигается за счет соответствующего размещения одиночных заземлителей на защищаемой территории.

  1. Защитное отключение.

Защитное отключение – это быстродействующая защита, обеспечивающая отключение фаз в случае изменения параметров сети.

Так как основной причиной замыкания на корпус токоведущих частей оборудования является нарушение изоляции, то системы защитного отключения осуществляют постоянный контроль за сопротивлением изоляции или токами утечки между токоведущими и нетоковедущими деталями конструкции оборудования. При достижении опасного уровня оборудование отключается до того момента, когда произойдет пробой на корпус и появится реальная опасность поражения электрическим током. Таким образом, системы защитного отключения обеспечивают наибольшую электробезопасность при прикосновении к корпусам электроустановок. Однако, являясь достаточно сложными электрическими устройствами с определенной надежностью срабатывания, они применяются чаще всего в сочетании с защитным заземлением и защитным занулением