К средней части корпуса телескопической стойки
приварены нижняя опорная чашка 6 пружины и поворотный рычаг 8, к нижней -
кронштейн 12, к которому болтами 11 и 14 крепится поворотный кулак 13. У
головки верхнего болта 11 имеется эксцентриковый поясок, а на резьбовом конце -
лыска, на которую одевается эксцентриковая шайба. Поэтому при повороте болта
изменяется положение кулака, чем обеспечивается регулировка развала передних
колес. К поворотному кулаку крепится защитный кожух 15 тормозного диска. Внутри
поворотного кулака при помощи стопорных колец 16 закреплен двухрядный подшипник
20 ступицы 19 колеса, которая крепится гайкой с пояском для законтрирования и
закрывается колпаком 17. К нижней части поворотного кулака 13 крепится корпус
37 шарового шарнира с шаровым пальцем 36.
Рис. 108. Передня« подвеска автомобиля ВАЗ-2109:
- кузов автомобиля; 2 -- верхняя опорная чашка;
3 - буфер сжат в сборе с защитным кожухом; 4 опора буфера сжатия; 5 - пружина
подкоски; 6 - нижняя опорная чашка пружины; 7 - шаровой шарнир рулевой тяги; 8
- новоротный рычаг; 9 - телескопическая стойка; 10 - эксцентриковая шайба; 11 и
23 - соответственно регулировочные болт и шайбы; 12 - кронштейн стойки; 13 -
поворошый кулак; 14 - болт крепления стойки к поворотному кулаку; 15 - защитный
кожух; 16 - стопорное кольцо; 17 и 20 - колпак и подшипник сгупицы колеса; 18 -
шлицевый хвостовик корпуса шарнира при вода колеса; 19 - спупица колеса; 21 -
тормозной диск; 22 - рычаг подвески; 24, 26 и 27 - сошзетсгведно стойка,
подушка к кронштейн крепления стабилиза юра поперечной устойчивости; 25 -
стабилизатор; 28 - кронштейн кузова; 29 - растяжка рычаго подвески; 30 - шайбы;
31 - кронштейн крепления растяжек; 32 - резиновая распорная втулка переднею
шарнира растяжки; 33 -- втулка; 34, 35 и 37 - соотвснигвеиио защитный чехол,
подшипник и корпус шарового пальна; 36 - шаровой палец; 38 - шток стойки
подвески; 39 и 40 - соответственно наружный и внутренний корпусы верхней опоры;
41, 42, 43, 44, 45 - соответственно подшипник, резиновый элемент, ограничитель,
защитный колпак и гайка крепления верхней опоры; 46 - болт; I - верхняя опора
телескопической стойки; II - шаровой палец рычага подвески; III - передний
шарнир растяжки рычага подвески; а - контролируемый зазор между резиновым
элементом к ограничителем верхней опоры
4.Разборка, сборка и регулировка рулевого механизма, ремонт рулевых тяг
Almera.
В рулевом механизме автомобиля Nissan Almera имеется вращательный клапан контроля, направляющий жидкость от насоса гидроусилителя рулевого управления к одной или другой стороне поршня зубчатой рейки рулевого механизма. Поршень и зубчатая рейка составляют одну неотъемлемую часть рулевого механизма. Поршень зубчатой рейки преобразовывает давление жидкости в линейную силу, которая двигает рейку налево или направо.
Эта сила передается через рулевые тяги и наконечники рулевых тяг на поворотные кулаки, которые поворачивают передние колеса. При неисправности гидроусилителя, управление автомобилем осуществляется в обычном режиме. Однако при этом необходимо прилагать большее усилие. Вращательное движение рулевого колеса передается шестерне. При вращении шестерни зубья шестерни зацепляются с зубьями рейки, тем самым заставляют рейку перемещаться.
Снятие
Снимите рычаг очистителя ветрового стекла.
Выньте шплинт и ослабьте крепежную гайку. Выпрес-суйте рулевую тягу из поворотного кулака при помощи съемника рулевой сошки. Не повредите пыльник на шаровом шарнире рулевой тяги. Прежде чем воспользоваться съемником рулевой сошки (универсальный инструмент), наживите гайку для временной фиксации.
Для упрощения последующей установки нанесите метки краской на нижний шарнир и рулевой механизм. Открутите стяжной болт нижнего шарнира со стороны механизма.
Отсоедините трубку со стороны высокого давления и шланг со стороны низкого давления от рулевого механизма (рис. 5.4)
Открутите крепежные болты рулевого механизма в
сборе. Снимите кронштейн трубы рулевого механизма с усилителем и рулевой
механизм в сборе с балки подвески.
Компонеты рулевого механизма в сборе:
- рулевой механизм; 2 - верхний кронштейн
крепления рулевого механизма; 3 - пылезащитный чехол; 4 - наружный наконечник;
5 - шплинт; 6 - изолятор рулевого механизма; 7 - нижний кронштейн крепления
рулевого механизма
Возможные неисправности, их причины и способы устранения
|
Признак неисправности |
Возможные причины неисправности |
Способ устранения |
|
Свистящий шум |
Ослабление соединяющих шарниров рулевого управления |
Затяните соединяющие шарниры, рулевого управления |
|
|
Ненадлежащее соприкосновение шлангов гидроусилителя руля с остальными компонентами |
Правильно разместите шланги гидроусилителя руля в зажимах |
|
Дребезжащий шум в рулевом механизме |
Ненадлежащее соприкосновение трубок гидроусилителя руля с кузовом |
Закрепите трубки гидроусилителя руля надлежащим образом |
|
|
Недостаточно смазки |
Смажьте рулевой механизм |
|
|
Ослабление крепления рулевого механизма |
Затяните болты крепления кронштейна рулевого механизма |
|
|
Неправильно установленные наконечники рулевых тяг |
Затяните шарниры рулевых тяг, при необходимости замените наконечники |
|
Трудный возврат колес в положение прямолинейного движения |
Ненадлежащее соприкосновение рулевого колеса с креплением переключателя поворота |
Отрегулируйте крепление переключателя поворота |
|
|
Ненадлежащее соединение или ослабление соединений рулевого управления |
Замените промежуточный вал |
|
|
Заклинивание и ненадлежащее выравнивание клапана контроля потоком |
Замените насос гидроусилителя руля |
|
|
Ненадлежащее соединение или ослабление рулевых тяг и шаровых шарниров |
Затянете рулевые тяги и шаровые шарниры. При необходимости замените рулевые тяги и шаровые шарниры |
|
|
Нарушена регулировка рулевого механизма |
Выполните проверку нейтрального положения |
|
Мгновенное увеличение эффективное при быстром поворачивании рулевого колеса |
Внутренняя утечка насоса гидроусилителя руля |
Замените насос гидроусилителя руля |
|
|
Повреждение или сужение шлангов |
Замените шланги и трубки гидроусилителя руля |
|
|
Недостаточное количество жидкости гидроусилителя руля |
Наполните бачок для жидкости гидроусилителя руля |
|
|
Заклинивание и ненадлежащая работа клапана управления потоком насоса гидроусилителя руля |
Замените насос гидроусилителя руля |
|
Неравномерное (импульсное) или резкое поворачивание рулевого колеса при включенном двигателе |
Недостаточное давление насоса гидроусилителя руля |
Замените насос гидроусилителя руля |
|
|
Заклинивание и ненадлежащая работа клапана управления потоком насоса гидроусилителя руля |
Замените насос гидроусилителя руля |
|
|
Проскальзывание ремня привода насоса гидроусилителя руля |
Натяните ремень привода гидроусилителя руля |
|
|
Загрязнение воздухом системы рулевого управления |
Замените жидкость в системе рулевого управлении |
|
Чрезмерная отдача на рулевое колесо или ослабление рулевого управления |
Загрязнение воздухом системы рулевого управления |
Замените жидкость в системе рулевого управления |
|
|
Износ или повреждение подшипников колеса |
Замените подшипники |
|
|
Ослабление крепления рулевого механизма |
|
|
|
Ненадлежащая установка шарнира промежуточного вала с рулевым механизмом |
Затяните болт шарнира |
|
|
Ослабление рулевых тяг и шаровых шарниров |
Затяните рулевые тяги и шаровые шарниры. При необходимости замените рулевые тяги и шаровые шарниры |
|
Трудное управление или отсутствие помощи (только во время парковки) |
Заклинивание и ненадлежащая работа клапана управления потоком насоса гидроусилителя руля |
Замените насос гидроусилителя руля |
|
|
Недостаточное давление насоса гидроусилителя руля |
Замените насос гидроусилителя руля |
|
|
Внутренняя утечка насоса гидроусилителя руля |
Замените насос гидроусилителя руля |
|
|
Неправильное натяжение ремня привода насоса гидроусилителя |
Отрегулируйте натяжение ремня привода насоса гидроусилителя руля |
Рис. 5.4. Отсоединение трубок гидропривода рулевого управления:
-шланг высокого давления; 2- шланг низкого
давления
Ослабьте крепежные гайки и болты на балке подвески и слегка сдвиньте ее вниз.
Во избежание соприкосновения с другими частями наклоните рулевой механизм. Затем снимите его с правой стороны автомобиля. (На автомобилях с левосторонним управлением - с левой стороны, с правосторонним управлением-с правой стороны).
Разборка
Для выполнения разборки и сборки рулевого механизма закрепите крепежный фланец рулевого механизма в тисках, проложив медные пластины.
Снимите наружный наконечник и чехол рулевой тяги.
ВНИМАНИЕ! При снятии чехла не повредите
инструментом установочные канавки под чехол. В противном случае начнется утечка
масла. Замените внутренний наконечник рулевой тяги и картер рулевого механизма
в сборе.
Проверка после разборки
Проверьте, нет ли разрывов, складок или деформации чехла. При необходимости замените.
Убедитесь, что механизм перемещается свободно по всей длине хода. Проверьте, нет ли трещин, деформации и других повреждений на рейке и рулевой тяге. При помощи приспособления для измерения преднатяга измерьте вращающий момент червяка. Убедитесь, что показание в пределах нормы (рис. 5.5).
Вращающий момент червяка: 0,85-1,45 N-m (0,09-0,14 кг-м)
Проверьте силу скольжения рейки (рис. 5.6).
Сила скольжения рейки: 145-255 № 14,8-26,0 кг)
Проверьте, нет ли повреждения и царапин цилиндра картера рулевого механизма (внутренние стенки). При необходимости замените.
Проверка шаровых шарниров рулевых тяг
Усилие растяжения
Зацепите динамометр, как показано на рис. 5.7. Убедитесь, что показание в момент начала движения пальца шарового шарнира находится в пределах нормы. Если же усилие отличается от нормы, замените внутренний и наружный наконечники.
Момент скольжения
При помощи приспособления для измерения
преднатяга (специнструмент) убедитесь, что показание находится в пределах
нормы, указанных ниже. Если же значение отличается от нормы, замените
внутренний и наружный наконечники.
|
Наружный наконечник |
PR25T |
|
Момент скольжения |
0,3-2,9 Nm (0,03-0,29 кгм) |
Осевой люфт
Приложите нагрузку 490 № (50 кг) к пальцу шарового шарнира в осевом направлении. При помощи индикатора измерьте величину перемещения, которое совершает палец. Убедитесь, что показание находится в пределах нормы, указанных ниже. Если же значение отличается от нормы, замените наружный и внутренний наконечники (рис. 5.8).
Наружный наконечник: 0,1 мм или менее.
Внутренний наконечник: 0,1 мм или менее.
Рис. 5.8. Проверка осевого люфта шаровых
шарниров
Сборка
Нанесите универсальную смазку со стороны
большего и меньшего диаметра (рис. 5.9).
Рис. 5.9. Места нанесения универсальной смазки
Вставьте чехол в установочные канавки внутреннего наконечника со стороны большего и меньшего диаметра.
Поставьте зажимы на чехол со стороны большего и меньшего диаметра.
Наверните контргайку и наружный наконечник на внутренний наконечник. Временно затяните контргайку так, чтобы, длина рулевой тяги была в переделах нормы.
Длина рулевой тяги (L): 130 мм (рис. 5.10).
ВНИМАНИЕ! После этой процедуры выполните
регулировку схождения.Длина, полученная после регулировки схождения, не
обязательно должна быть равна приведенному здесь значению.
Рис. 5.10. Длина рулевой тяги
Установка
Установка выполняется в порядке, обратном снятию, с учетом следующего.
После установки выпустите воздух.
Открутите крепежный болт и гайку в верхней части нижнего шарнира. Это облегчит установку нижнего шарнира на рулевой механизм. Затем установите нижний шарнир на место.
Убедитесь, что паз снизу нижнего шарнира вошел в
выступ на колпачке задней крышки. Затяните стяжной болт в нижней части нижнего
шарнира. Убедитесь, что рулевой механизм находится в положении, соответствующем
прямолинейному движению. Также убедитесь, что задняя крышка находится в
положении, показанном на рис. 5.11. Затем установите нижний шарнир на рулевой
механизм.
5. Разборка стояночной
тормозной системы и привода тормозной системы Ваз 2109
Стояночные тормозные системы изучаемых
автомобилей с механическим приводом имеют одинаковый принцип действия и сходную
конструкцию, отличающуюся, в основном, конструкцией деталей механического
привода тормозных механизмов задних колес.
Рис. 155. Привод стояночного тормоза автомобиля ВАЗ-2109:
и 3 - кнопка фиксации и защелка рычага; 2 -
рычаг стояночного тормоза; 4 -- зубчатый сектор защелки; 5 - чехол; 6 - тяга; 7
- уравнитель тросов; 8 - регулировочная гайка; 9 - контргайка; 10 - трос; 11 -
оболочка троса; 12 - тормозная колодка; 13 - распорная планка; 14 - ось рычага;
15 - рычаг ручного привода колодок; 16 - шайба; 17 - шплинт; 18 - выключатель
контрольной лампы
Стояночная тормозная система автомобиля ВАЗ-2109 (рис. 155) имеет привод, включающий в себя установленный на кронштейне рычаг 2 с кнопкой 1 и тросы 10. Передние концы тросов соединяются с рычагом 2 через уравниватель 7 и тягу 6. Задние концы тросов соединяются с колодками тормозных механизмов задних колес через разжимные рычаги 15 и планки 13. Рычаг фиксируется при помощи защелки 3 с зубчатым сектором 4, которая управляется кнопкой 1.
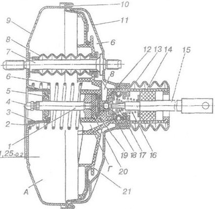
Вакуумный усилитель тормозов служит для
уменьшения усилия, прикладываемого водителем к педали тормоза, тем самым
облегчая управление автомобилем. Усилитель устанавливается в моторном отсеке, и
к нему крепится главный тормозной цилиндр.

- шток привода главного тормозного цилиндра; 2 -
резиновое кольцо; 3 - чашка; 4 - регулировочный болт штока; 5 - уплотнитель; 6
- возвратная пружина; 7 - шпилька; 8 - уплотнитеяьный чехол; 9 - корпус; 10 -
диафрагма; 11 - крышка; 12 - поршень; 13 - защитный чехол; 14 - воздушный
фильтр; 15 - толкатель; 16 и 17 - пружины; 18 - клапан; 19 - втулки корпуса
клапана; 20 - резиновый буфер; 21 - корпус клапана
Вакуумный усилитель автомобиля ВАЗ-2109 крепится на двух шпильках к кронштейну на щитке передка кузова. Между корпусом 9 (рис. 143) с чашкой 3 и крышкой 11 зажата резиновая циафрагма 10, внутренний поясок которой заходит в кольцевую проточку корпуса 21 клапана. Диафрагма вместе с корпусом клапана делит полость вакуумного усилителя на две части: вакуумную А и атмосферную Б. Полость А через наконечник и шланг соединяется с впускным трубопроводом двигателя. В наконечнике шланга расположен вакуумный клапан для предотвращения попадания горючей смеси в полость А. Для герметизации соединения наконечника шланга с корпусом усилителя между ними установлен резиновый фланец.
Завальцованные в крышке усилителя две шпильки 7 служат для крепления к нему главного тормозного цилиндра, а также являются направляющими корпуса 21 клапана. На шпильках надеты уплотнительные чехлы 8, соединенные одним концом с подвижным корпусом клапана. Герметичность соединений чехлов обеспечивает изолированность полостей А и Б друг от друга.
Пластмассовый корпус 21 клапана при помощи возвратной пружины 6 вместе с диафрагмой 10 отжимается в сторону крышки усилителя. Хвостовик корпуса клапана на выходе из крышки уплотняется защитным чехлом 13.
В корпусе клапана размещены шток 1 привода главного тормозного цилиндра с опорной втулкой, поршень 12, втулка 19 корпуса клапана, буфер 20 штока, клапан 18, две пружины 16 и 17, воздушный фильтр 14 и толкатель 15. Опорная втулка напрессована на шток и упирается через резиновый буфер 20 и пластмассовую втулку 19 в корпус клапана. В торцовое отверстие штока ввернут регулировочный болт 4 со сферической головкой. Этим болтом регулируется выход штока из корпуса усилителя (1,05... 1,25 мм). На выходе из корпуса шток охватывается уплотнителем 5. Для уплотнения зазора между фланцем главного цилиндра и корпусом вакуумного усилителя в гнездо корпуса установлено резиновое кольцо 2.
К торцу поршня12 пружиной 17 прижимается резиновый клапан 18. К заднему торцу клапана пружиной 16 прижимается опорная втулка. Другим концом пружина 16 упирается в упорную шайбу полиуретанового воздушного фильтра 14.
В исходном положении тормозной педали толкатель 15 с корпусом 21 клапана и штоком 1 отжаты пружиной 6 в крайнее правое (заднее) положение. Головка клапана при этом отходит от седла корпуса, и через образовавшийся зазор и каналы В и Г полости А и Б сообщаются между собой. Поэтому при работающем двигателе разрежение из впускного трубопровода двигателя через вакуумный клапан передается в полость А, а через каналы Г и В и зазоры - в полость Б.