Введение
станок токарный напряжение привод
В данном курсовом проекте произведены необходимые расчёты для металлорежущих станков, целью которых является правильный выбор приводных электродвигателей, аппаратов управления, защиты и питающих проводов.
Основным требованием при выборе электродвигателей является его соответствие условиям технологического процесса станка. Задача выбора состоит в поисках такого двигателя, который будет обеспечивать заданный технологический цикл, иметь конструкцию, соответствующую условиям эксплуатации и компоновки со станком, а его нагрев при этом не должен превышать допустимые значения.
Выбор двигателей недостаточной мощности может привести к нарушению заданного технологического цикла станка. Происходящие при этом его повышенный нагрев и ускоренное старение изоляции определяют преждевременный выход самого двигателя из строя, остановку станка и соответствующие экономические потери.
Недопустимым является также использование двигателей завышенной мощности, так как увеличивается стоимость механизмов, работа с низким КПД и cos ц. Таким образом, обоснованный выбор электродвигателя определяет технико-экономические показатели работы станков.
Станки токарной группы составляют значительную долю станочного парка. Она включает в себя девять типов станков, различающихся по назначению, компоновке, степени автоматизации и другим признакам. Токарные станки предназначены главным образом для обработки наружных и внутренних цилиндрических, конических и фасонных поверхностей, нарезания резьбы и обработки торцовых поверхностей деталей типа тел и вращения с помощью разнообразных резцов, сверл, зенкеров, разверток, метчиков и плашек.
Применение в станках дополнительных специальных устройств (для шлифования, фрезерования, сверления радиальных и торцовых отверстий и других видов обработки) значительно расширяет технологические возможности оборудования. В зависимости от расположения шпинделя, несущего приспособление для установки заготовки, токарные станки подразделяют на горизонтальные и вертикальные.
Основными параметрами токарных станков являются наибольший диаметр заготовки, обрабатываемой над станиной, и наибольшее расстояние между центрами. Важным размером станка является также наибольший диаметр заготовки, обрабатываемой над поперечными салазками суппорта.
Токарные станки отечественного производства имеют цифровое обозначение моделей. Первая цифра 1 в обозначении модели показывает, что станок относится к токарной группе. Вторая цифра указывает на типы станков в группе: 1 - одношпиндельные автоматы и полуавтоматы; 2 - многошпиндельные автоматы и полуавтоматы; 3 - револьверные станки; 5 - карусельные станки и т.д. Две последние цифры определяют важнейшие технические параметры станка: высоту центров над станиной для токарно-винторезного, наибольший диаметр обрабатываемого прутка для токарно-револьверного и т.д. Наличие буквы после второй цифры указывает на модернизацию станка, т.е. на обновление конструкции.
Буква (Н, П, В, А, С) в конце
цифрового обозначения модели означает точность станка. [1, с. 133]
1. Технологическая часть
.1 Назначение и
техническая характеристика станка
Станки токарной группы относятся к наиболее распространённым металлорежущим станкам и широко применяются на промышленных предприятиях, в ремонтных мастерских. В эту группу входят: универсальные токарные и токарно-винторезные, револьверные, токарно-лобовые, карусельные, копировальные, токарные автоматы и полуавтоматы.
На токарных станках производится обработка наружных, внутренних и торцевых поверхностей тел вращения цилиндрической, конической и фасонной формы, а также прорезка канавок, нарезка наружной и внутренней резьбы. Режущими инструментами на токарных станках служат в основном резцы, но применяются также и свёрла, развёртки, метчики, плашки.
Характерной особенностью станков токарной группы является осуществление главного движения за счёт вращения обрабатываемой детали. Подача режущего инструмента производится путём поступательного перемещения суппорта.
Наибольшее применение получили универсальные токарно-винторезные станки, на которых выполняются всевозможные токарные работы. В электромашиностроении на токарных станках производится обточка валов, подшипниковых щитов и других деталей электрических машин.
Процесс обработки деталей на токарных станках происходит при определённых значениях величин, характеризующих режим резания. К ним относятся: глубина резания - t, подача - S (перемещение резца на один оборот шпинделя), скорость резания - V, т.е. линейная скорость, с которой перемещается снимаемый слой металла (стружка) относительно резца.
Назначенная скорость резания зависит от свойств обрабатываемого материала, материала резца, вида обработки, условий охлаждения резца и детали.
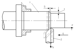
На рисунке 1.1 представлена схема токарной обработки, где
1 - деталь;
- резец;
- шпиндель станка;
- главное движение;
- движение подачи

Рисунок 1.1 - Схема токарной
обработки
Токарно-винторезный станок модели IК62Б имеет следующие технические данные:
) наибольший диаметр изделия, установленного над станиной, 400 мм;
) наибольший диаметр обрабатываемого прутка 45 мм;
) расстояние между центрами 1000 мм;
4) число ступеней частоты вращения
шпинделя 23 (от 12,5 до 2000 об/мин.).
1.2 Требования к
электроприводу и автоматике
Одним из важнейших вопросов электрооборудования металлорежущих станков является выбор типа электропривода для основных движений. На этот выбор оказывает влияние ряд факторов:
. диапазон и плавность регулирования скорости рабочего механизма:
. характер нагрузки привода;
. частота включений привода;
. соотношение периодов машинного и вспомогательного времени работы станка;
. энергетические показатели работы привода - КПД и cos ц;
6. надежность привода, простота его
обслуживания и наладки.
2. Выбор системы электропривода
.1 Анализ недостатков
существующей схемы
Основными недостатками существенной схемы электропривода является:
электродвигатели старой модификации, которые заменяют на более новые, имеющие более высокий коэффициент полезного действия и меньшие потери электроэнергии;
магнитные пускатели и реле управления старых серий, которые уже не выпускаются на производстве, также подлежат замене на более совершенные;
применить вместо часто включаемых контакторов бесконтактными устройствами с тиристорами.
Двигатели серии 5А в отличие от асинхронных двигателей серии 4А имеют улучшенные энергетические показатели, пусковые и виброакустические характеристики (уровень шума снижен по сравнению с серией 4А на 10-15 дБ), повышенные показатели надежности, снижен расход активных материалов (меди на 2,5%, электротехнической стали на 4%;), снижена масса двигателей одинаковых мощностей за счет снижения их габаритов на 10 - 15%.
2.2 Выбор рода тока и
величины питающих напряжений
При проектировании электрооборудования необходимо выбрать род тока (переменный или постоянный) и напряжение питающей сети.
Основными токами в электроустановках промышленных предприятий является переменный трехфазный ток.
При выборе величины напряжений электроустановок до 1000В используют напряжение 380/220 и 660/380В. С применением напряжения 660В снижаются потери электроэнергии и расход цветных металлов, увеличивается радиус действия подстанций, повышается мощность трансформаторов, сокращается количество подстанций, упрощается схема электроснабжения. Недостатком напряжения 660В являются невозможность совместного питания сети освещения и силовых электроприемников малой мощности, а также отсутствие электродвигателей небольшой мощности на напряжение 660В. На предприятиях с преобладанием электроприемников малой мощности более выгодно использовать напряжение 380/220В.
Металлорежущие станки питаются напряжением 380В переменного тока, включаемых через пакетные или вводные выключатели. Цепи управления станков питаются через разделительный трансформатор с вторичным напряжением 110В. На каждом металлорежущем станке имеется лампа местного освещения, питаемая от отдельной обмотки трансформатора напряжением 36В. Иногда один из выводов обмотки трансформатора низкого напряжения присоединяют к газовой трубке, в которой проложен второй провод, питающий лампу. В качестве одного из проводов вторичной цепи местного освещения при напряжении 36В используют станину станка.
2.3 Выбор системы
электропривода
Выбор типа электропривода иногда вызывает значительные трудности, так как различные его системы можно применять для одного и того механизма. Поэтому прежде рассматривается возможность применения асинхронного привода. Асинхронные электродвигатели с короткозамкнутым ротором просты в эксплуатации, дешевы, выпускаются промышленностью в широком ассортименте. Их следует применять в тех случаях, когда использование синхронных двигателей экономически нецелесообразно.
Диапазон регулирования частоты вращения шпинделя токарных станков достигает (800-100). При этом желательно иметь по возможности плавное ее изменение, чтобы обеспечить наиболее выгодную скорость резания.
Для станков токарной группы, в которых главное движение является вращательным, требуется постоянство мощности и постоянство момента. Малые частоты вращения применимы лишь для специфических видов обработки: нарезание резьбы метчиками, обточка швов.
В главных приводах токарных станков основным типом привода является привод от асинхронного короткозамкнутого двигателя.
Асинхронный двигатель конструктивно хорошо сочетается с коробкой скоростей станка, надежен в эксплуатации и не требует специального ухода. Регулирование частоты вращения шпинделя станка в таком приводе осуществляется путем переключений систем коробки скоростей.
В токарных станках малых размеров, пуск, остановка и изменение направления шпинделя часто производится с помощью фрикционных муфт. Двигатель при этом остается подключенным к сети и вращается в одном направлении.
Для главного привода некоторых токарных станков применяются многоскоростные асинхронные двигатели. Использование такого привода целесообразно, если оно приводит к упрощению коробки скоростей или требуется переключение скорости шпинделя на ходу. Для регулирования скорости подачи применяются многоступенчатые коробки подач. Переключение ступеней производится вручную или с помощью электромагнитных фрикционных муфт (дистанционно).
Для вспомогательных приводов
токарных станков - перемещение каретки суппорта, зажима изделия, охлаждающей
жидкости, применяется отдельные короткозамкнутые асинхронные двигатели [2, c. 238-240].
2.4 Расчет мощности и
выбор приводного двигателя токарного станка
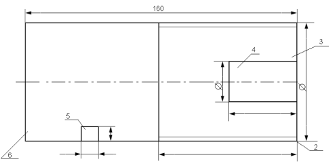
На рисунке 2.1 приведён эскиз
обработки детали.
Рисунок 2.1 - Эскиз обработки детали
Для расчета мощности приводного двигателя необходимо в начале произвести расчет технологических усилий.
На позиции шпинделя выполняются следующие операции:
. Загрузка заготовки;
. Продольное точение: t=4,2 мм, L=95 мм, S=0,55 мм -1
. Подрезка торца: t=2 мм, S=0,8 мм -1
. Сверление: d=14 мм, L=30 мм, S=0,30 мм -1
. Прорезание канавки: t=12 мм, S=0,2 мм-1
. Отрезание: t=5,5 мм, S=0,12 мм -1, материал детали - сталь конструктивная.
Произведем расчет технологических условий для второй операции - продольное точение.
Определяем скорость
резания Vz, м·мин-1[3, c. 68-70]
(2.1.)
где Cн - постоянная скорости резания;
Т - среднее значение стойкости инструмента при обработке, мин;
t - глубина резания, мм;
S - подача, мм·об-1;
kн - общий поправочный коэффициент;
m, х, у - показатели степени, зависящие от вида обработки и материала.
Определяем скорость резания для второй операции - продольное точение, при S=0,55 мм-1; kн=1; Т=40 мин; t=4,2 мм; Cн=292; х=0,15; у=0,20; m=0,2.
Определяем скорость резания для третей операции - подрезка торца, при S=0,8 мм-1; kн=1; Т=40 мин; t=2 мм; Cн=292; х=0,15; у=0,20; m=0,2.
![]()
Определяем скорость резания для четвёртой операции - сверление, при S=0,3 мм-1; kн=1; Т=40 мин; t=4,2 мм; Cн=292; х=0,15; у=0,2; m=0,2.
=
Определяем скорость резания для пятой операции - прорезание канавки, при S=0,2 мм-1; kн=1; Т=40 мин; t=12 мм; Cн=292; х=0,15; у=0,2; m=0,2.
=
Определяем скорость резания для шестой операции - отрезание, при
S=0,12 мм-1; kн=1; Т=40 мин; t=5,5 мм; Cн=292; х=0,15; у=0,20; m=0,2.
=
Определяем частоту
вращения шпинделя n, об/мин [3, c. 56-57]
(2.2)
где D - диаметр обрабатываемого изделия или инструмента, мм.
Vz - скорость резания, м·мин-1.
Определяем частоту вращения шпинделя для второй операции - продольное точение, при Vz=126,88 м·мин-1; D=60 мм.
По таблице скоростей станка выбираем ближайшую частоту вращения шпинделя. Принимаем nd2 =650 об/мин [3, с. 422].
Определяем частоту вращения шпинделя для третей операции - подрезка торца, при Vz=131,58 м·мин-1; D=60 мм.
По таблице скоростей станка выбираем ближайшую частоту вращения шпинделя. Принимаем nd3 =680 об/мин [3, с. 422].
Определяем частоту вращения шпинделя для четвёртой операции - сверление, при Vz=143,23 м·мин-1; D=14 мм.
По таблице скоростей станка выбираем ближайшую частоту вращения шпинделя. Принимаем nd4 =2800 об/мин [3, с. 422].
Определяем частоту вращения шпинделя для пятой операции - прорезание канавки, при Vz=132,7 м·мин-1; D=60 мм.
По таблице скоростей станка выбираем ближайшую частоту вращения шпинделя. Принимаем nd5 =680 об/мин [3, с. 422].
Определяем частоту вращения шпинделя для шестой операции - отрезание, при Vz=165,22 м·мин-1; D=60 мм.