Рисунок 37 - Визуализация распределения скорости в тракте газовода с подогревом стенки 2 и 3 V=10m/s
Наблюдается увеличение скорости (рис.38) и
уменьшение статического давления. Характер распределения давления стал более
симметричным. Распределение скорости в сечении х=0.35 стало симметричным.
Амплитуда средней скорости уменьшилась, составив около 12%.
Рисунок 38 - Распределение скорости
по высоте канала в газогенераторе с подогревом стенки 2 и 3 V=10m/s
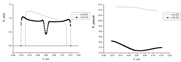
Рисунок 39 - Распределение скорости
по высоте канала в сечении х=0.5
Как видно из рис.39 охлаждение оказывает
незначительное влияние на изменение профиля скорости, порядка 2-3%, что
сравнимо с погрешностью расчета. Подогрев потока оказывает значительное влияние
на профиль потока, скорость потока со стороны подогрева увеличилась порядка
10%.
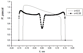
Рисунок 40 - Распределение давление
по высоте канала в сечении х=0.5
Охлаждение не влияет на изменения профиля статического давления по высоте канала, оно влияет на средние значения, разница составляем менее 1% (рис.40).
Результаты расчета для среднерасходной скорости 20 м/с
Среднерасходная скорость 20м/с
Температура 800К
Массовый расход 2.429 кг/с
Плотность 0.4498 кг/м3
Динамическая вязкость 90.13Па
Коэффициент теплоотдачи от газа к стенке 14.182Вт/м*К
Число Нуссельта 146.5
Число Рейнольдса 123506
Число Прандтля 0.213
Число Стантона 0.0056
Модель тракта газовода: прямой тракт
без теплообмена. На рис.41 изображена визуализация скорости вдоль оси.
Рисунок 41 - Визуализация
распределения скорости в прямом тракте газовода V=20m/s
Из рис.42 видно что профиль в прямом
канале симметричный, есть резкий скачок скорости с отклонением около 40%.
Распределение давление симметричное.
Рисунок 42 - Распределение скорости
и статического давления по высоте канала V=20m/s
Модель тракта газовода: тракт с поворотом без теплообмена. На рис.44 изображена визуализация скорости вдоль оси.
Рисунок 44 - Визуализация
распределения скорости в тракте газовода V=20m/s
Из рис.45 видно что характер
распределения скорости не симметричный, отклонение от среднерасходной скорости
около 20%, это вызвано поворотом потока. В распределении статического давления
наблюдается асимметрия распределения.
Рисунок 45 - Распределение скорости
и статического давления по высоте канала V=20m/s
Модель тракта газовода: тракт с поворотом с
охлаждением стенки 2. На рис.47 изображена визуализация распределения скорости.
Рисунок 47 - Визуализация
распределения скорости в тракте газовода с охлаждением стенки 2 V=20m/s
Распределение профиля скорости и
динамического давления идентично с газогенератором без подогрева (рис.48)
Рисунок 48 - Распределение скорости
и статического давления по высоте канала V=20m/s
Модель тракта газовода: тракт с поворотом,
охлаждение стенки 3. На рис.50 изображено визуализация распределения скорости
по траку газовода. Распределение скорости схоже с трактом газовода без
теплообмена.
Рисунок 50 - Визуализация
распределения скорости в тракте газовода с охлаждением стенки 3 V=20m/s
Распределение профиля скорости и
динамического давления идентично с газогенератором без подогрева (рис.51)
Рисунок 51 - Распределение скорости
и статического давления по высоте канала V=20m/s
Модель тракта газовода: тракт с поворотом,
охлаждение стенки 2 и 3 (рис.53).
Рисунок 53 - Визуализация
распределения скорости в тракте газовода с охлаждением стенки 2 и 3 V=20m/s
Распределение профиля скорости и
статического давления идентично с трактом газовода без теплообмена. Отклонение
от среднерасходной скорости в сечении х=0.5 составляет около 24%(рис.54)
Рисунок 54 - Распределение скорости
и статического давления по высоте канала V=20m/s
Модель тракта газовода: тракт с поворотом,
охлаждение наружной стенки (рис.56).
Рисунок 56 - Визуализация
распределения скорости в трате газовода с охлаждением наружной стенки V=20m/s
Как видно из рис.57 отклонение
скорости, в сечении х=0.5, от среднерасходной составило около 20%.
Распределение давления осталось идентично с газогенератором без подогрева.
Рисунок 57 - Распределение скорости
и статического давления по высоте канала V=20m/s
Модель тракта газовода: тракт с поворотом,
подогрев стенки 2 и 3 (рис.59).
Рисунок 59 - Визуализация
распределения скорости в тракте газовода с подогревом стенок 2 и 3 V=20m/s
Неравномерность профиля сохраняется,
уменьшено отклонение скорости со стороны подогреваемой стенки, отклонение от
среднерасходной составляет около 15%(рис.60). Распределение давления осталось
идентично с газогенератором без подогрева.
Рисунок 60 - Распределение скорости
и статического давления по высоте канала V=20m/s
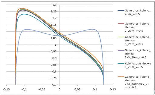
Рисунок 61 - Распределение скорости
по высоте канала в сечении х=0.5
Рисунок 62 - Распределение давление
по высоте канала в сечении х=0.5
Как видно из рис.62 охлаждение стенок 2, 3, 2и 3 мало влияют на профиль скорости, влияние составляет около 1%, что сравнимо с погрешностью расчетов. Наибольшее влияние оказывает охлаждение наружной стенки, около 3%, ввиду большей площади теплообмена. Подогрев стенки так же оказывает влияние на изменение скорости со стороны подогреваемой стенки в пределах 3%.
Распределение статического давления мало изменяется, наибольшее отклонение при охлаждении.
Среднерасходная скорость 30м/с
Температура 800К
Массовый расход 3.727 кг/с
Плотность 0.46 кг/м3
Динамическая вязкость207.35Па
Коэффициент теплоотдачи от газа к стенке 19.616Вт/м*К
Число Нуссельта 146.5
Число Рейнольдса 123506
Число Прандтля 0.213
Число Стантона 0.0056
Модель тракта газовода: прямой тракт без теплообмена. На рис.63 изображена визуализация скорости вдоль оси.
канал давление газовод скорость
Рисунок 63 - Визуализация
распределения скорости в прямом тракте газовода V=30m/s
Резкий скачок скорости около осевой линии
сузился до координат от х=0.1 до х=-0.1, отклонение при этом от среднерасходной
скорости составляет около 60%(рис.64). Распределение давления симметричное.
Рисунок 64 - Распределение скорости
и статического давления по высоте канала V=30m/s
Модель тракта газовода: тракт с
поворотом без теплообмена. На рис.65 изображена визуализация скорости вдоль
оси.
Рисунок 65 - Визуализация
распределения скорости в тракте газовода с поворотом V=30m/s
Отклонение скорости в сечении х=0.5 от
среднерасходной скорости, вызванное поворотом потока, составляет около
20-23%(рис.66). Характер распределения статического давления ассиметричный, что
является так же влиянием поворота потока.
Рисунок 66 - Распределение скорости
по высоте канала V=30m/s
Модель тракта газовода: тракт с
поворотом с охлаждением стенки 2. На рис.67 изображена визуализация
распределения скорости.
Рисунок 67 - Визуализация
распределения скорости в трате газовода с поворотом с охлаждением стенки 2
V=30m/s
Характер распределения скорости и статического
давления аналогичен тракту газовода без теплообмена. (рис.68)
Рисунок 68 - Распределение скорости и
статического давления по высоте канала V=30m/s
Модель тракта газовода: тракт с поворотом,
охлаждение стенки 3. На рис.69 изображено визуализация распределения скорости
по траку газовода. Распределение скорости схоже с трактом газовода без
теплообмена.
Рисунок 69 - Визуализация
распределения скорости в тракте газовода с поворотом с охлаждением стенки 3
V=30m/s
Характер распределения скорости и статического
давления так же схож с трактом газовода без теплообмена (рис.70)
Рисунок 70 - Распределение скорости
и статического давления по высоте канала V=30m/s
Модель тракта газовода: тракт с
поворотом, охлаждение стенки 2 и 3(рис.71).
Рисунок 71 - Визуализация
распределения скорости в тракте газовода с поворотом с охлаждением стенки 2 и 3
V=30m/s
Характер распределения скорости и статического
давления аналогичен тракту газовода без теплообмена (рис.72)
Рисунок 72 - Распределение скорости
и статического давления по высоте канала V=30m/s
Модель тракта газовода: тракт с
поворотом, охлаждение наружной стенки (рис.73).
Рисунок 73 - Визуализация
распределения скорости в тракте газовода с поворотом с охлаждением наружной
стенки V=30m/s
Отклонение скорости от среднерасходной, со
стороны охлаждения, уменьшилась и составила около 20%(рис.74). Характер
распределения статического давления аналогичен тракту газовода без теплообмена.
Рисунок 74 - Распределение скорости и
статического давления по высоте канала V=30m/s
Модель тракта газовода: тракт с поворотом,
подогрев стенки 2 и 3(рис.75).
Рисунок 75 - Визуализация
распределения скорости в тракте газовода с подогревом стенки 2 и 3 V=30m/s
Как видно из рис. 76 характеры распределения
скоростей и статического давления аналогичны тракту газовода без теплообмена.

Рисунок 76 - Распределение скорости по высоте
канала V=30m/s
Рисунок 77 -Распределение скорости по высоте
канала в сечении х=0.5
Рисунок 78 - Распределение давление по высоте
канала в сечении х=0.5
Как видно из рис. 78 наибольшее влияние оказывает охлаждение наружной стенки. Разница в скорости со стороны охлаждения, с трактом газовода без теплообмена, составляет около 2%. Как видно из рис.86 характер распределения статического давления не изменяется.
По полученным результатам можно сделать вывод, что подвод тепла и охлаждение могут влиять на профиль скорости, при малых скоростях и больших тепловых потоках, т.е. при St=0.0102 и St=0.0064. Причем охлаждение внутренних стенок 2, 3, совместно 2 и 3, мало влияют на профиль скорости, что скорее всего вызвано малыми тепловыми потоками. Наибольшее влияние оказывают охлаждение наружной стенки. При охлаждении наружной стенки площадь теплообмена больше чем при охлаждении внутренних стенок. Подогрев внутренней стенки оказывает большее влияние чем охлаждение внутренних стенок, наибольшее влияние выявлено при режиме течения при скорости 10 м/с(St=0.0064), и составило около 10%. При увеличении скоростей влияние становилось меньше и составляло около 2-3%.При скоростях 1 м/с при подогреве стенки 2 и 3произошло искажение профиля в худшую сторону, отклонение профиля скорости со стороны подогреваемой стенки составило окло4%, а с противоположенной же стенки произошло увеличение скорости и составило около 10%.
Влияние на распределение статического давления
есть, в пределах 2-3%, что сравнимо с погрешностью расчетов. Подогрев и
охлаждение влияют не на характер распределения статического давления по высоте
канала, а на среднее значение статического давления.
Заключение
В данной работе численными методами исследовалось влияние теплообмена в тракте газовода, на параметры потока с целью обеспечить наилучшее выравнивание полей статического давления и скорости.
Рассматривалась модельная схема «газ-газ». Генераторным газом являлся воздух, Модель газа: Идеальный газ. Данное допущение, предполагающее поступление газообразного компонента камеру сгорания в газообразном состоянии, позволяет не рассматривать процессы испарения и упростить модельную схему расчета, не накладывая существенных ограничений на моделирование газодинамических процессов в газоводе.
Исследования проводились средствами программного продукта ANSYS-Fluent. Предположения об отсутствии закрутки потока на входе в газовод и наличие оси симметрии позволяют рассматривать в оссесимметричной постановке, но при наличие поворота нужно рассматривать в плоскости.
Для замыкания системы уравнений газовой динамики, включающей уравнения неразрывности и движения вязкой жидкости Навье-Стокса, использовались стандартная модель турбулентности со стандартным набором модельных констант, хорошо зарекомендовавшая себя для решения широкого класса инженерных задач. k- ε - Модель использует два транспортных дифференциальных уравнения для расчета кинетической энергии k и турбулентной диссипации ε. Эта модель стабильна, не требует значительных вычислительных ресурсов и долгое время была промышленным стандартом. Хорошо зарекомендовала себя при расчете внутренних течений, но имеет проблемы при расчете потоков с большими градиентами давлений и отрывом потока. Начало отрыва определяется слишком поздно и размеры отрывных течений слишком малы по размеру. k- ε - Модель дает слишком оптимистичные результаты для потока в котором происходит отрыв потока.
Рассматриваемые параметры рассматривались в приведенной форме. Для получения скорости в приведенной форме, значение скорости делились на среднерасходную скорость, а значения статического давления делились на динамическое давление на входе в тракт.
Литература
1. Александренков В.П. Расчет наружного проточного охлаждения камеры ЖРД -74 с.
. Мухачев Г. А., Щукин В. К. Термодинамика и теплопередача: Учеб. для авиац. вузов.- 3-е изд., перераб. - М.: Высш. шк., 2011. - 480 с.
. Шигапов А.Б. Проточное охлаждение двигателя на жидком топливе: Пособие для курсового и дипломного проектирования. - Казань 2009. - 60с.
Коэффициент теплоотдачи от газа к стенке