Материал: Виды насосов

Внимание! Если размещение файла нарушает Ваши авторские права, то обязательно сообщите нам

Виды насосов

МИНОБРНАУКИ РОССИИ

Федеральное государственное бюджетное образовательное учреждение высшего профессионального образования

«Российский государственный университет туризма и сервиса»

(ФГБОУ ВПО «РГУТиС»)








Реферат


Выполнил(а) студент(ка) группы: Сдб- 111

Закирова Эльвира








Москва 2014

Содержание

Введение

1. Насосы. Общие сведения

2.      Виды насосов

Заключение

Список использованной литературы

Введение

История существования гидравлических машин насчитывает несколько тысячелетий. Первый насос был поршневым, появился, по-видимому, за несколько веков до нашей эры в странах древней культуры. Изобретение этого насоса связано с созданием водоподъемных устройств. Поршневой насос был хорошо известен в Древней Греции и Риме.

Изобретение центробежного насоса приписывается итальянцу Д. Жордану, давшему первый рисунок такого насоса. Одной из первых удачных конструкций центробежного насоса является насос французского физика Д. Папена, предложенный им в 1689 г. Первой примененной в практике машиной для подачи жидкости действием центробежной силы был насос Ледемура (Франция, 1732 г.). В этой конструкции вода, находящаяся в наклонной трубе, вращающейся вокруг вертикальной оси, перемещалась с нижнего уровня на верхней действием центробежной силы самой воды. Таким образом, достигалась подача воды на некоторую высоту.

Классическая схема и конструкция одноколесного центробежного насоса, применяющегося в различных модификациях и поныне, была осуществлена Андревсом (США) в 1818 г. и существенно улучшена им в 1846 г. Исследования Андеревса привели к созданию многоступенчатого центробежного насоса, однако весьма несовершенной конструкции, запатентованной в 1851 г.

Знаменитый ученый Рейнольдс (Англия), исследуя конструкцию многоступенчатого насоса, ввел в нее прямой и обратный направляющие лопаточные аппараты и в 1875 г. запатентовал насос, в общих чертах аналогичный современным многоступенчатым насосам.

Широкое распространение центробежных насосов стало возможным только на основе применения электрической энергии и, в частности, при использовании электродвигателя трехфазного переменного тока, разработанного инженером В.О. Доливо-Добровольским (Россия, 1888 - 1889 гг.) К этому времени относится изобретение русским инженером В.А. Пушечниковым специального малогабаритного насоса для подъема подземных вод с больших глубин.

В России внедрение насосов в промышленность непосредственно связано с развитием горно-рудного дела. В 18 в. К.Д. Фролов и другие мастера горного дела применяли установки с поршневыми насосами для откачки воды из шахт.

В 18 в. был изобретен паровой двигатель. В 1738 г. Д. Бернулли вывел основополагающее уравнение жидкости, которое носит его имя. В 1750 г. Л. Эйлер впервые сделал математический анализ рабочего процесса, происходящего в центробежном насосе и реактивной турбине, и дал основное уравнение рабочего процесса турбомашин.

Примерно с начала 20-х годов 19-го века изменилось само назначение насосов. Если первоначально они предназначались только для подъема воды, то с этого времени они все шире применяются для перемещения жидкостей с различными вязкостью и концентрацией взвешенных частиц, а также химических жидкостей с различными степенью агрессивности и температурой.

Машины для перемещения воздуха и газов появились значительно позже насосов. Изобретателем воздушного поршневого нагнетателя - прототипа современных компрессоров с одной ступенью сжатия - считается немецкий физик О. Герике(1640г.).

.       
Насосы. Общие сведения

В состав любой Электрической станции входят два типа машин: машины - орудия (насосы) и машины - двигатели (турбины).Насосами в широком смысле называют машины для сообщения энергии рабочейсреде. В зависимости от рода рабочего тела, различают насосы для капельных жидкостей (насосы в узком смысле) и насосы для газов (газодувки и компрессоры). В газодувках происходит незначительное изменение статического давления, и изменением плотности среды можно пренебречь. В компрессорах при значительных изменениях статического давления проявляется сжимаемость среды.

Остановимся подробнее на насосах в узком смысле этого слова - насосах для жидкости. Преобразуя механическую энергию приводного двигателя в механическую энергию движущейся жидкости, насосы поднимают жидкость на определенную высоту, подают ее на необходимое расстояние в горизонтальной плоскости или заставляют циркулировать в какой-либо замкнутой системе. По принципу действия насосы подразделяют на динамические и объемные.

В динамических насосах жидкость движется под силовым воздействием в камере постоянного объема, сообщающейся с подводящими и отводящими устройствами. В объемных насосах движение жидкости происходит путем всасывания и вытеснения жидкости за счет циклического изменения объема в рабочих полостях при движении поршней, диафрагм, пластин. Работа любого насоса характеризуется следующими величинами: Объемная подача - Q, [м3/с] - объем жидкости подаваемый насосом в напорный трубопровод за единицу времени. Напор (удельная работа) - H, [Дж/кг] - полное количество энергии, сообщаемое 1 кг рабочего среды в насосе. Выраженный в метрах показывает высоту, на которую можно поднять жидкость с помощью насоса.

Частота вращения (для насосов имеющих вращающийся ротор) - n [об/мин] Состояние среды на входе: (температура и давление); плотность среды - [кг/м3] Мощность, N [Вт] - полная энергия подводимая к насосу в единицу времени Коэффициент полезного действия КПД,

отношение полной энергии, подведенной к насосу, к энергии переданной жидкости.

 

.        Виды насосов

По конструкционно-энергетическим признакам насосы подразделяются на: объемные, лопаточные, струйные, электромагнитные или магнитогидродинамические (МГД). В качестве основных насосов АЭС (циркуляционных, питательных, конденсатных), как правило, используются лопаточные машины. МГД насосы используются для токопроводящих жидкостей в космических и судовых ядерных реакторах. Струйные насосы и используются для откачивания неконденсирующихся газов из конденсаторов, деаэраторов и уплотнений. Объемные насосы используются главным образом во вспомогательных системах. К объемным насосом относят поршневые, плунжерные, ротационные, шестеренчатые и некоторые другие насосы.

Поршневые и плунжерные насосы (рис 1.) имеют цилиндр 4 и поршень 3, совершающий возвратно-поступательное движение. Цилиндр снабжен клапанами всасывания 1 и нагнетания 2. При прямом ходе поршня и открытом клапане 2 происходит процесс нагнетания рабочей среды в напорный трубопровод, при обратном ходе и открытом всасывающем клапане - заполнение объема цилиндра. Главная особенность работы поршневых насосов периодичность подачи и возвратно-поступательное движение и в связи с этим более сложный привод.

Рис 1. Схема поршневого насоса

Рис. 2 График подачи поршневого насоса.

Рис 3. Схема ротационного насоса

Ротационные насосы (рис.2) имеют цилиндрический ротор 2, эксцентрически расположенный в корпусе 1. В радиальных щелях расположены подвижные пластины, которые под действием центробежных сил прижимаются к внутренней поверхности цилиндра. Рабочая среда поступает через патрубок всасывания 5 и переталкивается лопастями в патрубок нагнетания.

Рис 3. Схема шестеренчатого насоса.

В шестеренчатом насосе (рис.3) полость всасывания 3 и полость нагнетания 2 разобщены находящимися в зацеплении зубчатыми колесами 1. Зубчатые колеса размещены в корпусе насоса с малыми осевыми и радиальными зазорами. Жидкость попадает в межзубчатое пространство и переталкивается из полости всасывания в полость нагнетания.

В струйном насосе-эжекторе (рис 4) поток рабочей жидкости разгоняется в сопле 1 и поступает в камеру смешения 2, в которой устанавливается пониженное давление. Камера 2 соединена с сосудом 6, в котором поддерживается более высокое давление. За счет разницы давлений среда поступает в камеру смешения 2 и смешивается с рабочей жидкостью. Далее смесь поступает в камеру смешения 3 и расширяющиеся сопло, в котором повышается статическое давление и далее в патрубок нагнетания 5. В качестве рабочей жидкости обычно используют воду, пар или газ высокого давления. Преимущества струйных насосов: простота конструкции отсутствие движущихся частей, высокая надежность; недостатки: низкий КПД, высокий шум при использовании пара в качестве рабочей жидкости.

Рис 4. Схема струйного насоса.

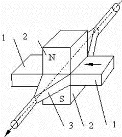
Рис 5. Схема МГД - насоса.

В простейшем МГД - насосе (рис. 5) рабочий канал 3 размещен в зазоре между полюсами магнита 2. К каналу по шинам 1 подводится электрический ток (в других конструкциях ток в рабочем канале индуцируется за счет расположенных в непосредственной близости от него катушек-обмоток переменного тока). За счет взаимодействия электрического и магнитного полей возникает движение электропроводящей жидкости - движение проводника с током в магнитном поле.

Преимущества МГД - насосов: простота конструкции и полной герметизации, отсутствие вращающихся частей, высокая надежность; недостатки: малый КПД, громоздкость, для работы многих типов МГД - насосов требуются специальные источники тока большой силы.

Лопаточные насосы.

К лопаточным насосам относятся центробежные, диагональные и осевые, отличающиеся друг от друга по направлению потока жидкости на выходе из рабочего колеса.

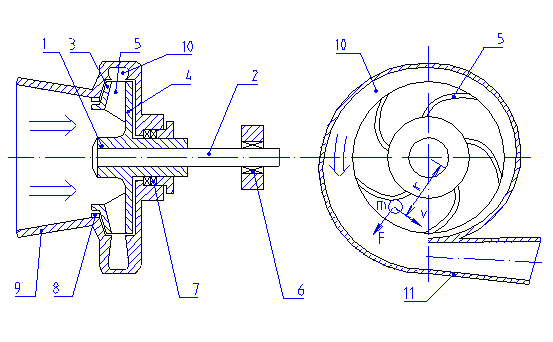
Лопастные насосы также подразделяются по потоку жидкости за рабочим колесом (с полуспиральным, спиральным или кольцевым отводом, коленчатым отводом), по числу потоков внутри рабочего колеса (одностороннего и двухстороннего входа) и по числу ступеней рабочих колес в насосе - одноступенчатый, многоступенчатый. Работа этих насосов основана на общем принципе - силовом взаимодействии лопастей рабочего колеса с обтекающим их потоком перекачиваемой жидкости. Основным рабочим органом центробежного насоса (рис 6) является свободно вращающееся внутри корпуса колесо 1, насаженное на вал 2. Рабочее колесо состоит из двух дисков (переднего 3 и заднего 4), отстоящих на некотором расстоянии друг от друга. Между дисками, соединяя их в единую конструкцию, находятся лопасти 5, плавно изогнутые в сторону, противоположную направлению вращения колеса. Внутренние поверхности дисков и поверхности лопастей образуют так называемые межлопастные каналы колеса, которые при работе насоса заполнены перекачиваемой жидкостью.

Ротор - вал с насаженными на него вращающимися деталями - вращается в подшипниках 6. Между вращающимися и неподвижными деталями могут быть установлены уплотнения 7 для снижения утечек из насоса и уплотнения 8 для уменьшения циркуляции внутри насоса. При вращении колеса на каждую часть жидкости (массой m), находящейся в межлопастном канале на расстоянии r от оси вала и движущуюся со скоростью v, будет действовать центробежная сила:

 

Под действием этой силы жидкость выбрасывается из рабочего колеса, в результате чего в центре колеса создается разряжение, а в периферийной его части - повышенное давление. Для обеспечения непрерывного движения жидкости через насос необходимо обеспечить подвод перекачиваемой жидкости к рабочему колесу и отвод от него. Жидкость поступает через отверстие в переднем диске рабочего колеса по всасывающему трубопроводу (подводу 9). Движение жидкости по всасывающему трубопроводу происходит вследствие разности давлений над свободной поверхностью жидкости в приемном бассейне (атмосферное) и в центральной области колеса (разряжение). Для отвода жидкости в корпусе насоса имеется расширяющаяся спиральная камера (в форме улитки, куда поступает жидкость, выбрасываемая из рабочего колеса. Спиральная камера (отвод 10) переходит в короткий диффузор, образующий напорный патрубок 11, соединяемый обычно с напорным трубопроводом.

Рис 6. Схема центробежного насоса.

Рис 7. Схема осевого насоса.

Рабочее колесо осевого насоса (рис.7) состоит из втулки 1, на которой укреплено несколько лопастей 2, представляющих собой удобообтекаемое изогнутое крыло с закругленной передней, набегающей на поток кромкой. Рабочее колесо насоса вращается в трубчатой камере 3, заполненной перекачиваемой жидкостью. При динамическом воздействии лопасти на жидкость за счет изменения скорости течения давление перед лопастью повышается, а за ней - понижается. Благодаря образующейся при этом силе основная масса жидкости в пределах колеса движется в осевом направлении, что и определило название насоса. Перед колесом устанавливаются неподвижные проточные элементы 4 (подводы), за колесом - отводы 5;

Осевые насосы выпускаются с жестко закрепленными на втулке лопастями рабочего колеса и с поворотными лопастями. По сравнению с центробежными осевые насосы имеют значительно большую подачу, но меньший напор. КПД осевых насосов достигает 0,9 и выше.

Диагональные насосы.

Поток жидкости, проходящий через рабочее колесо диагонального насоса, направлен не радиально, как у центробежных насосов, и не параллельно оси, как у осевых, а наклонно, как бы по диагонали прямоугольника, составленного радиальным и осевым направлениями.

По своим рабочим параметрам (подача, напор) диагональные насосы занимают промежуточное положение между центробежными и осевыми.

Явление кавитации

Кавитация в насосах объясняется нарушением сплошности жидкости в тех местах, где давление снижается до давления насыщенного пара при данной температуре, при этом происходит быстрое вскипание жидкости с образованием пузырьков пара, которые после перехода в зону повышенного давления и исчерпания кинетической энергии быстро сокращаются.

Сокращение кавитационного пузырька происходит с большой скоростью и сопровождается гидравлическим ударом и звуковым импульсом. Если кавитационные пузырьки замыкаются вблизи от обтекаемого тела, то многократно повторяющиеся удары приводят к разрушению поверхности этого тела (элементов проточной части насос). В местах разрушения пузырьков значения давления могут достигать 10000 кгс/см2 и сопровождаться сильным шумом со сплошным спектром от нескольких до тысяч килогерц.

Качественное изменение структуры потока, вызванное кавитацией, приводит к изменениям режима работы гидравлической машины. Эти изменения принято называть последствиями кавитации. Элементы проточной части гидравлических машин представляют собой сочетание направляющих поверхностей, предназначенных для управления потоком.

Борьба с кавитацией в насосах и других гидравлических машинах имеет большое значение, так как кавитация приводит к быстрому разрушению элементов проточной части и снижению их надежности. Кавитационному разрушению подвержены все конструкционные материалы, но в разной степени. Наиболее кавитационно-стойким материалом является аустенитная сталь благодаря равномерности ее структуры. Кроме разрушения материала, кавитация приводит к существенному снижению КПД, повышению вибрации, ударным нагрузкам на элементы проточной части и, в конечном итоге, к срыву характеристик Н, N и КПД.