Материал: Узлы и механизмы ткацкого станка

Внимание! Если размещение файла нарушает Ваши авторские права, то обязательно сообщите нам

Для первой группы механизмов длина отводимой ткани за один оборот главного вала не зависит от толщины прибиваемой уточной нити, при втором - зависит.

По способу навивания товарные регуляторы делятся на регуляторы прямого действия, в которых ткань наматывается сразу на товарный валик, и непрямого действия, в которых ткань навивается на товарный валик, предварительно обогнув вальян.

На рисунке 7 дана схема товарного регулятора независимого способа действия ткацких станков типа СТБ и АТПР, который осуществляет непрерывный отвод ткани из зоны формирования.

Товарные регуляторы с непрерывным отводом ткани более совершенны, чем с прерывным, так как отсутствуют ударные воздействий собачек при отводе ткани.

Наработанная ткань 1 (рис. 7 а) огибает грудницу 2, вальян 3, направляющий валик 4, направляющую планку 5 и наматывается на товарный валик 6.

Рисунок 7 - Схема движения ткани из зоны формирования к товарному валику станка СТБ (а) и  товарного регулятора независимого непрерывного действия (б)

Движение товарному механизму (рис. 7 б) передается от наборного валика 1, который вращается с такой же частотой, как и главный вал станка. От червяка Z1 движение передается червячной шестерне Z2, которая жестко соединена с храповиком 2 (на одной втулке) червячной шестерни с храповиком сидят на валу 9 свободно. Движение от храповика к валу 9 передается через двойную собачку 6, ось которой помещается в серьге 5, закрепленной на валу 9 жестко. Втулка соединена с серьгой 5 пружиной 4. Движение от вала 9 с помощью зубчатой передачи Z3, Z4, Z5, Z6, Z7, Z8, Z9, Z10, Z11 передается вальяну 8.

Вальяном ткань непрерывно отводится из рабочей зоны станка. Навивание ткани на товарный валик 10 осуществляется через звездочку 7, цепь 11, звездочку 12 и фрикционную муфту 13. В начале наматывания ткани на товарный валик окружная скорость его немного превышает окружную скорость вальяна, что компенсируется скольжением во фрикционной муфте, которая может регулироваться изменением силы сжатия пружин фрикционных колец муфты.

Длина ткани, которую отводит товарный регулятор за один оборот главного вала станка, см


где    Z1 - заходность червяка; Z3, Z4, Z5, Z6 - число зубьев сменных шестерен; dв - диаметр вальяна, см (dв = 16 см).

Плотность ткани по утку, нит/см

Ру =

Используя данный товарный регулятор, можно вырабатывать ткани с плотностью по утку от 36 до 750 нитей на 10 см и регулировать плотность ткани с интервалом 0,2 нити на 1 см.

6.       Механизмы натяжения и отпуска основы

Процесс отпуска основы с навоя и обеспечение ее необходимого натяжения осуществляются на ткацком станке механизмами отпуска и натяжения основы. С помощью этих механизмов решаются следующие задачи:

равномерный отпуск основы с навоя соразмерно с расходом ее в ткачестве;

создание необходимого режима натяжения основы (заправочного натяжения) и сохранение его постоянным в течение всего процесса.

По принципу действия механизмы разделяются на:

основные тормоза, в которых ткацкий навой поворачивается за счет натяжения нитей основы;

основные регуляторы, которые сами поворачивают ткацкий навой на определенный угол в зависимости от колебаний натяжения нитей основы.

Основные регуляторы бывают двух типов:

независимого действия (позитивные), которые отпускают с навоя постоянную, заранее установленную, длину основы независимо от ее натяжения;

зависимого действия (негативные), которые отпускают основу с навоя соразмерно с расходом ее в ткачестве и обеспечивают постоянный режим натяжения.

В отличие от основных тормозов в регуляторе имеется специальная подвижная система, которая воспринимает давление основы.

Органом (чувствительным элементом), воспринимающим давление основы, является скало. Подвижная система регулятора взаимодействует с механизмом вращения навоя.

На ткацких станках типа СТБ применяются основные регуляторы зависимого способа действия. Передача движения к ткацким навоям фрикционная, что дает возможность поворачивать навой на различные углы без применения сменных деталей.

На рисунке 8 представлена схема основного регулятора с фрикционной передачей. Основа 4, сматываемая с навоя 1, огибает скало 5, которое свободно вращается в подшипниках, расположенных на рычагах 6, которые могут поворачиваться вокруг оси О. К рычагам 6 крепятся болтами рычаги 7, на них действуют пружины 8. К рычагам 6 и 7 с левой стороны станка (если смотреть спереди станка) крепится рычаг-шатун 9, палец 10 которого входит в прорезь тяги 11. Болты б1 и б2 устанавливают так, чтобы между их головками и пальцем 10 был зазор, в пределах которого рычаг 9 мог бы свободно перемещаться при качании скала и нормальном натяжении основы. Нижний конец тяги 11 соединен с кулисой 12, которая, имея прорезь, может перемещаться относительно неподвижного пальца 13. Ось вращения кулисы О1 находится на одном из плеч двуплечего рычага 3, который в свою очередь может поворачиваться вокруг оси О2. На другом конце рычага 3 закреплен ролик 2. Он касается пространственной горки 17, выполненной за одно целое с корпусом ведущего диска 16, который жестко закреплен на конце валика 14, получающего движение от главного вала станка. Ведущий диск 16 вместе с валиком 14 может перемещаться вдоль его оси. К диску 16 прилегает ведомый фрикционный диск 15. На соприкасающихся поверхностях дисков 15 и 16 укреплены тормозные (фрикционные) прокладки.

Ведомый диск 15 через втулку соединяется с червяком Z, который входит в зацепление с червячной шестерней Z1. На одной оси с шестерней Z1 находится поднавойная шестерня Z2, соединенная с навойной шестерней Z3.

Во время работы станка диск 16 вращается вместе с валиком 14. За каждый оборот главного вала станка ролик 2 надавливает на горку 17 диска 16. в результате этого ведущий диск 16 перемещается вдоль валика в сторону ведомого диска 15, прижимается к нему и благодаря тормозным прокладкам происходит их сцепление. Диск 15 и червяк Z делают небольшой поворот и через червячную шестерню Z1 и соответствующие зубчатые колеса передает движение ткацкому навою. Навой поворачивается на некоторый угол и происходит отпуск основы. Величина отпуска основы зависит от угла поворота ведомого диска 15. Угол поворота диска определяется временем воздействия ролика 2 на горку диска 16.

Во время работы станка при нормальном натяжении основы скало совершает качательное движение относительно оси О, при этом установочные болты б1 и б2 отрегулированы так, что конец рычага-шатуна 9 свободно перемещается между этими болтами, а тяга 11 и вместе с ней кулиса 12 остаются неподвижными.

В условиях увеличивающего натяжения основы скало опускается, а конец рычага-шатуна 9 идет вверх, упирается в установочный болт б1 и несколько поднимает тягу 11. При этом кулиса 12 поворачивается по часовой стрелке относительно оси О1. Вследствие этого изменяется расстояние от пальца 13 до оси О1, так как прорезь кулисы выполнена, таким образом, что расстояние в нижней части кулисы меньше, чем в верхней. При движении тяги 11 конец кулисы с прорезью опускается, расстояние от пальца до оси О1 увеличивается и двуплечий рычаг 3 поворачивается против часовой стрелки. Ролик 2 переместится ближе к горке и продолжительность воздействия ролика на горку увеличится, а значит, увеличится время сцепления фрикционных дисков 15 и 16. В результате ведомый диск 15 повернется на больший угол, чем при нормальном натяжении основы и, следовательно, на больший угол повернется навой. Таким образом, при возрастании натяжения основы увеличивается ее отпуск с ткацкого навоя, и вследствие этого натяжение выравнивается.

С уменьшением диаметра намотки основы на навое угол поворота его должен все время увеличиваться, чтобы сохранить постоянную величину отпуска основы. Это происходит благодаря увеличению времени сцепления фрикционных дисков 15 и 16, так как по мере уменьшения диаметра намотки основы скало постоянно опускается и ролик 2 перемещается ближе к горке 17.

Рисунок 8 - Схема фрикционного основного регулятора

зависимого действия станка СТБ

7.       Предохранительные механизмы

На каждом ткацком станке, кроме основных механизмов, непосредственно участвующих в выработке ткани, установлен целый ряд предохранительных приспособлений и механизмов. Предохранительные приспособления предназначены для предупреждения пороков ткани в случае обрыва основной или уточной нити. Кроме того, отдельные предохранительные приспособления освобождают ткача от непрерывного наблюдения за работой станка, предупреждают поломки деталей станка.

По назначению предохранительные механизмы разделяются на две группы:

) механизмы, предупреждающие образование порока ткани - недосека (т. е. отсутствие утка в ткани). К этой группе относятся уточные контролеры и контролеры опушки ткани на бесчелночных станках, разоискатели, недосечник. Автоматические разоискатели применяются главным образом в шерстоткацком производстве на многочелночных станках;

) механизмы, предупреждающие образование порока ткани при обрыве основной нити; к ним относятся  основонаблюдатели, которые делятся на механические и электрические;

Все перечисленные механизмы при нарушениях автоматически останавливают станок.

.1 Уточные предохранители

Назначение уточных предохранителей - уточных контролеров и контролеров опушки ткани - состоит в том, чтобы при обрыве или сходе уточной нити с паковки предупредить возникновение пороков в ткани (недосек, прометок). Уточные предохранители при прекращении введения утка в зев останавливают станок.

На станках новых конструкций применяют боковые уточные контролеры электрического действия.

Принцип работы уточных предохранителей всех видов одинаков и состоит в том, что при наличии уточной нити в зоне ее контроля контролер утка сопротивлением натянутой уточной нити кинематически отключается от механизма выключения станка. При отсутствии уточной нити контролер  действует на механизм выключения станка, вызывая его останов.

Рассмотрим устройство и работу уточного контролера и контролера опушки ткани на станке АТПР.

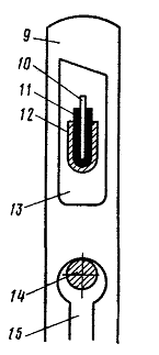
Уточный контролер, расположенный с правой стороны станка на входе нити в правую рапиру, представляет собой металлическую петлю 1 (рис. 9, а), поддерживаемую в горизонтальном положении уточной нитью 2. При отсутствии уточной нити петля под действием собственной массы поворачивает ось 3. Контакт 4 также поворачивается до соприкосновения со штырем однополюсной вилки 5, замыкая его на корпус станка, что вызывает включение электромагнита останова станка.

Рисунок 9 - Схема уточной вилочки (а) и контролера опушки ткани (б) станка АТПР

Контролер опушки ткани (рис. 9, б) размещен на крышке левой шпарутки и представляет собой металлический пруток - щуп 8, посаженный на ось 10. Правый конец щупа пружиной 7 прижимается к поверхности ткани 9 на расстоянии 2- 4 уточин от опушки. При отсутствии утка опушка ткани перемещается влево и конец щупа 8 проходит между нитями основы. Щуп поворачивается вместе с валиком 10, и короткий конец 11 щупа 8 замыкается на однополюсную вилку 6. Замыкание цепи вызывает срабатывание электромагнита останова станка.

.2 Основные предохранители

Назначение основных предохранителей - основонаблюдателей - состоит в том, чтобы при обрыве одиночной нити основы остановить станок и предупредить появление порока в ткани - близн и подплетин.

По принципу действия основонаблюдатели делятся на два типа - механического и электрического действия, а по наличию органа, контролирующего целостность основной нити,- ламельные и безламельные.

Наибольшее распространение получили ламельные основонаблюдатели электрического действия на бесчелночных станках.

Основонаблюдатель электрического действия, установленный на станках типа СТБ устроен следующим образом. Максимальное число реек основонаблюдателя равно 6.

Ламельная рейка (рис. 10) представляет собой два электрических проводника - стальную обойму 12 и латунную шину 10, изолированных друг от друга диэлектриком 11. К проводникам подведено напряжение 12 В. На рейке прорезями 13 набраны ламели 9 в количестве, равном числу нитей основы.

Рисунок 10 - Схема рейки и ламели

Нижними открытыми прорезями 15 ламели насажены на нити основы 14, которыми ламели 9 удерживаются в приподнятом положении над рейками. При обрыве нити основы ламель под действием собственной массы падает и благодаря скошенному профилю верхней прорези 13 ламель замыкает проводники, включенные в электрическую цепь, и вызывает останов станка.

8.       Механизм для питания станка утком различных видов ткацкого станка СТБ

Для выработки некоторых тканей применяют уточную пряжу различного цвета, линейной плотности, крутки, структуры и т. д.

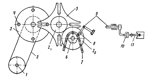
На ткацких станках СТБ для выработки ткани из различной уточной пряжи используют двух-, четырёх- и шестиуточные приборы. На рис. 11 представлена схема двухуточного прибора станка СТБ-2-216.

От приводного валика 1 через цепную передачу 2 получает вращение диск 3. На его торцовой поверхности расположены пальцы 4, которые передают вращение мальтийскому кресту 5. От него через шестерни Z1 и Z2 движение получает призма 6 с надетым на нее картоном 7.

Рисунок 11 - Схема двухуточного прибора станка СТБ

Картон состоит из шарнирно соединенных металлических пластин двух видов - овальной формы и с горкой. К картону пружиной прижимается ролик 8. При подходе пластины с горкой ролик отжимается в одном направлении, а при подходе овальной пластины - в другом. При этом поворачивается валик 9. Далее движение передается через зубчатый сектор 10 рычагу 11, который перемещает возвратчик утка. На линии прокладчика устанавливается возвратчик утка с нитью необходимого цвета.

Литература

Лабораторный практикум по механической технологии текстильных материалов / В. Ф. Галкин [и др. ] ; под ред. А. Г. Севостьянова. - 2-е изд. , перераб. и доп. - Москва : Легпромбытиздат, 1993. - 272 с.

механическая технология текстильных материалов: учебник для вузов / А. Г. Севостьянов [и др. ] ; под ред. А. Г. Севостьянова. - Москва : Легпромбытиздат, 1989. - 512 с.

Гордеев, В. А. Ткачество : учебник для вузов / В. А. Гордеев, П. В. Волков.  - 4-е изд., перераб. и доп.  - Москва : Легкая и пищевая промышленность, 1984. - 485 с.

Малафеев, Р. М., Машины текстильного производства. / Р. М. Малафеев, Ф. Ф. Светик - Москва : Машиностроение, 2002. - 496 с.

Башметов, В. С. Оборудование ткацкого производства на выставке ITMA-2003 : учебное пособие / В. С. Башметов, Т. П. Иванова, А. В. Башметов ; УО «ВГТУ». - Витебск, 2004. - 39 с.