Материал: Устройство для измерения высоких температур

Внимание! Если размещение файла нарушает Ваши авторские права, то обязательно сообщите нам

Устройство для измерения высоких температур

МИНИСТЕРСТВО ОБЩЕГО И ПРОФЕССИОНАЛЬНОГО ОБРАЗОВАНИЯ

РОССИЙСКОЙ ФЕДЕРАЦИИ

САНКТ-ПЕТЕРБУРГСКИЙ НАУЧНО-ИССЛЕДОВАТЕЛЬСКИЙ УНИВЕРСИТЕТ ИНФОРМАЦИОННЫХ ТЕХНОЛОГИЙ, МЕХАНИКИ И ОПТИКИ

Кафедра Систем Управления и Информатики

Группа4146

 

 

 

ПОЯСНИТЕЛЬНАЯ ЗАПИСКА

к курсовому проекту

Устройство для измерения высоких температур.



Автор курсового проекта

Черников М.М.

Руководители

Быстров С.В.




Санкт-Петербург

Содержание

Содержание

Введение

Перечень используемыx сокращений

. Сравнительный анализ существующих решений

. Разработка функциональной схемы измерительного устройства

. Теория метода измерений

. Выбор элементов

.1 Микроконтроллер

.2 Фотодиоды

.3 Оптическая схема

.4 Блок питания

.5 Операционный усилитель

. Разработка принципиальной электрической схемы

. Разработка конструкции

Заключение

Литература

Приложения

Введение

Целью данной курсовой работы является разработка устройства для измерения температуры раскаленного металла.

В работе будут рассмотрены четыре аналога, найденных на первом этапе работы. Это необходимо для определения оптимальной конструкции, как самого датчика, так и устройства. Проведён сравнительный анализ данных устройств.

Исходные данные для проектирования представлены в таблице 1.1

Таблица 1.1 - параметры технического задания.

Диапазон изменения температуры

600 - 2200 °C

Допустимая погрешность измерения

5%

Выходной сигнал устройства

16-ти разрядный параллельный код

Базовый источник питания

220 В, 50 Гц



Перечень используемых сокращений

АЦП - аналого-цифровой преобразователь

БП - блок питания

ИП - источник питания

МкП - микропроцессор

ОЗУ - оперативное запоминающее устройство

ОС - оптическая система

ОУ - операционный усилитель

ПП - первичный преобразователь

СДУ - светоделительная система

ТЭДС - термо-электродвижущая сила

У - усилитель

ФП - фотоприёмник

ЦАП - цифро-аналоговый преобразователь

1. Сравнительный анализ существующих решений

Пирометры применяют для дистанционного определения температуры объектов. Их можно разделить по нескольким основным признакам:

Яркостные. Позволяют визуально определять, как правило, без использования специальных устройств, температуру нагретого тела, путем сравнения его цвета с цветом эталонной нити.

Радиационные. Оценивают температуру посредством пересчитанного показателя мощности теплового излучения. Если пирометр измеряет в широкой полосе спектрального излучения, то такой пирометр называют пирометром полного излучения.

Цветовые (мультиспектральные, спектрального отношения) - позволяют делать вывод о температуре объекта, основываясь на результатах сравнения его теплового излучения в различных спектрах.

В качестве примера яркостного пирометра может выступить устройство, имеющее патентный номер 2287785 - «Устройство дистанционного бесконтактного пирометрического определения яркостной температуры» (патент приведён в приложении А1).

Сущность изобретения: в яркостном пирометре с "исчезающей нитью" используется излучение термостатированной светоизлучающей гетероструктуры, вводимое в поле зрения наблюдателя. Излучение от объекта и эталона проходит через светофильтр со спектральной характеристикой пропускания, идентичной спектральной характеристике излучения термостатированной светоизлучающей гетероструктуры. О равенстве яркостных температур судят по исчезновению изображения термостатированной светоизлучающей гетероструктуры на фоне исследуемого объекта. Перед окуляром установлен нейтральный фильтр, ослабляющий излучение измеряемого объекта и эталонной гетероструктуры. Технический результат - повышение точности бесконтактного определения температуры и расширение диапазона измерения температуры различных объектов методом яркостного пирометра с "исчезающей нитью".

Действие цветовых пирометровосновано на том, что с изменением температуры меняется цвет накаленного тела. При этом, если выделить в спектре излучения накаленного тела два монохроматических излучения с длинами волн и (соответствующих, например, красному и синему свету), то с изменением цвета будет меняться соотношение яркостей этих излучений.

Патент №2366909 «Многоканальное устройство для измерения пирометрических характеристик» (патент приведён в приложении А2).

В отличие от оптических пирометров с исчезающей нитью и цветовых пирометров, в радиационных пирометрахиспользуется тепловое действие полного излучения нагретого тела, включая как видимое, так и не видимое излучение. В связи с этим радиационные пирометры называются также пирометрами полного излучения. В качестве чувствительного элемента в радиационных пирометрах используется термобатарея из нескольких миниатюрных последовательно соединенных термопар (2) (рис. 1.1), рабочие спаи которых нагреваются излучением объекта измерения (1), фокусируемых с помощью оптической системы (3). Возникающая ТЭДС измеряется с помощью милливольтметра или автоматического потенциометра (4), градуированного в градусах.

Рисунок 1.1 - Схема радиационного пирометра (1 - объект измерения, 2 - блок термопар, 3 - оптическая система, 4 - измерительный прибор)

Патент №2437068. «Пирометр» (патент приведён в приложении А3).

Изобретение относится к технике измерения физической температуры объекта по его тепловому радиоизлучению. Технический результат заключается в повышении точности измерений за счет исключения влияния на результаты измерений излучательной способности поверхности объекта, коэффициента пропускания атмосферы и угла приема. Устройство основано на модуляционной пирометрии. Изобретение включает периодическое облучение объекта шумовым излучением с широким диапазоном частот и приём в первый интервал времени в первом канале теплового излучения объекта и во втором канале излучения, формируемого источником опорного излучения, прием во второй интервал времени, равный первому интервалу, в первом и втором каналах излучения эталона. Облучение объекта шумовым излучением осуществляют одновременно с приемом в первом канале радиоизлучения объекта и заканчивают в момент завершения приема в первом канале излучения эталона. Принятое излучение преобразуют в электрические сигналы, которые совместно с параметрами шумового сигнала используют для определения физической температуры объекта.

В данной курсовой работе выбран метод спектрального отношения. Контактные методы измерения температуры не принимались в расчет из-за необходимости измерения слишком высоких температур.

Рассмотрим более подробно пирометры спектрального отношения на примере патентов №2347198 и №2290614.

Патент №2398194 «Двухканальный пирометр» (патент приведён в приложении А4). Приведем его блок-схему (рис. 1.2):

Рисунок 1.2- Блок-схема двухканального пирометра (1 - объектив, 2 - светофильтр, 3,4 - фотоприёмники, 5,6 - усилители, 7 - микропроцессор)

Объектив (1) строит изображение объекта на фотоприемниках (3) и (4). Перед фотоприемником (3) установлен светофильтр (2). Фотоприемник (3) выполнен в виде светофильтра. Светофильтр (2), фотоприемники (3) и (4) расположены на одной оси. Сигнал с фотоприемников поступает соответственно на усилители (5) и (6), подключенные к входу микропроцессора (7). К выводам каждого фотоприемника подключен генератор импульсов (8), который используется для нагревания фотоприемников.

Измерение температуры объекта включает не менее двух циклов, в каждом из которых фиксируется температура обоих фотоприемников и выходной сигнал пирометра. Расчет истинной температуры осуществляется путем решения системы уравнений:

 

 

 

 

 

где: E1, E2 - выходные сигналы обоих фотоприёмников при их температуре, равной Т1;  - выходные сигналы обоих фотоприёмников, после их нагрева до температуры Т2; ε(λ) - функция коэффициента теплового излучения; λ - длина волны излучения; Т1, Т2 - измеренная температура фотоприёмников; М - характеристика, зависящая от оптической схемы и иных параметров конкретного пирометра; f(T,λ) - спектральная плотность светимости.

Спектральная плотность светимости может быть представлена формулой Вина:

 

где:С1, С2 - постоянные коэффициенты, λ - длина волны излучения измеряемого объекта, Т - термодинамическая температура.

Если имеются значения температуры фотоприемника, значения длин волн для каждого поддиапазона, а также вид зависимости, то получаем систему 5-ти уравнений с 5-ю неизвестными, при решении которых находится искомая температура.

Патент №2347198 «Трихроматический пирометр» (патент приведён в приложении А5). Схема устройства приведена на рис. 1.3:

Рисунок 1.3 - Блок-схема трихроматического пирометра (1 - объектив, 2 - диафрагма, 3 - модулятор, 4 - электродвигатель, 5 - оптическая система, 6 - светоделитель, 7, 8 - фотоприёмники, 9, 10 - светофильтры, 11, 12, 13 - усилители, 14 - микропроцессор, 15 - индикатор)

Пирометр имеет объектив (1), в фокальной плоскости которого расположена полевая диафрагма (2), ограничивающая пучок лучей, поступающих в пирометр.

В непосредственной близости от полевой диафрагмы (2) установлен модулятор (3), вращаемый электродвигателем (4). На оптической оси объектива (1) расположена промежуточная оптическая система (5), фокусирующая поток излучения на фотоприемники. На некотором расстоянии от оптической системы (5) под углом к оптической оси объектива установлено светоделительное зеркало (6), которое делит поток излучения на две составляющие. В одной составляющей расположен двухплощадочный фотоприемник (7), а в другой составляющей - одноплощадочный фотоприемник (8). Перед двухплощадочным фотоприемником установлен светофильтр (9), а перед одноплощадочным - фильтр (10). Выход каждого фотоприемника подключен к соответствующему усилителю (11), (12), (13), сигналы с которых поступают на микропроцессор (14), который управляет работой индикатора (15). Светофильтр (9) поглощает излучение в видимой части спектра, например, в области длин волн λ = 0.3 … 0.6 мкм. Такое свойство светофильтра необходимо для того, чтобы избежать нежелательной засветки от внутренних стенок трубы пирометра. Первая площадка двухплощадочного фотоприемника выполнена в виде фильтра, пропускающего излучение с длинами волн λ > 0.8 мкм.Вторая площадка расположена тандемом за первой так, что на нее попадает излучение, прошедшее через первую площадку. Первая площадка для видимой части спектра имеет полосу пропускания, например, в области длин волн λ = 0.6 … 0.7 мкм.Вторая площадка для коротковолновой области ИК-спектра - с полосой пропускания, например, в области длин волн λ = 1 … 1.1 мкм. Перед одноплощадочным фотоприемником (8) установлен фильтр (10), ограничивающий спектральный состав средневолнового потока ИК-излучения областью λ = 2 … 3 мкм.

Спектральная плотность Lλэнергетической яркости с учетом коэффициента направленного теплового излучения ε(λ)для реальных тел определяется по формуле Вина:

 

где: λ - длина волны излучения, Т - температура тела.

Коэффициент теплового излучения ε(λ) не является постоянной величиной, а зависит от длины волны λ. Поэтому, когда данные об ε(λ) отсутствуют, используется аппроксимация ε(λ), например, линейная. В таких случаях измерения производятся не менее, чем в трех участках спектра.

Если принять ε(λ) = a + bλ, то, составив систему уравнений Вина для трех участков спектра, получим:

 

 

 

Получается три уравнения с тремя неизвестными. Таким образом, применение трихроматической пирометрии позволяет заметно уменьшить влияние излучательной способности ε(λ) на результаты теплового состояния тел.

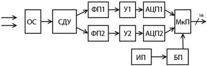
2. Разработка функциональной схемы измерительного устройства

Рисунок 2.1 - Функциональная схема измерительного устройства (ОС - оптическая система, СДУ - светоделительное устройство, ФП1, ФП2 - фотоприёмники, У1, У2 - усилители, АЦП1, АЦП2 - аналого-цифровые преобразователи, МкП - микропроцессор, БП - блок питания, ИП - источник питания)

Поток теплового излучения проходит через оптическую систему (ОС) в светоделительное устройство (СДУ), после чего попадает на фотоприемники (ФП1) и (ФП2).

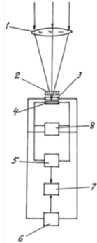
Рисунок 2.2 - Схема оптической и светоделительной системы (1 - объектив, 2 - светоделитель, 3, 4 - светофильтр, 5, 6 - фотодиоды, 7 - вторичный преобразователь)

Фототок с фотодиодов усиливается в усилителях (У1) и (У2) и попадает в аналого-цифровые преобразователи (АЦП1) и (АЦП2), цифровой код с которых поступает на микропроцессор, выполняющий необходимые вычисления и формирующий конечный результат в виде 16-ти разрядного параллельного кода. Питание осуществляется от блока питания (БП), преобразующего напряжение с исходного источника питания (ИП).

Схема оптической и светоделительной системы приведена на рис. 2.2:

Поток проходит через линзу объектива (1) и с помощью расположенного под углом к оптической оси светофильтра в виде полупрозрачного зеркала (2) делится на две составляющие, каждая из которых проходит через соответствующий светофильтр (3), (4) на соответствующий фотодиод (5), (6). Аналоговый сигнал с фотодиодов поступает на вторичный преобразователь (7), выполняющий дальнейшие преобразования и вычисления.

3. Теория метода измерения

Испускательная способность абсолютно чёрного тела может быть определена для различных длин волн и температур по формуле Планка:

 

где с - скорость света в вакууме, ℏс/λ = ℏν = ε - энергия фотона, ℏс/λkT = ε/kT - характерное отношения энергии фотона и теплового движения частиц тела.

Следовательно, для узкого диапазона длин волн от до d, в котором испускательную способность r*(λ, Т) можно считать постоянной,