Материал: Учеб.пособие. Выбор передачи

Внимание! Если размещение файла нарушает Ваши авторские права, то обязательно сообщите нам

Откуда

с-1,

следовательно

кВт.

Рис.1.4. Определение режима работы двигателя

По ограничительной характеристике

Использование номинальной мощности Ne2 составит

,

причем дальнейшее увеличение сопротивления корпуса судна приведет к уменьшению этого показателя.

Скорость хода судна на этом режиме работы ГД составит

узл,

а возможно достижимая скорость при мощности ГД Ne2= 7500 кВт будет равна

узл.

Таким образом, недоиспользование мощности приведет к снижению скорости на следующую величину:

узл.

6. Вычисляем безразмерный коэффициент момента k22 для согласованного ГВ по формуле (1.1):

.

7. При тех же значениях и , рассчитанных в при­мере 1, вычисляем величину относительной поступи винта:

.

9. По координатам k22=0,022 и = 0,42 на расчетной диаграмме ГВ находим искомую точку А на кривой H2/D1 = 0,75.

10. Определяем шаг откорректированного ГВ:

м.

11. При первоначальном неизменном шаге ГВ H1 = 4,074 м определим диаметр откорректированного винта D2 через значение постоянной:

м,

откуда

м.

1.2. Согласование путем применения врш

Винты регулируемого шага (ВРШ), лопасти которых специальным механизмом поворачиваются относительно осей, перпендикулярных оси вала, не имеют большинства недостатков, присущих ВФШ. Путем разворота лопасти (изменив шаговое отношение) всегда можно привести винт в соответствие с двигателем; без изменения направления вращения двигателя осуществить реверс судна и получить самые малые, даже нулевую, скорости судна при любой частоте вращения винта.

ВРШ (рис. 1.5) состоит из ступицы, поворотных лопастей, механизма поворота лопастей, расположенного в ступице, механизма изменения шага (МИШ) и привода механизма поворота лопастей, располагаемого в валопроводе. Управление ВРШ осуществляется с местного поста или дистанционно. Пост дистанционного управления ВРШ устанавливается в ходовой рубке.

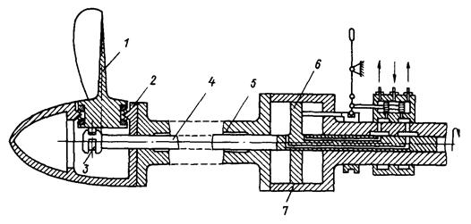
Рис. 1.5. Принципиальная схема ВРШ:

1– лопасть; 2 – ступица; 3 – ползун; 4 – штанга; 5 – гребной вал;

6 – поршень; 7 – цилиндр

Механизм поворота лопастей управляется механизмом изменения шага. Наиболее распространенные механизмы поворота лопастей показаны на рис. 1.6. На морских судах применяются обычно механизмы двух последних типов, как наиболее надежные. В механизме кулисного типа (рис. 1,6, в) с поступательно движущейся штангой МИШ связан ползун, по направляющим которого перемещается сухарь. В сухарь вставлен эксцентрично закрепленный на лопасти палец. При поступательном движении штанги ползун передвигает палец и разворачивает лопасть. В механизме шатунного типа (рис. 1.6, г) движение штанги передается шатуну, который поворачивает лопасть.

Рис. 1.6. Механизм поворота лопастей:

а – шестеренчатый; б – винтовой; в – кулисный; г – шатунный

Механизмы изменения шага по типу привода могут быть ручными, механическими, гидравлическими, электромеханическими и электрогидравлическими. Ручные и механические приводы применяются на винтах небольших размеров. Большинство ВРШ имеют гидравлические приводы, так как они обладают простотой, высокой надежностью, малыми габаритами и развивают большие усилия. Механизм изменения шага винта размещают внутри ступицы, внутри валопровода и вне валопровода и винта. На промысловых судах МИШ устанавливается, как правило, в валопроводе, реже в ступице. На рис. 1.5 приведена схема ВРШ с МИШ, расположенным в валопроводе.

Штанга, поворачивающая лопасть, проходит через полый гребной вал. Кормовой конец штанги связан с ползуном, носовой – с поршнем, который под давлением рабочей жидкости, подаваемой в одну из полостей цилиндра, передает через штангу поступательное движение ползуну. При большой длине штанги и значительных деформациях валопровода может возникнуть опасность несрабатывания механизма поворота лопастей и аварии МИШ. Этот недостаток устраняют, размещая МИШ в ступице несколько больших размеров или в кормовом подзоре судна.

ВРШ обладают следующими преимуществами:

- обеспечивают полную мощность двигателя при широком диапазоне изменения скоростей, что важно при движении судна во льдах, при различных водоизмещениях, при тралении, при буксировке других судов;

- обеспечивают любое значение скорости от наибольшего переднего до наибольшего заднего хода, без реверсирования двигателя и изменения направления и частоты вращения гребного винта;

- реализуют экономический ход судна по заданной оптимальной программе, обеспечивающей наилучшую комбинацию шага и частоты вращения.

К основным недостаткам ВРШ относятся следующие:

- КПД ВРШ на расчетном режиме за счет повышения диаметра ступицы ниже КПД ВФШ на 1...2%;

- масса ВРШ существенно превышает массу ВФШ;

- сложность конструкции и дороговизна.

Вместе с тем, следует отметить, что повышенная стоимость ВРШ окупается за два - три года эксплуатации судна за счет основных преимуществ ВРШ.

1.3. Согласование путем применения редуктора

С увеличением диаметра гребного винта его КПД повышается, но частота вращения, при которой КПД имеет наибольшее значение, становится меньше. Для водоизмещающих речных и смешанного «река-море» плавания судов оптимальная частота вращения винтов составляет 250...120 мин-1, для крупнотоннажных морских судов – 100...70 мин-1. Между тем частота вращения вала двигателей (особенно турбинного типа), при которой они имеют наивыгоднейшие экономические, массовые и габаритные показатели, обычно намного превосходит оптимальную частоту вращения гребного винта. В таких случаях между двигателем и движителем необходимо иметь передачу, способную редуцировать частоту вращения и трансформировать вращающий момент двигателя.

В установках с реверсивными двигателями применяют обычно передачи с понижающими редукторами. Если для обеспечения заданной скорости движения судна приходится выбирать двигатель требуемой мощности с большой частотой вращения вала, то в таких случаях для получения оптимальной частоты вращения гребного винта необходимо устанавливать понижающий редуктор. Зубчатый редуктор обычно поставляет завод-изготовитель двигателей (ДРА) и он может быть встроенным в двигатель.

При выборе редуктора следует иметь в виду, что у одноступенчатого редуктора направление вращения выходного фланца противоположно направлению вращения коленчатого вала двигателя. Для таких редукторов характерна несоосность входного и выходного валов. Редукторы могут быть с встроенным упорным подшипником или не иметь его вовсе. В таком случае упорный подшипник располагается за редуктором.

Разновидностью зубчатых редукторов являются двухступенчатые планетарные. Они также обычно встроены в двигатель. Такие редукторы применяют в энергетических установках с газовыми турбинами на судах на подводных крыльях и воздушной подушке. Их передаточное число может доходить до 14 и более. Планетарные редукторы используют при мощности СЭУ до 3000 кВт.

Угловые редукторы применяют на судах с высокооборотными ДВС или газовыми турбинами, располагающимися в кормовой части судна. Посредством углового редуктора вращающий момент главного двигателя передается гребному винту, установленному на валопроводе, имеющем значительный наклон (до 140) к оси вала двигателя.

Зубчатую передачу с разделением мощности ГСЭУ используют при достаточной ширине машинного помещения и малой осадке судна (порядка 0,5 м) в целях увеличения гидравлического сечения движителей (обычно водометов). При этом устанавливают один реверсивный двигатель, вращающий момент которого передается через зубчатые колеса винтам двух водометов.

Применение суммирующих зубчатых редукторов позволяет создавать блочные дизельные установки. Посредством таких редукторов можно суммировать мощность нескольких среднеоборотных двигателей для работы на один гребной винт.

Одним из преимуществ блочных установок является возможность на режимах уменьшенной мощности выключать часть двигателей; оставшиеся в работе двигатели могут при этом использоваться при более полной загрузке, т.е. работать с наибольшей эффективностью.

Кроме того, такие блочные компоновки нашли применение на судах, имеющих ограниченные габариты машинных отделений. В настоящее время находятся в эксплуатации ДУ с двумя и четырьмя главными двигателями.

Передачи с реверс-редукторами используют в установках с нереверсивными двигателями, имеющими частоту вращения коленчатого вала выше 500 мин-1. Реверс-редуктор позволяет не только реверсировать гребной вал, но и отсоединять валопровод от двигателя, обеспечивая его запуск без нагрузки.

Понижающую часть реверс-редуктора обычно делают одноступенчатой. Направление вращения выходного фланца при работе передний ход противоположно направлению вращения коленчатого вала двигателя. При работе на задний ход оно совпадает с направлением вращения коленчатого вала, что обеспечивается установкой промежуточной шестерни. Оси вала двигателя и выходного вала реверс-редуктора расположены несоосно. Реверс производится с помощью фрикционных муфт, включаемых и выключаемых дистанционно посредством гидравлического привода или механической рукояткой, расположенной на реверс-редукторе.

Реверс-редуктор обычно поставляет завод-изготовитель двигателя. Он может быть встроенным в двигатель (ДРРА) с вмонтированным упорным подшипником или не иметь его. В последнем случае упорный подшипник устанавливают за реверс-редуктором.