Исходные компоненты и соотношение (% масс.) между ними: оксид иттрия (Y2O3) — 14,9; углекислый барий (ВаСО3) — 52,7; оксид меди (CuO) — 32,4.
Свойства иттриевых ВТСП, в первую очередь, зависят от технологии изготовления и от химического состава (рис. 6.12).
Рис. 6.12. Влияние среды, в которой производится обжиг керамики, и химического состава на свойства иттриевого ВТСП Y1Ba2Cu3O7-δ
Кристаллическая ячейка Y — ВТСП содержит 20 ионов Y, Ba, Cu, О. В решетке наблюдается некоторая слоистость, т. е. она состоит из двух плоскостей: в одной из них располагаются ионы меди Сu2+, а в другой области имеют место кислородные вакансии. При высоком содержании кислородных вакансий (δ более 0,6) в Y1Ba2Cu3O7-δ происходит перестройка кристаллической решетки, и сверхпроводящее состояние исчезает (рис. 6.13).
δ |
Рис. 6.13. Зависимость Тс Y− ВТСП от количества кислородных вакансий
Y – ВТСП – типичный сверхпроводник второго рода.
183
ВТСП имеют высокую критическую температуру Тс, большую, чем температура испарения жидкого азота.
В табл. 6.5 приводятся основные характеристики ВТСП и низкотемпературных сверхпроводников (НТСП).
|
|
|
|
|
Таблица 6.5 |
Некоторые характеристики ВТСП и НТСП |
|||||
|
|
|
|
|
|
Характеристика |
ВТСП |
|
НТСП |
||
|
|
|
|
|
|
Bi – ВТСП |
Y – ВТСП |
Nb3Ge |
|
Nb |
|
|
|
||||
|
|
|
|
|
|
Тс, К |
110 |
93 |
23,2 |
|
9,4 |
|
|
|
|
|
|
Вс, Тл |
400 |
200 |
40 |
|
0,195 |
(при Т = 4,2 К) |
|
||||
|
|
|
|
|
|
|
|
|
|
|
|
Таким образом, сопоставление ВТСП и НТСП по Тс и Вс позволяет отдать предпочтение высокотемпературным сверхпроводникам. Что же касается сопоставления данных материалов по критической плотности тока Jс, то здесь не все однозначно.
Тонкие пленки из ВТСП имеют Jс равную примерно 105 – 10 7 А/см2. Рекордным значением является значение Jc 109 А/см2 для пленки толщиной 500 Å.
Массивные керамические образцы ВТСП имеют Jс |
равную |
||
102 – 10 3 А/см2. |
|
|
|
Подобные низкие значения критической плотности тока свя- |
|||
заны с |
высокой пористостью ВТСП — |
керамики |
(порядка |
15 – 20 %) |
и наличием большого количества «слабых |
связей» |
|
(«Джозефсоновская среда»). Схематически соответствующая микроструктура высокотемпературной сверхпроводящей керамики представлена на рис. 6.14.
184
Jc = 105 −107 смА2




Jc = 100 −102 смА2
J |
|
102 −103 |
А |
|
c общая |
см2 |
|||
|
|
Рис. 6.14. Микроструктура ВТСП − керамики
Технически можно уменьшить пористость сверхпроводника, но тогда кислород не сможет проникнуть внутрь материала, что приведет к исчезновению сверхпроводимости.
Критическая плотность тока ВТСП так же, как и в случае НТСП, зависит не только от температуры, но и от величины магнитной индукции (рис.6.15). Чем ниже температура, тем меньше уменьшение Jc под действием магнитного поля.
A
Jс , см2
Рис. 6.15. Зависимость критической плотности тока (Jc) от магнитной индукции (В) для иттриевого ВТСП
185
Проблему низких критических плотностей тока ВТСП − керамики пытаются решить путем создания специальной структуры из ориентированных микрокристаллов, т. е. последние располагаются не хаотично, а направленно (рис. 6.16).
Рис. 6.16. ВТСП − керамика с ориентированной структурой
Микрокристаллы ВТСП должны быть вытянутой формы. Ориентирование микрокристаллов делается следующим образом: сначала получают расплав ВТСП при температуре 1400 ° С. Затем из расплава при специальном внешнем воздействии (например, за счет градиента температуры) вытягивают нити, при этом микрокристаллики образуют ориентированную структуру. Подобная структура приводит к росту критической плотности тока (рис. 6.17).
A
Jс , см2
Рис. 6.17. Влияние ориентированной структуры наJc ВТСП− керамики
Изготовление изделий из ВТСП
Для электротехники, чаще всего, требуются длинномерные сверхпроводниковые изделия (например, провода, кабели и др.). С момента открытия ВТСП (1987 г.) были опробованы различные
186
варианты изготовления подобных длинномерных изделий из ВТСП − керамики. Некоторые из этих вариантов технологии приведены ниже.
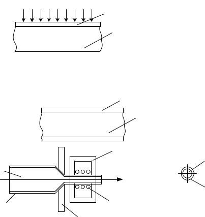
Первый способ — окисление металлического сплава Y – Ba – Cu (рис. 6.18). Второй способ — ВТСП в металлической трубке
(рис. 6.19).
Рис. 6.18. Процесс окисления металлического Y−Ba−Cu сплава
|
Кислород |
|
|
ВТСП |
|
Исходные |
|
|
компоненты |
Р |
|
ВТСП |
||
Металл |
||
|
||
Металл (серебро) |
Электронагреватели |
|
950 ºС |
||
|
||
|
Фильера |
Рис. 6.19. ВТСП в металлической трубке (вверху) и схема технологического процесса его изготовления (внизу)
Наиболее применяемый в настоящее время способ изготовления длинномерных изделий из ВТСП — второй (ВТСП в металлической трубке). Технологический процесс заключается в следующем. Исходные порошкообразные компоненты (Y2O3, ВаСО3, CuO), взятые в требуемом соотношении, загружаются в металлическую трубку, выполненную из серебра. Трубка с порошком подвергается вибрированию для уплотнения порошка. Затем трубка протягивается через фильеру (или набор фильер) с целью придания трубке необходимого диаметра
187