Материал: ТКП-самостоятельная

Внимание! Если размещение файла нарушает Ваши авторские права, то обязательно сообщите нам

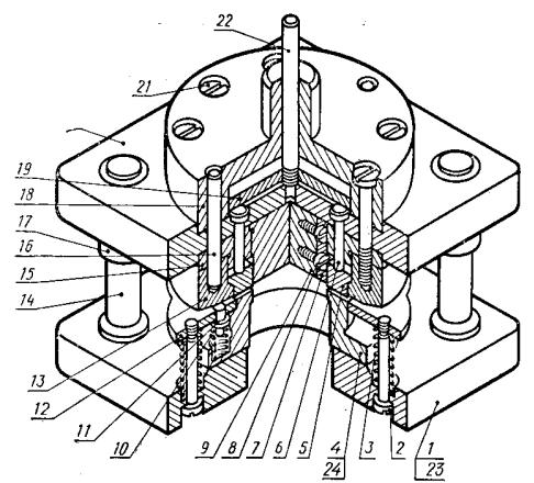
Задание № 24 Штамп для изготовления пластин ротора

Выполнить сборочный чертеж штампа по рабочим чертежам его деталей и описаниюустройства.Масштабсборочногочертежа 1:1. Приступая квыполнению сборочного чертежа, ознакомьтесь с конструкцией каждой детали и со всеми обозначенияминарабочихчертежах.

Прим еч ани е. Чертежи деталей 8, 16, 23 и 24 не даны. Их надо найти по номеру ГОСТа в технических справочниках; дет. 8 — винт М8Х20, ГОСТ 1491—72; дет. 75 —штифт 10ГХ100, ГОСТ

3128—70; дет. 23 — винт М12Х40, ГОСТ 1491— 72; дет. 24 — штифт 10ГХ50, ГОСТ 3128—70.

Количество и материал стандартных деталей выбрать самим, учитывая назначение этих деталей в сборочнойединице.

Устройство и работа штампа. Штамп предназначен для вырубки за один ход пресса наружного и внутреннего контуров пластин ротора. Пластина изображена на рис. 1.

Основные рабочие части штампа: матрица 13, служащая для вырубки наружного контура детали, пуансон-матрица 4, которая служит пуансоном для наружного контура детали и матрицей для пробивки отверстия, и дыропробивающий пуансон 9.

Штамп собирают в следующем порядке. Сначала собирают нижнюю часть штампа. В два отверстия Ø 38А нижней плиты 1 запрессовывают колонки 14 стержнями Ø25С вверх. Пуансон-матрицу 4 скрепляют с плитой 1 винтами 23, головки которых располагают в раззенковках плиты глубиной 10 мм. Положение детали 4 на плите 1 фиксируют штифтами 24. В два глухих отверстия Ø14 пуансон-матрицы вставляют пружины 10, а сверху в них закладывают фиксаторы 11 так, чтобы их концы Ø10,5С3 были обращены вверх.

На цилиндрический выступ Ø 119,4П пуансон-матрицы 4 надевают съемник 12 так, чтобы в его отверстия Ø 10,5Л3 попали фиксаторы 11. В четыре гнезда Ø22 плиты 1 закладывают пружины 3, после чего сквозь отверстия в плите через пружины пропускают винты 2. Головки винтов должны войти в раззенковки 0 20 плиты 1. Винты до упора завертывают в съемник 12. Пружины 3 и 10 следует вычертить в сжатом состоянии так, чтобы верхние плоскости деталей 4 и 12 совпали. Сборку нижней части штампа на этом заканчивают.

Затем собирают верхнюю часть штампа. В отверстия Ø38А верхней плиты 20 запрессовывают со стороны фаски до упора втулки 17. В паз пуансона 9 закладывают планку 7 так, чтобы торцы ее оказались заподлицо с торцами пуансона; обе детали скрепляют винтами 8. В диск 19 завертывают до упора шток 22 и расклепывают со стороны фаски диска. В пуансонодержатель 15 со стороны расточки Ø 80 запрессовывают до упора пуансон 9 в сборе с плайкой 7. В матрицу 13 со стороны расточки Ø128А3 закладывают кольцо выбрасывателя 5. Пуансонодержатель 15 с пуансоном 9 вставляют в матрицу 13 так, чтобы оси отверстий гнезд обеих деталей совпали. Верхнюю плиту 20 насаживают расточкой Ø185А3 на пуансонодержатель 15. В четыре отверстия Ø 10А3 деталей 20 и 15 вставляют пальцы 6 до упора в деталь 5. На головки пальцев накладывают диск 19. На шток 22 надевают хвостовик 18 так, чтобы он попал в расточку Ø 190А3 плиты 20; тогда диск 19 может свободно перемещаться в осевом направлении в расточке хвостовика глубиной 25 мм.

Детали 13, 15,18 и 20 фиксируют одну относительно другой штифтами 16 и скрепляют винтами 21. На этом заканчивают сборку верхней части штампа. Собранную верхнюю часть штампа втулками 17 надевают на направляющие колонки 14 хвостовиком 18 вверх.

Познакомимся с работой штампа. В зазор между верхней и нижней частями штампа подают заготовку в виде полосы. Боковая кромка полосы скользит по

одному фиксатору 11. Величина подачи полосы ограничивается вторым фиксатором 11 (рис. 2). Во время рабочего хода штампа фиксаторы утопают в съемнике 12. Когда верхняя часть штампа поднимается, фиксаторы под действием пружин выступают над плоскостью съемника. Направляющие втулки и колонки обеспечивают совпадение контуров пуансона и матрицы. Верхняя часть штампа сблокирована с приспособлением, подающим сжатый воздух. Когда начинается движение диска вниз (при поднятом положении верхней части штампа), автоматически включается подача сжатого воздуха. Диск 19 через пальцы 6 к кольцо выбрасывателя 5 выталкивает готовую деталь из матрицы 13 вниз, во время падения она сдувается струей сжатого воздуха. Отходы полосы, из которой вырубают пластины ротора, с пуансон-матрицы 4 снимают съемник 12, который поднимается при разжатии пружин 3. Отходы от пробивки отверстий проваливаются под стол пресса.