Материал: Тема 5. Промывка скважин

Внимание! Если размещение файла нарушает Ваши авторские права, то обязательно сообщите нам

iLovePDF

Манифольд

Манифольдом или линией нагнетания называется участок трубопровода между буровым насосом и вертлюгом, по которому буровой раствор подается в бурильную колонну. Буровые насосы, входящие в комплект циркуляционной системы, имеют индивидуальные всасывающие линии и общий манифольд. Реже, при небольшом удалении от оси скважины, буровые насосы снабжаются индивидуальными манифольдами.

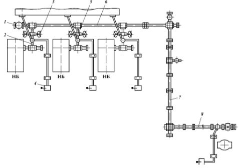
Манифольд (рис. 16.20) состоит из трубной обвязки 6 буровых насосов, трубной обвязки 8 вышечного блока, трубопровода 7, соединяющего обвязки в насосном и вышечном блоках, вспомогательною трубопровода / и пультов управления 4. Трубная обвязка насосов предназначена для подачи буровою раствора по отводам 2 насосов к распределителю с дроссель-но-запорными устройствами 5. Отводы включают набор трубных секций и переходных колен, необходимых для соединения нагнетательного' патрубка насоса с распределителем. На отводах устанавливают задвижки для слива бурового раствора, а также манометры с предохранительным устройством. Задвижки 3 распределителя служат для подачи бурового раствора в скважину либо в перемешивающие и очистные устройства циркуляционной системы.

Трубная обвязка 8 вышечного блока состоит из стояка и распределительно-запорного устройства, позволяющего подавать буровой раствор в вертлюг либо в иревентор, а также откачивать его от цементировочного агрегата. Стояк представляет собой набор трубных секций с линзовыми соединениями (рис. 16.21). К стояку крепится изогнутое колено для присоединения буровою рукава, по которому раствор подается в вертлюг.

Для плавного перевода бурового насоса с холостого режима работы на рабочий применяют дроссельно-запорное устройство [рис. 16.22), которое приводится в действие сжатым воздухом, поступающим от компрессорной станции буровой установки. Управление этим устройством осуществляется четырехклапанным краном, установленным на пульте управления.

Рис. 16.20. Схема манпфольда

Вертлюг

iLovePDF

Вертлюг, являясь верхней опорой для бурового инструмента, предназначен для подвода бурового раствора во вращающуюся бурильную колонну. В процессе бурения вертлюг подвешивается к автоматическому элеватору либо к крюку талевого механизма и посредством гибкого бурового шланга соединяется со стояком напорного трубопровода буровых насосов. При этом ведущая труба бурильной колонны соединяется с помощью резьбы с вращающимся стволом вертлюга, снабженным проходным отверстием для бурового раствора. Во время спускоподъемных операций вертлюг с ведущей трубой и гибким шлангом отводится в шурф и отсоединяется от талевого блока. При бурении забойными двигателями вертлюг используется для периодических проворачиваний бурильной колонны с целью предотвращения прихватов.

В процессе эксплуатации вертлюг испытывает статические осевые нагрузки от действия веса бурильной колонны и динамические нагрузки, создаваемые продольными колебаниями долота и пульсацией промывочной жидкости. Детали вертлюга, контактирующие с раствором, подвергаются абразивному износу. Износостойкость трущихся деталей вертлюга снижается в результате нагрева при трении.

К вертлюгам предъявляются следующие основные требования: поперечные габариты не должны препятствовать его свободному перемещению внутри вышки при наращивании бурильной колонны и спускоподъемных операциях;

быстроизнашиваемые узлы и детали должны быть удобными для быстрой замены в промысловых условиях;

подвод и распределение масла должны обеспечить эффективную смазку и охлаждение трущихся деталей вертлюга;

устройство для соединения с талевым блоком должно быть надежным и удобным дли быстрого отвода и выноса вертлюга из шурфа.

ОСНОВНЫЕ ЭЛЕМЕНТЫ КОНСТРУКЦИИ ВЕРТЛЮГА

Вертлюги, применяемые в буровых установках для бурения эксплуатационных и глубоких разведочных скважин, имеют общую конструктивную схему и различаются в основном по допускаемой осевой нагрузке. Конструктивные отличия некоторых узлов и деталей отечественных и зарубежных вертлюгов обусловлены требованиями изготовления и сборки, разрабатываемых с учетом производственных возможностей заводов-изготовителей, а также периодической модернизацией вертлюгов с целью повышения их надежности и долго вечности.

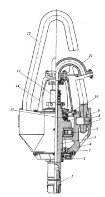
На рис. 16.25 показано устройство современных вертлюгов. Корпус 4 вертлюга изготовляется из углеродистой или низколегированной стали и представляет собой полую отливку с наружными боковыми карманами для штропа 12, посредством которого вертлюг подвешивается к крюку талевого механизма. Штроп имеет дугообразную форму и круглое поперечное сечение. Он изготовляется методом свободной ковки из легированных сталей марок 40ХН, ЗВХГН, ЗОХГСА.

iLovePDF

Рис. 16.23. Вертлюг УВ-250

На высаженных концах штропа растачиваются отверстия дли пальцев 7, соединяющих штроп с корпусом вертлюга. Пальцы устанавливаются в горизонтальных расточках карманов и корпуса и предохраняются от выпадения и проворотов стопорной планкой 8, которая входит в торцовый паз кольцо и приваривается к корпусу вертлюга. При отводе ведущей трубы в шурф штроп вертлюга отклоняется от вертикали и занимает положение, удобное для разьединения и соединения его с крюком талевого механизма.

Угол поворота штрона ограничивается стенками карманов корпуса вертлюга и не превышает 45°. На пальцах штропа выполнены смазочные канавки и отверстия с резьбой для пружинных масленок. Резьба смазочных отверстий используется для завинчивания рым-болтов, с помощью которых проводится распрессовка пальцев вертлюга.

iLovePDF

В корпусе вертлюга на упорных и радиальных подшипниках вращается ствол 5 с переводником 1 для соединения вертлюга с ведущей трубой бурильной колонны. Ствол представляет собой стальной цилиндр с центральным проходным отверстием для промывочной жидкости и с наружным фланцем для упорных подшипников. Ствол вращается с частотой бурового ротора и испытывает нагрузки, создаваемые буровым инструментом и промывочной жидкостью, нагнетаемой в скважину. По сравнению с другими несущими узлами и деталями ствол вертлюга наиболее нагружен. Это предъявляет повышенные требования к его прочности. Стволы вертлюгов изготовляют из фасонных поковок, получаемых методом свободной ковки. Благодари применению таких заготовок снижаются расход материала и затраты на механическую обработку. Для стволов используют стали марок 40Х, 40ХН, 38ХГН, приобретающие в результате ковки более совершенную кристаллическую структуру и повышенные механические свойства.

Осевое положение ствола вертлюга фиксируется упорными подшипниками 6 и 9. Основная опора ствола — подшипник б, нагружаемый весом ствола и бурового инструмента, когда вертлюг посредством штропа удерживается в подвешенном состоянии. Вспомогательной опорой ствола является подшипник 9, нагружаемый собственным весом корпуса и других нев-ращающихся деталей, когда вертлюг опирается на ствол, а штроп вертлюга находится в свободном состоянии. Это происходит при установке вертлюга с ведущей трубой в шурф и в процессе бурения скважины, когда из-за недостаточного веса бурильной колонны нагрузку на долото до полня юг весом вертлюга.

В рассматриваемой конструкции вертлюга в основной опоре ствола установлен упорный подшипник с короткими цилиндрическими роликами. Благодаря укороченной длине снижается скольжение роликов относительно колец при вращении ствола. Это благоприятно влияет на износ и нагрев подшипников. Подшипники с коническими и сферическими роликами обладаю! большей нагрузочной способностью по сравнению с подшипниками, имеющими короткие цилиндрические ролики. Поэтому в тяжело нагруженных вертлюгах преимущественно применяются упорные подшипники с коническими либо сферическими роликами. Для повышения долговечности в модернизированных вертлюгах ОАО «Уралмашзавод» (УВ-250 МЛ1 используются конические упорные подшипники.

Для центрирования роликов относительно ствола подшипник 6 снабжен внутренним сепаратором. Наружный сепаратор предохраняет ролики от смещения под действием центробежных сил. В менее нагруженной вспомогательной опоре используется шариковый упорный подшипник. Ствол центрируется в корпусе радиальными роликовыми подшипниками 3 и 10. Упорные подшипники центрируются по кольцу, установленному на стволе. Второе кольцо является свободным и благодаря этому самоцентрируется относительно тел качения подшипника.

Осевое положение ствола и натяг подшипников 9 и 10 регулируют прокладками между корпусом 4 и крышкой 14 вертлюга. Осевой натяг нижнего радиального подшипника регулируют установочной втулкой, навинченной на ствол вертлюга и предохраняемой от отвинчивания стопорными винтами. Наружное кольцо подшипника удерживается пружинным стопором, установленным в кольцевом пазу корпуса. Для соединения вертлюга с ведущей трубой бурильной колонны используется сменный ниппельный переводник 1, предохраняющий резьбу ствола от износа и механических повреждений.

На стволе вертлюга и верхнем переводнике ведущей трубы выполнена внутренняя резьба, поэтому для их соединения используется переводник ниппельного типа. С целью предотвращения самоотвинчивания при вращении долота на стволе вертлюга, переводниках и верхнем конце ведущей трубы выполнена левая резьба. Нижний переводник ведущей трубы и все другие

iLovePDF

соединения бурильной колонны имеют правую резьбу, совпадающую с направлением вращения долота.

Корпус вертлюга закрывается верхней 14 и нижней 2 крышками с центральными отверстиями дли выводных концов ствола. Крышки крепятся к корпусу болтами. Верхняя крышка снабжена стойками и вторым фланцем, на котором укреплен отвод 11 для соединения вертлюга с буровым шлангом. Из отвода промывочная жидкость поступает в проходное отверстие ствола через промежуточное устройство 13.

Полость между корпусом 4 с крышками 14, 2 и стволом вертлюга 5 заполняется жидким маслом для смазки основного и нижнего радиального подшипников. Стакан 15 ствола образует отдельную масляную ванну для смазки вспомогательного и верхнего радиального подшипников. Масло заливается через отверстие в верхней крышке корпуса. Для слива отработанного масла предусмотрено отверстие в нижней крышке корпуса. Уровень масла проверяется контрольной пробкой, ввинченной в корпус вертлюга. Масляные отверстия закиываютсн оезьбовыми пообками.

Контрольные вопросы:

1.Для чего нужен серпаратор?

2.Для чего нужны буровые насосы?

3.Конструкция манифольда

4.Расскажите устройство вертлюса

5. Схема блока приготовления раствора

Литература

1.Басарыгин Ю.М., Булатов А.И., Проселков Ю.М. Заканчивание скважин: Учеб. пособие для вузов. — М: ООО «Недра-Бизнесцентр», 2000. — 670 с.

2.Баграмов Р.А. Буровые машины и комплексы: Учеб. для вузов. — М.: Недра,1988. — 501 с.

3.Болденко Д.Ф., Болденко Ф.Д., Гноевых А.Н. Винтовые забойные двигатели. — М.:Недра,

1999. — 375 с

и газовых скважин: Учеб. для вузов. — М.: ООО «Недра-Бизнесцентр», 2000. — 679 с.

4.Басарыгин Ю.М., Булатов А.И., Проселков Ю.М. Технология бурения нефтяных и газовых скважин: Учеб. для вузов. — М.: ООО «Недра-Бизнесцентр», 2001.— 679 с.

5. .Басарыгин Ю.М., Булатов А.И., Проселков Ю.М. Осложнения и аварии при бурении нефтяных