Материал: Технологические основы сварки плавлением

Внимание! Если размещение файла нарушает Ваши авторские права, то обязательно сообщите нам

Технологические основы сварки плавлением

МИНИСТЕРСТВО ОБРАЗОВАНИЯ И НАУКИ РОССИЙСКОЙ ФЕДЕРАЦИИ

Федеральное государственное автономное образовательное учреждение высшего образования

«НАЦИОНАЛЬНЫЙ ИССЛЕДОВАТЕЛЬСКИЙ ТОМСКИЙ ПОЛИТЕХНИЧЕСКИЙ УНИВЕРСИТЕТ»

Институт природных ресурсов

Кафедра транспорта и хранения нефти и газа

Специальность: Проектирование, сооружение и эксплуатация газонефтепроводов и газонефтехранилищ



Курсовая работа

Тема: Технологические основы сварки плавлением

 











Томск - 2015 г.

Содержание

Введение

1. Характеристика стали

.1 Состав и свойства стали

.2 Основные сведения о свариваемости

. Характеристики способов сварки

.1 Характеристика ручной дуговой сварки

.2 Дуговая сварка в защитном газе плавящимся электродом

. Выбор сварочных материалов

.1 Выбор материалов для ручной дуговой сварки покрытыми электродами

3.2 Выбор сварочных материалов для сварки в среде защитных газов плавящимся электродов

4. Расчет режимов сварки

.1 Расчёт режимов для ручной дуговой сварки покрытыми электродами

.2 Расчёт режимов для сварки плавящимися электродами в среде углекислого газа

5. Расчет химического состава и механических характеристик металла шва

5.1 Расчет химического состава сварного шва для ручной дуговой сварки

.2 Расчет химического состава сварного шва для сварки в среде СО2

5.3 Расчет механических характеристик металла шва

6. Расход сварочных материалов

6.1 Расход электродов для ручной дуговой сварки

.2 Расход сварочных материалов при сварке плавящимся электродом в углекислом газе

7. Выбор источников питания сварочной дуги

.1 Выбор источников питания дуги для ручной дуговой сварки

7.2 Выбор источников питания дуги для сварки в среде углекислого газа плавящимся электродом

8. Особенности технологии и техники сварки и сборки конструкции

9. Деформации и напряжения при сварке и методы борьбы с ними

10. Техника безопасности

Заключение

Список использованных источников

Введение

Сваркой называется технологический процесс получения неразъемного соединения посредством установления межатомных связей между свариваемыми частями при их местном или общем нагреве, или пластической деформации, или совместном действии того и другого.

Сварка - один из наиболее широко распространенных технологических процессов. С помощью сварки соединяют между собой различные металлы, пластмассы, стекла и разнородные материалы. Основное применение находит сварка металлов и сплавов при сооружении новых конструкций, ремонте различных изделий, машин и механизмов, создание двухслойных материалов. Для получения неразъемного соединения при сварке плавлением кромки металла свариваемых элементов (основной металл) и дополнительный металл (сварочная проволока и др.) в месте соединения расплавляются, самопроизвольно сливаются в общую, так называемую сварочную ванну, в которой происходят многие физико-химические процессы и устанавливаются металлические связи.

При удалении источника нагрева металл сварочной ванны кристаллизуется, образуя шов, который и соединяют свариваемые элементы в одно целое. Металл сварного шва обычно значительно отличается от основного свариваемого металла по химическому составу и структуре, так как металл шва всегда имеет структуру литого металла.

Металл шва и основной металл зоны термического влияния, в котором произошли какие-либо структурные изменения, называются сварным соединением. Механические, коррозионные и другие свойства сварного соединения могут существенно отличаться от свойств основного металла. При равенстве показателей механических свойств сварного соединения и исходного металла сварное соединение является равнопрочным основному металлу.

В качестве источника теплоты при электрической сварке плавлением можно использовать различные источники - электрическую дугу (электродуговая сварка); теплоту шлаковой ванны (электрошлаковая сварка); теплоту струи и ионизированных газов «холодной» плазмы (плазменная сварка); теплоту, выделяемую в изделии в результате преобразования кинетической энергии электронов (электронно-лучевая сварка); теплоту когерентного светового луча лазера (лазерная сварка) и некоторые другие.

Все указанные особенности значительно усложняют задачи, которые стоят перед инженерами-технологами, разрабатывающими технологический процесс сварки плавлением. В данной курсовой работе стоит задача: получение сварного соединения в нахлёст двух листов толщиной 6 и 8 мм, из материала Сталь 20.

1. Характеристика свариваемости стали

1.1 Состав и свойства стали

Сталь 20-это сталь качественная поставляемая по ГОСТ 1050-84 с гарантированным химическим составом и механическими свойствами.

Данная сталь содержит пониженное количество серы, [1,с.87].

Стали этой группы применяют в горячекатаном состоянии и в меньшем объёме после нормализации или закалки с отпуском.

Механические свойства данной стали представлены в таблице 1.

Таблица 1

 σв, МПа

σт, МПа

δ5, %

Ψ, %

420

250

25

55


Химический состав стали 20 представлен в таблице 2.

Таблица 2

C

Si

Mn

Ni

S

P

0.17-0.24

0.17-0.37

0.35-0.65

до 0.25

до 0.04

до 0.04


Поскольку в данной стали содержание углерода (С) находиться в пределах от 0.17% до 0.24%, то в связи с классификацией по углероду, она относиться к классу низко углеродистых.

.2 Основные сведения о свариваемости

Свариваемостью называют свойство материалов или сочетание свойств металлов образовывать при установленной технологии сварки соединение отвечающее требованиям, обусловленным конструкцией и эксплуатацией изделия.

Сталь 20 обладает хорошей свариваемостью, [2, c.263],потому что относится к классу низкоуглеродистых. Технология её сварки должна обеспечивать определённый комплекс требований, основными из которых являются равнопрочность сварного соединения с основным металлом и отсутствие дефектов в сварном шве. Для этого механические свойства металла шва и околошовной зоны должны быть не ниже предела механических свойств основного металла, [2, c.263 ].

Механические свойства металла шва сварного соединения зависят от его структуры, которая определяется химическим составом, режимом сварки, предыдущей и последующей термообработкой.

Химический состав металла шва при сварке стали 20, незначительно отличается от основного металла. Это различие сводится к снижению в металле шва углерода для предупреждения образования закалочных структур при повышенных скоростях охлаждения.

В процессе изготовления конструкций из стали 20 на заготовительных операциях и при сварке в зонах, удалённых от высокотемпературной области, возникают холодные пластические деформации. Попадая при наложении последующих швов под сварочный нагрев до температур 300°С, эти зоны становятся участками деформационного старения, приводящего к снижению пластических свойств, повышению прочностных свойств металла и возможному возникновению трещин, особенно при низких температурах и концентраторах напряжений, [2, c.269].

Высокий отпуск при температурах 600°С-700°С в этих случаях служит эффективным средством восстановления свойств металла, [2, c.269]. Термическую обработку “нормализация” применяют для улучшения структуры отдельных участков сварного соединения и выравнивания их свойств.

При сварке короткими участками по горячим предварительно наложенным швам замедленная скорость охлаждения металла шва и околошовной зоны способствует получению равновесных структур. Влияние термообработки в этом случае сказывается незначительно.

Швы, сваренные из стали 20 всеми способами сварки, обладают удовлетворительной стойкостью к образованию кристаллизационных трещин и не склонны к образованию холодных трещин. В этом можно убедиться путём оценки влияния термического цикла сварки на закаливаемость околошовной зоны, [2,c.288 ].

Если при подсчёте эквивалента углерода окажется, что Сэ<0,45%, то данная сталь сваривается без предварительного подогрева.

Эквивалент углерода определим по формуле, [2,c.289]:

Сэ= Сх+ Ср, (1),

где Сх - химический эквивалент углерода;

Сэ - размерный эквивалент углерода. 

Химический эквивалент углерода определим по формуле, [2,c.288 ]:

Cx=C+1/9∙Mn+1/9∙Cr+1/18∙Ni+1/12∙Mo, (2)

Согласно химическому составу стали 20 (смотри таблица 1) химический эквивалент углерода равен:

Cx=0.24+1/9∙0.65+1/9∙0+1/18∙0.25+1/12∙0=0.326 %.

Определим размерный эквивалент углерода по формуле, [2,c.289 ]:

Ср =0.005∙S∙Cx, (3),

где S- толщина свариваемой стали, S=6 мм.

Таким образом, Ср =0.005∙6∙0.312=0,0094%.

Следовательно, эквивалентное содержание углерода равно:

Сэ= 0.326+0.0094=0,335%.

Поскольку Сэ оказалось меньше 0.45%, то предварительный подогрев для данной марки стали, при её толщине: S=6 мм, не требуется.

2. Характеристики способов сварки

Согласно заданию листовую конструкцию необходимо сварить двумя способами сварки:

а) ручной дуговой сваркой;

б) сваркой в среде защитных газов плавящимся электродом.

.1 Характеристика ручной дуговой сварки

Перемещение электрода в процессе сварки и подачу электродного и присадочного металла осуществляют вручную. При этом возникают трудности, связанные с поддержанием постоянства длины дуги. Колебание дугового промежутка отражаются на основных параметрах режима- величине тока и напряжении. На глубину проплавления металла и скорость расплавления электрода особенно большое влияние оказывает изменение тока. Качество швов, выполненных ручными способами, зависит от квалификации сварщика, удобства ведения процесса и т.п. Способы ручной дуговой сварки доступны и универсальны. Ручную дуговую сварку применяют при монтажных работах, для сварки швов и в мелкосерийном производстве.

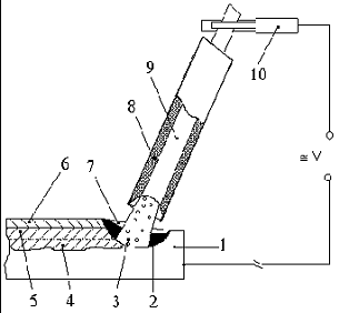
Схема процесса ручной дуговой сварки металлическим покрытым электродом показана на рисунке 2. Дуга горит между стержнем 9 и основным металлом 1. Под действием теплоты дуги электрод и основной металл расплавляются, образуя сварочную ванну 2. Капли жидкого металла с электродного стержня переносятся в ванну через дуговой промежуток.

Вместе с металлическим стержнем плавится и электродное покрытие 8, образуя газовую защиту и жидкую шлаковую пленку 7 на поверхности расплавленного металла. В связи с тем что большая часть теплоты выделяется на торце металлического стержня электрода, на его конце образуется коническая втулочка из покрытия, способствующая направленному движению газового потока.

Рисунок 2. Схема ручной дуговой сварки штучным электродом: 1- основной металл; 2 -сварочная ванна; 3 - электрическая дуга; 4 - проплавленный металл; 5 - наплавленный металл; 6 - шлаковая корка; 7 - жидкий шлак; 8 - электродное покрытие; 9 -металлический стержень электрода; 10 - электрододержатель.

Это улучшает защиту сварочной ванны. По мере движения дуги сварочная ванна охлаждается и затвердевает, образуя сварной шов. Жидкий шлак также затвердевает и образует на поверхности шва твердую шлаковую корку 6, удаляемую после сварки. При этом способе выполняется газошлаковая защита расплавленного металла от взаимодействия с воздухом. Качество газошлаковой защиты при сварке может быть связано с толщиной покрытия электродов δ или коэффициентом массы покрытия. Толщина покрытия для различных электродов составляет 0,1÷1 мм, а коэффициент массы 0,1÷0,5. Рациональная область применения ручной дуговой сварки покрытыми электродами - изготовление конструкций из металлов с толщиной соединяемых элементов более 2мм при небольшой протяжённости швов, расположенных в труднодоступных местах, и различных пространственных положениях. Кроме того, шлаки позволяют проводить необходимую металлургическую обработку металла в ванне. Для выполнения функций защиты и обработки расплавленного металла покрытия электродов при расплавлении должны образовывать шлаки и газы с определенными физико-химическими свойствами. Поэтому для обеспечения заданного состава и свойств шва при выполнении соединений на разных металлах для сварки применяют электроды с определенным типом покрытий, к которым предъявляют ряд специальных требований.

При сварке покрытыми электродами перемещение электрода вдоль линии сварки и подачу электрода в зону дуги по мере его плавления осуществляют вручную. При этом возникают частые изменения длины дуги, что отражается на постоянстве основных параметров режима: напряжения дуги и силы сварочного тока. С целью поддержания более стабильного теплового режима в ванне при ручной дуговой сварке применяют источники питания с крутопадающими вольтамперными характеристиками.

Основным инструментом сварщика при ручной сварке покрытыми электродами является электрододержатель, предназначенный для крепления электрода, подвода к нему сварочного тока и возможности манипулирования электродом в процессе сварки. По способу закрепления электрододержатели разделяют на вилочные, пружинные, зажимные. К электрододержателю предъявляются требования: удобность, легкость, должен способствовать быстрой смене электрода

Рациональная область применения дуговой сварки покрытыми электродами - изготовление конструкций из металлов с толщиной соединяемых элементов более 2 мм при небольшой протяженности швов, расположенных в труднодоступных местах и различных пространственных положениях.

Для увеличения производительности используют сварку погруженной дугой, пучком электродов или применяют электроды с железным порошком в покрытии.

Достоинство:

. Простота и доступность;

. Возможность сварки в труднодоступных местах и во всех пространственных положениях;

. Большой спектр свариваемых материалов;

. Значительный спектр толщин (от двух мм и выше).

Недостатки:

. Низкая производительность;

. Большой расход материалов на разбрызгивание и огарки;

. Самый тяжелый способ по технике исполнения;

. Многофакторность качества.

2.2    Дуговая сварка в защитном газе плавящимся электродом

Сварка в защитных газах нашла широкое применение в промышленности. Этим способом можно соединять вручную, полуавтоматически или автоматически в различных пространственных положениях разнообразные металлы и сплавы толщиной от десятых долей до десятков миллиметров.

Сущность способа: При сварке в зону дуги подается через сопло непрерывно подается защитный газ. Теплотой дуги расплавляется основной металл, если сварку ведут плавящимся электродом расплавляется и электродная проволока. Расплавленный металл сварочной ванны, кристаллизуясь образует шов.

Рисунок 2. 1 - зона дуги; 2 - сопло; 3 - защитный газ; 4 - основной металл;

Образование шва происходит за счет расплавления кромок основного металла и дополнительно вводимого присадочного металла.

В качестве защитных газов применяют инертные (аргон и гелий) и активные (углекислый газ, водород, кислород, и азот) газы, а также их смеси.

Теплофизические свойства защитных газов оказывают большое влияние на технологические свойства дуги и форму швов.

Широкий диапазон используемых защитных газов, обладающих значительно различающимися теплофизическими свойствами, обусловливает большие технологические возможности этого способа как в отношении свариваемых металлов так и их толщин.

По сравнению с другими способами сварка в защитных газах обладает рядом преимуществ:

высокое качество сварных соединений на разнообразных металлах и сплавах различной толщины;

возможность сварки в различных пространственных положениях; возможность визуального наблюдения за образованием шва;

отсутствие операций по засыпке и уборки флюса и удалению шлака;

высокая производительность и легкость механизации и автоматизации;

низкая стоимость при использовании активных защитных газов.

большой спектр свариваемых материалов;

К недостаткам способа относится необходимость применения защитных мер против световой и тепловой радиации дуги.

. Дополнительное газовое оборудование;

. Невозможность использование данного метода в условиях монтажа из-за сквозняка, ветра, дождя;

. Величина критического тока напрямую зависит от металла;

. Производительность ниже, чем у РДС.

Перечисленные характеристики, которые необходимо учитывать при выборе конкретной марки электрода, в значительной степени определяются видом покрытия. Покрытие может быть кислым, рутиловым, основным, целлюлозным и смешанным.

дуговой сварка сталь электрод

3. Выбор сварочных материалов

.1 Выбор материалов для ручной дуговой сварки покрытыми электродами

При сварке конструкций из низкоуглеродистых сталей широко используются электроды с рутил-карбонатным покрытием тина Э42 марки АНО-5 и типа Э46 марки МР-3. Ранее широко распространенные электроды марки ОММ-5 (тип Э46) с рудно-кислым покрытием в настоящее время из-за высокой токсичности имеют ограниченное применение. Для особо ответственных сварных конструкций используют электроды с фтористо-кальциевым и фтористо-кальциево-рутиловым покрытием типа Э42А марок УОНИ-13/55 и СМ-11, обеспечивающие повышенные пластические свойства и стойкость металла шва против кристаллизационных трещин. Однако при наличии ржавчины на кромках или увлажнении покрытия понижается стойкость против образования в металле шва пор. Электроды марки СМ-11 в отличии УОНИ-13/55 пригодны для сварки не только постоянным, но и переменным током.

При изготовлении строительных и технологических металлоконструкций широко применяются высокопроизводительные электроды для сварки с глубоким проплавлением марок ЦМ-7С.

Сварочно-технологические характеристики электродов сравним в таблице 3.

 

Таблица 3- Сварочно-технологические характеристики электродов

Сварочно-технологические свойства

Марки электродов


СМ-11

УОНИ-13/45

МР-3

Устойчивость дуги

удовлетворит

удовлетворит

удовлетворит

Разбрызгивание

Обычное, потери 4 - 6 %

Умеренное, потери 7-8%

Малое

Формирование шва

удовлетворит

Хорошее

удовлетворит

Отделимость шлаковой корки

удовлетворит

удовлетворит

удовлетворит

Склонность металла шва к образованию трещин

Малая

Малая

Малая

Типичный коэффициент наплавки

9,5г/а ч

9,5 г/А·ч

7,8 г/А·ч

Расход электродов на 1кг наплавленного металла

1,45 кг

1,6 кг

1,7 кг


Электроды СМ-11 с фтористо-кальциевым покрытием, содержащим железный порошок. Предназначены для сварки малоуглеродистых и низколегированных сталей. Содержание водорода в металле шва несколько выше, чем в металле шва выполненным электродами УОНИ-13/45 .

С учётом технологических характеристик, представленных выше, выбираем электроды марки УОНИ-13/45. Эти электроды не обладают такой универсальностью как, например электроды МР-3, однако эти электроды для особо ответственных конструкций из углеродистых и низкоуглеродистых сталей, когда к металлу швов предъявляют повышенные требования по пластичности и ударной вязкости, для конструкций работающих под динамическими нагрузками в условиях отрицательных температур; работающих под давлением, сварка металлов большой толщины. Сварка во всех пространственных положениях шва постоянным током обратной полярности.

Таблица 4 - Типичный химический состав наплавленного металла, %

С

0.09

Mn

0.57

Si

0.23

S

0.025

Р

0.027

 

 

 

Таблица 5 - Типичные механические свойства металла шва

Временное сопротивление, МПа

460

Предел текучести, МПа

350

Относительное удлинение, %

26

Ударная вязкость, Дж/см2

200

 

Особые свойства

Обеспечивают получение металла шва с высокой стойкостью к образованию кристаллизационных трещин и низким содержанием водорода.

Технологические особенности сварки

Сварку производят только на короткой длине дуги по очищенным кромкам. Прокалка перед сваркой: 250-300°С; 1 ч.

Таблица 6

Диам., мм

Длина, мм

Ток, А

2.0

300

40-80

2.5

350

50-100

3.0

350

60-130

4.0

450

110-180

5.0

450

130-220


.2 Выбор сварочных материалов для сварки в среде защитных газов плавящимся электродом

В качестве защитного газа для сварки низкоуглеродистых сталей с успехом может использоваться углекислый газ, аргон и гелий для этих целей применяют ограниченно.

Основной особенностью сварки плавящимся электродом является применение кремнемарганцовистой электродной проволоки с пониженным содержанием углерода, при использовании которой получаются плотные беспористые швы, компенсируется выгорание кремния и марганца и при сварке низкоуглеродистой стали обеспечивается получение швов, имеющих оптимальный химический состав.

При сварке низкоуглеродистых сталей с содержанием углерода, приближающимся к верхнему пределу (0,21-0,25%), для предупреждения образования в швах кристаллизационных трещин следует применять электродную проволоку марки Св-08ГС или Св-08Г2С. На свойства металла шва значительное влияние оказывает качество углекислого газа. При повышенном содержании в нем азота и водорода могут образовываться поры даже при хорошей защите дуги от воздуха и надлежащем содержании кремния и марганца в сварочной ванне. При применении углекислого газа первого сорта по ГОСТу 8050-64 и электродной проволоки указанных выше марок швы, как правило, получаются плотные без пор.

Сварка в углекислом газе характеризуется высокой производительностью и низкой стоимостью; к недостаткам способа относится повышенное разбрызгивание металла, а также получения в некоторых случаях неравномерных по внешнему виду швов. К тому же необходимо учитывать некоторые металлургические особенности, связанные с окислительным действием углекислого газа. При высоких температурах сварочной дуги углекислый газ (СО2 ) диссоциирует на оксид углерода (СО) и кислород (О2) который, если не принимать специальных мер, приводит к окислению свариваемого металла. Окислительное действие О2 нейтрализуется введением в проволоку дополнительного количества раскислителей кремния и марганца. Поэтому для сварки в СО2 широко применяют сварочные проволоки марок: Св-08ГС, Св-08Г2С.

Таблица 7 - Химический состав марок проволок Св-08ГС и Св-08Г2С (ГОСТ 2246-70)

Марка проволоки

C (не более)

Mn

Si

Cr (не более)

Ni (не более)

S (не более)

P (не более)

A (не более)

Св-08ГС

0.10

1.40-1.70

0.6-0.85

0.20

0.25

0.03

0.03

0.05

Св-08Г2С

0.11

18-2.10

0.7-0.95







Выбираем проволоку Св-08Г2С.

4. Расчет режимов сварки

4.1 Расчёт режимов для ручной дуговой сварки покрытыми электродами

Таблица 8 - ГОСТ 5264-80

Условное обозначение сварного соединения

 Конструктивные размеры

S

B

в


Подготовка сварных деталей

Подготовка сварного шва



Номинальное. отклонение

Предел. отклонение

H1

S1>2Свыше 5 до 101000+2,0







1.      Определение режима сварки обычно начинают в зависимости от диаметра электрода. Из практических рекомендаций по выбору dэ на принимаем:

диаметр электрода dэ= 4мм, катет шва К=6 мм.

При определении числа прохода следует иметь в виду, что максимальное поперечное сечение металла, наплавленного за один проход, не должно превышать 30-40 мм2. Для определения числа проходов при сварке угловых и тавровых соединений общая площадь поперечного сечения наплавленного металла может быть вычислена по формуле:

FН=, (1)

где FН - площадь поперечного сечения наплавленного металла , мм;

kу- коэффициент увеличения, учитывающий наличие зазоров и выпуклость шва;

k - катет шва, мм.

Значения ку - выбирают в зависимости от катета шва ку=1,25 [1,с. 181].Н== < 30мм2, значит сварку будем осуществлять за один проход.

2.      Сила сварочного тока при ручной дуговой сварке может быть определена в зависимости от диаметра электрода и допускаемой плотности тока:

Iсв=, (2)

где dэ - диаметр электрода, мм;- допускаемая плотность тока, А/мм2 [1, с. 182]св=  

3.      Напряжение дуги:

Uд=     (3)

Uд=

4.      Скорость сварки:

Vсв=   (4)

где αн=9,5 - коэффициент наплавки, г/А ч [4,с.18,табл.9];

γ=7,8 - плотность наплавленного металла, г/см3.

Vсв=

. Погонная энергия:

gп=        (5)

где Iсв - сварочный ток;

Иg - напряжение; св - скорость сварки;

ηи=0,75 - эффективный КПД для дуговых методов.п=

.Расстояние до изотермы Тпл= 1500С определим по формуле:

r = ,          (6)

где сρ= 4.9Дж/см3·град - объемная теплоемкость;

q - эффективная тепловая мощность источника.

Тогда,

r=  

Глубину провара определим по формуле:     

Н= (0.5÷0.7)·r,    (7)

Н= (0.5÷0.7)·1.19= 0.595÷0.686см.

Принимаем H=0.6 см.

Можно сделать допущение, что фактическая форма провара представляет собой полуэллипс.

Площадь полу эллипса можно определить по формуле:

F=  (8)

где a,b- полуоси эллипса.

Полуось а найдем по формуле:

а= Н + кр,  (9)

где Н- глубина провара;

кр- расчетный катет, определяемый по формуле:

кр= k·Sinα, (10)

где k- геометрический катет.

Тогда,

кр= 6·Sin45=4.24мм.

Полуось а, подставив числовые значения, равна:

а=0.6+4.24= 4.84мм.

Полуось b можно представить как половину гипотенузы треугольника, а гипотенузу определим по теореме Пифагора:

d=  (11)

где k1, k2- геометрические катеты.

Тогда,  

d=  

Тогда полуось b найдем по формуле:

b= С/2, (12)

b= 8.48/2= 4.24мм.

Тогда площадь шва равна:

Fшв=

Площадь наплавки равна 22.5 мм2;

тогда площадь проплавления определим по формуле:

Fпр= Fшв- Fн, (13)

Fпр= 32.2-22.5=9.7мм2.

Рассчитаем долю участия основного металла в металле шва по формуле:

γ0= (14)

где Fпр- площадь проплавления;

Fн- площадь наплавки.

γ0=

Рисунок 3.

4.2 Расчёт режимов для сварки плавящимися электродами в среде углекислого газа

Таблица 9 - ГОСТ 14771-79

Условное обозначение сварного соединения

 Конструктивные размеры

S

B

в


Подготовление сварных деталей

Подготовление сварного шва

Предел. отклонение

H1           

S1>2Свыше 5 до 101000+2,0







Принимаем диаметр проволоки dэ=1.6мм. Катет шва К=6мм.

По заданному катету шва определяем площадь поперечного сечения наплавленного металла при получении плоского шва:

Fн=, (15)

где k - катет шва, мм.н==18мм2.

Сила сварочного тока Iсв:

Iсв=, (16)

где dэ - диаметр электродной проволоки, мм;

j - допускаемая плотность тока j=60-150А/мм2 [2,с.196]. Принимаем j=100А/мм2.

Iсв=А.

Для принятого диаметра электрода и силы сварочного тока определяем оптимальное напряжение дуги:

 (17)

откуда  

примем UД=17В.

Для того чтобы определить коэффициент наплавки нам необходимо рассчитать коэффициент расплавления по формуле:

, (18)

где lв- величина вылета. Определяется по формуле:

lв=(8…12)·dэп; (19)

lв= 10·1.6 = 16мм.

Принимаем lв= 16мм.

Тогда,

 

ψ - коэффициент потерь, определяемый по формуле [1, С.191]:   

  (20)

При механизированных способах сварки в среде СО2 αн= αр(1-y) .

Коэффициент наплавки равен:

αн= 11.79· (1-0.078)=10.37г/А·ч.

Тогда скорость сварки определим по формуле:

, (21)

Рассчитаем погонную энергию по формуле:

qп= (22)

где ηи- эффективный кпд нагрева изделия, который для сварки в среде СО2 составляет 0,8 - 0,84 .

Тогда погонная энергия равна:

qп=

Обработка экспериментальных данных, накопленных в течение многих лет, позволила установить следующую зависимость коэффициента формы провара от основных параметров режима сварки:

 (23)

где - коэффициент, величина которого зависит от рода тока и полярности;

dэ- диаметр электродной проволоки, мм.

Коэффициент определим по формуле:

k/=0.367·j 0.1925 ; (24)

k/=0.367·1000,1925=0.89.

Ψ пр=0.89· (19-0.01·200) =2.06.

Глубина провара:

 H= А·, (25)

где

А==0.0081 [2,С.187].  (26)

Н=0.0081·=0.46 см.

Определим ширину шва исходя из формулы:

е= (27)

е=2.06·0.46=0.94см.

Высоту валика определим по формуле

q =  (28)

где е- ширина шва;

ψв- выбирают в пределах 7 - 10.

q =

Общую высоту определим по формуле:

С = Н+q,    (29)

С = 4.6+1.34=5.94мм.

Площадь шва определим по формуле:

F=  (30)

где a,b - полуоси эллипса.

Тогда,

F=

Площадь наплавки равна 18мм2;

тогда площадь проплавления равна:

Fпр= F- Fн ; (31)

Fпр= 39.5 - 18= 21.5мм2.

После того как определили площадь проплавления, мы можем рассчитать долю участия основного металла в металле шва по формуле:

γ0=  (32)


Рисунок 3

5.     
Расчет химического состава и механических характеристик металла шва

5.1 Расчет химического состава сварного шва для ручной дуговой сварки

Степень легирования металла шва, с некоторой погрешностью, может быть установлена сопоставлением химического состава основного металла и металла наплавленного валика, определяемого по формуле,[9,С.74]:

Rш = R0·γ0 + (1-γ0)·Rэ±ΔR,  (33)

где Rш- содержание рассчитываемого элемента, %;

R0- содержание того же элемента в основном металле, %;

(1-γ0)- доля участия электродного металла в металле шва, %;

Rэ- содержание рассчитываемого элемента в металле, наплавленным данной маркой электродов, %;

γ0- доля участия основного металла в металле шва,

ΔR- коэффициент усвоения.

Определим химический состав шва для сварки покрытыми электродами:

[C]: Rш= 0.18·0.3+ (1-0.3)·0,09=0,117%;

[Si]: Rш= 0.17·0.3+ (1-0.3)·0,23=0,212%;

[Mn]: Rш= 0.35·0.3+ (1-0.3)·0,57=0,504%;

[S]: Rш= 0.04·0.3+ (1-0.3)·0,025=0,0295%;

[P]: Rш= 0.04·0.3+ (1-0.3)·0,027=0,0309%.

5.2 Расчет химического состава сварного шва для сварки в среде СО2

Содержание элементов в металле шва при сварке в среде СО2 можно с допустимой погрешностью определить по формуле,[37]:

Rш=R0 ·γ0+(1-γ0)·Rэ±ΔR,   (34)

где γ0- доля участия основного металла в металле шва;

R0- содержание элемента в основном металле;

Rэ- содержание рассчитываемого элемента в металле, наплавленном данной маркой электродов или сварочной проволоки;

ΔR- переход данного элемента из покрытия или флюсов в шов или его выгорание;

(1-γ0)- доля участия электродного металла в металле шва наплавки.

Определим химический состав шва для сварки в среде СО2:

[C]: Rш= 0.18·0.54+ (1-0.54)·0.11 =0.148%;

[Si]: Rш= 0.17·0.54+ (1-0.54)·0.85 =0.482%;

[Mn]: Rш= 0.35·0.54+ (1-0.54)·1.8=1.017%;

[S]: Rш= 0.04·0.54+ (1-0.54)·0.03=0.0354%;

[P]: Rш =0.04·0.54+ (1-0.54)·0.03 =0.0354%.

.3 Расчет механических характеристик металла шва производим согласно

Прочность и работоспособность сварного соединения зависит от его формы и соотношения механических свойств металла шва, околошовной зоны и основного металла.

При оценке ожидаемых механических свойств металла шва необходимо учитывать действие следующих технологических факторов: долю участия основного металла в формировании шва, и его химический состав; тип и химический состав сварочных материалов; метод и режим сварки; тип соединения и число проходов в сварном шве; размеры сварного соединения; величину пластических деформаций растяжения в металле шва при его остывании. Механические свойства металла шва зависят от скорости охлаждения и пластических деформаций растяжения, возникающих в металле шва при его остывании.

Используя график,[2,С.199], на котором показано изменение безразмерных коэффициентов, влияющих на характеристики металла шва f(σт), f(σв) в зависимости от скорости охлаждения шва, можно рассчитать ожидаемые характеристики металла шва. Зная механические свойства основного металла и режим сварки, можно рассчитать скорость охлаждения ωохл, затем по графику определить соответствующие безразмерные коэффициенты и определить ожидаемые механические свойства металла шва по формулам:

σтш= f(σт)·σто; σвш= f(σв)·σво, (35)

где σт, σв - соответствующие характеристики металла шва.

Мгновенную скорость охлаждения металла при заданной температуре определим по формуле:

 (36)

где Т0- начальная температура изделия, С;

λ- коэффициент теплопроводности, λ= 0,39Дж/см·с·град;

Т= 500С;

q- эффективная тепловая мощность;

При ручной дуговой сварке

Эффективную тепловую мощность найдем по формуле:

q=Iсв·Uд·ηи; (37)

q=125·25·0.75=2343.8Вт;

Тогда скорость охлаждения равна:

С/c.

Из графика определяем:

f(σт)= 1.3;

f(σв)= 1.1;

σтш= f(σт)· σто= 1.3·250=325Мпа     (38)

σвш= f(σв)· σво= 1.1·420=462Мпа.

ψШ=f(ψ)·ψ0=0.93·55=51.2%

δш=0.43·ψШ=0.43·51.2=22.0%

При сварке в углекислом газе

Эффективная тепловая мощность равна:

q=200·17·08=2720 Вт.

Тогда

,

по номограмме находим критерий охлаждения ω=0.8.

Тогда скорость охлаждения равна:

Из графика определим:

f(σт)= 1.31;

f(σв)= 1.12;

σтш= f(σт)· σто= 1.31·250=293Мпа;  (39)

σвш= f(σв)· σво= 1.12·420=470Мпа.  (40)

ψШ=f(ψ)ψ0=0.94·55=51.7%

δш=0,43 ψШ=22,23%

6. Расход сварочных материалов

.1 Расход электродов для ручной дуговой сварки

Расход электродов для ручной дуговой сварки определяется по формуле

Gэ= Gн·1.6  (41)

где Gэ- масса электродов;

Gн- масса наплавленного металла.

Массу наплавленного металла найдем по формуле

Gн= γ·Fн·lшва. (42)

Тогда

Gн= 7.8·0.225·100=195.0 г.

Масса электродов равна:

Gэ= 195.0·1.6= 312.0 г.

Расход электродов - 312 г

6.2 Расход сварочных материалов при сварке плавящимся электродом в углекислом газе

Определяем массу наплавленного металла по формуле

Gн= γ·Fн·lшва, (43)

где Fн=0,18 см2.

Тогда

Gн = 7.8· 0.18·100 = 126.0 г,

Тогда расход сварочной проволоки можно определим по формуле

Gр = Gн / (1 - ψ), (44)

где ψ - коэффициент потерь, под которым понимают отношение количества металла, потерянного в виде брызг и угара, к полному количеству расплавленного электродного металла.

Gр = 126.0/ (1 - 0.078) =136.66 г.

Определим основное время сварки по формуле

tосн= (3600· Gн ) / (αн· Iсв), (45)

где αн - коэффициент наплавки при сварке плавящимся электродом

αн = 9.5 г / А·ч.

Тогда

tосн= (3600·126.0 ) / (9.5·200) =238.7 с = 3.98мин.

Определим расход газа, требуемого на выполнение шва, по формуле

Gг = tосн· gн,

где gн - расход газа, равный 16,6 л/мин.

Тогда

Gг = 3.98·16.6= 66.07 л.

7. Выбор источника питания сварочной дуги

7.1 Выбор источников питания дуги для ручной дуговой сварки

При выборе источников питания дуги необходимо, чтобы он отвечал следующим требованиям, [8]:

а) обеспечивать необходимую для процесса сварки силу тока дуги и напряжение дуги;

б) иметь необходимый вид внешней характеристики, чтобы выполнять условия стабильного горения дуги;

в) иметь динамические параметры, чтобы можно было обеспечить нормальное возбуждение дуги.

Для ручной дуговой сварки выбираем источник питания ВД-306.

Переключение диапазонов осуществляется за счет соединения первичных и вторичных обмоток трансформатора «треугольник-треугольник» (диапазон больших токов) или « звезда-звезда» (диапазон малых токов). Такой способ получения двух диапазонов обеспечивает изменение сварочного тока в 3 раза без дополнительного расхода активных материалов. Плавное регулирование тока внутри диапазона производится за счет изменения расстояния между катушками обмоток трансформатора.

Выпрямительный ток ВД-306 выполнен по трехфазной мостовой системе выпрямления, состоят из шести кремниевых вентилей. Вентиляция - воздушная принудительная. Выпрямитель ВД-306 имеет защиту, отключающую его от сети при выходе из строя одного из вентилей выпрямительного блока или при пробое на корпус вторичной обмотки трансформатора, состоящую из магнитного усилителя, трансформатора и реле.

Сварочные выпрямители обладают значительными перед электромагнитными преобразователями: высокими сварочными качествами, за счет повышения стабильности горения дуги и уменьшениями разбрызгивания металла; высокий КПД и меньшие потери холостого хода, что особенно важно для источника питания работающих с низкими ПН (ПВ), широкими пределами регулирования тока и габаритами, отсутствием вращающихся частей.

При ручной дуговой сварке используем электроды с фтористо-кальциевым покрытием тип покрытия электрода диктует необходимость применения постоянного тока обратной полярности (при переменили постоянном токе прямой полярности дуга неустойчива).

Таблица 10 -Технические характеристики ВД-306 [6, С.98]

Параметры

ВД-306

Номинальный сварочный ток, А

315

Номинальный режим работы, ПН, %

60

Продолжительность цикла сварки, мин

5

Номинальное рабочее напряжение, В

32

Напряжение холостого хода, В, не более

70

Пределы регулирования сварочного тока, А

45-315

Первичная мощность, кВ*А, не более

21

КПД, %, не менее

72

Габаритные размеры (длинаширинавысота), мм.785780795


Масса, кг, не более

164


.2 Выбор источников питания дуги для сварки в среде углекислого газа плавящимся электродом

При дуговой сварке в среде углекислого газа сварочная дуга имеет возрастающую вольт - амперную характеристику. Для обеспечения стабильности процесса и устойчивости работы энергетической системы источник питания - дуга - ванна требуется источник питания дуги с жесткой или пологопадающей внешней вольт - амперной характеристикой, [9, с.100].

В настоящее время, в качестве источников питания дуги для сварки в среде углекислого газа применяются выпрямители с жесткими внешними характеристиками.

Согласно рекомендациям [9, с.101] выбираем выпрямитель типа ВДГ - 302. Технологические характеристики выпрямителя ВДГ - 302 представлены в таблице 11.

Таблица 11 - Технологические характеристики выпрямителя ВДГ - 302

Параметры

Значения

Номинальный сварочный ток, А

315

Пределы регулирования сварочного тока, А

50-315

Режим работы, ПН %

60

Продолжительность цикла сварки, мин.

10

Номинальное рабочее напряжение, В

38

Пределы регулирования рабочего напряжения, В

16-38

Напряжение холостого хода, В

55

Номинальное напряжение питающей сети, В

220,380

К.П.Д., %

75

Габаритные размеры, мм

748 × 1045 × 953

Масса, кг

275

Климатическое исполнение,

У3,

Категория размещения

Т3

Нижний предел температуры окружающего Воздуха, ºС

- 40


8. Особенности технологии и техники сварки и сборки конструкции

Точность подготовки деталей к сварке, их чистота и качество сборки оказывают весьма существенное влияние на несущую способность и экономичность данной сварной конструкции. Недостаточно тщательное выполнение заготовительных операций и сборочных операций приводит к резкому возрастанию вероятности появления дефектов в сварных соединениях и в конструкции в целом. Рационально устранять дефекты, появившиеся при заготовке и сборке, до проведения операции сварки. Однако не следует предъявлять излишние и подчас трудновыполнимые требования к точности заготовок и их сборке под сварку, значительно удорожающие изготовления конструкции. Для получения заготовки, подлежащей сборке, необходимо выполнять ряд операций. Предварительно прокат, из которого будет изготовлена деталь, подвергают правке и зачистке с целью устранения загрязнений и неровностей, образовавшихся при прокатке, транспортировке и хранении металла. Правку листового материала осуществляют в правильных станах, зачистку - в дробеметной установке или в специальных ваннах для травления и пассивирования.

Затем выполняют разметку или наметку деталей: разметку - путем перенесения размеров заготовки чертежа непосредственно на металл, кернения металла по линии будущего реза и маркировка деталей; наметку - путем перенесения на металл необходимых для изготовления заготовки размеров с шаблона, специального изготовленного из тонколистового металла, фанеры или картона. Чертилкой обводят контуры шаблона, после чего его удаляют, вдоль всей линии реза наносят керны и деталь маркируют. Вырезку заготовок производят на ножницах, автоматическими газопламенными машинами или ручными резаками. В последнее время начинает применяться резка сжатой дугой. В некоторых случаях для удаления наклепанного металла, образовавшегося по кромкам при резке на ножницах, устранения неровностей, характерных для ручной газовой резки, кромки подвергают механической обработке на кромкострогальных станках. В случае необходимости используют холодную гибку в нагретом состоянии.

Сварке всегда предшествует сборка конструкции, т.е. установление и фиксация деталей в предусмотренном проектом положении. Сборка под сварку является одной из трудоемких и механизированных операций. Она должна обеспечивать возможность качественной сварки конструкции. Для этого необходимо выдержать заданный зазор между соединяемыми деталями, установить детали в проектное положение и закрепить между собой так, чтобы взаиморасположение деталей не нарушилось в процессе сварки и кантовки. Должен быть обеспечен свободный доступ к месту сварки. В подавляющем большинстве случаев взаимное расположение деталей перед дуговой сваркой фиксируется при помощи коротких отрезков швов, называемых прихватками.

Сталь относится к числу хорошо сваривающихся металлов. Для этой стали технологию сварки выбирают из условий обеспечения комплекса требований, главные из которых достижение равнопрочности сварного соединения с основным металлом и отсутствие дефектов в сварном соединении. В металле швов не должно быть трещин, непроваров, пор, подрезов и других дефектов, они должны иметь требуемые по чертежу размеры и форму.

9. Деформации и напряжения при сварке и методы борьбы с ними

В результате местного нагрева металла, обусловленного воздействием концентрированного источника теплоты, в сварной конструкции возникают временные и остаточные напряжения. Временные сварочные напряжения наблюдаются только в определенный момент сварки в процессе изменения температуры. Напряжения, существующие после окончания сварки конструкции и полного ее остывания, называют остаточными сварочными напряжениями. Они возникают в результате затруднений расширения и сжатия металла при его нагреве и остывании.

Затрудненность расширения и сжатия металла обусловлена тем, что нагретый участок со всех сторон окружен холодным металлом, размеры которого не претерпевают никаких изменений. Реактивные остаточные напряжения возникают в связи с дополнительным закреплением свариваемых деталей, также препятствующим нормальному протеканию процессов расширения и сжатия. Структурные напряжения возникают в конструкции вследствие структурных превращений участков металла околошовной зоны, нагретых в процессе сварки до температуры выше критических точек.

Возникающие при сварке деформации разделяют на временные, существующие только во времени сварки конструкции, и остаточные, остающиеся после завершения сварки и остывания конструкции. Важное значение для практики имеют остаточные сварочные деформации. В зависимости от характера и формы, размеров свариваемых деталей различают деформацию в плоскости и деформацию из плоскости соединяемых элементов. Величина и характер остаточных деформаций в значительной степени определяют толщиной и свойствами основного металла, режимом сварки, последовательностью наложения швов, конструктивными формами свариваемых деталей и формой шва. Существенное влияние на величину деформации оказывает значение коэффициента линейного расширения металла. При повышении коэффициента линейного расширения величина остаточных деформаций увеличивается. Изменение размеров и формы сварной конструкции в некоторых случаях снижает ее работоспособность и портит ее внешний вид. Если остаточные деформации достигают заметной величины они могут привести к неисправимому браку. При разработке, технологии сборки и сварки конструкции из данной стали следует учитывать необходимость снижения остаточных деформаций до величины, при которой они не отражаются на работоспособности и внешнем виде конструкции и не затрудняют сварку отдельных элементов. Для полного снятия напряжений сварное соединение подвергают термообработке. С этой целью при сварке углеродистых конструкционных сталей проводят общий высокий отпуск конструкций (нагрев до 6306500 С с выдержкой при этой температуре в течение 2-3 мин на 1 мм толщины металла). Охлаждение должно быть медленным для того, чтобы при его прохождении снова не возникли напряжения. Режим охлаждения в основном зависят от химического состава стали. Чем больше содержание элементов, способствующих закалке, тем меньше должна быть скорость охлаждения. Во многих случаях деталь охлаждают до температуры 3000С с печью, а затем на спокойном воздухе

Термопластический метод снятия напряжений. Метод основан на создании пластических деформаций в зоне шва, что осуществляется путем нагрева смежных со швом участков основного металла. При этом достигается тот же эффект, что и при растяжении внешними силами. Снятие напряжений достигается только при тщательной регулировке источника нагрева и определенной скорости перемещения его вдоль шва. Сварочные напряжения могут быть сняты почти полностью, если в шве и около шовной зоне создать дополнительные пластические деформации. Это достигается проковкой швов. Проковку производят в процессе остывания металла при температурах 4500 С и выше либо от 1500 С и ниже. В интервале температур 400-2000 С в связи с пониженной пластичностью металла при ее проковке возможно образование надрывов. Удары наносят вручную молотком массой 0,6-1,2 кг с закругленным бойком или пневматическим молотком с небольшим усилием. При многослойной сварке проковывают каждый слой, за исключением первого, в котором от ударов могут образоваться трещины. Этот прием применяют для снятия напряжений при заварке трещин и замыкающих швов в жестких конструкциях. Проковка сварного соединения также способствует повышению усталостной прочности конструкции.

10. Техника безопасности

Для всех способов сварки плавлением в той или иной степени существует возможность опасных воздействий на сварщика в связи со следующими факторами:

поражение электрическим током при прикосновении человека к токоведущим частям электрической цепи;

поражение лучами электрической дуги глаз и открытой поверхности кожи;

ожоги от капель металла и шлака при сварке;

отравление вредными газами, выделяющимися при сварке и при загрязнении помещений пылью и испарениями различных веществ;

взрывы из-за неправильного обращения с баллонами сжатого газа либо из-за производства сварки в емкостях из-под горючих веществ, либо выполнения сварки вблизи легковоспламеняющихся и взрывоопасных веществ;

пожары от расплавленного металла и шлака в процессе сварки;

травмы различного рода механического характера при подготовке тяжелых изделий к сварке и в процессе сварки.

Если сварщик работает в тесном помещении, то он может иметь большую площадь контакта с металлической поверхностью, с целью уменьшения опасности поражения электрическим током необходимо соблюсти следующие мероприятия:

обеспечить надежную изоляцию всех проводов, связанных с питанием источника тока и сварочной дуги, заземление корпусов сварочных аппаратов. Заземлению подлежат: корпуса источников питания, аппаратного ящика, вспомогательное электрическое оборудование. Сечение заземляющих проводов должно быть не менее 25мм2. Ремонтом неисправного оборудования занимается только электромонтер, сварщикам запрещается заниматься ремонтом.

применение в источниках питания автоматических выключателей высокого напряжения, которые в момент холостого хода разрывают сварочную цепь и подают на держатель напряжение 12В.

работа в сухой спецодежде и рукавицах.

С целью предотвращения поражения электрическим током, запрещается притрагиваться к клеммам и зажимным болтам цепи высокого напряжения; снимать крышки клеммников электродвигателей подающего и ходового механизмов автоматов и полуавтоматов.

Сварочная дуга является источником световых лучей, яркость которых может вызвать ожог незащищенных глаз при облучении их в течение всего 10-15 секунд более длительное воздействие излучения дуги может привести к повреждению хрусталика глаза и потере зрения. Ультрафиолетовое излучение вызывает ожоги глаз и кожи, подобные ожогам при прямом действии ярких солнечных лучей, инфракрасное может вызвать помутнение хрусталика глаза.

Воздействие излучения дуги вредно не только для сварщиков, но и для подручных рабочих - сборщиков. Для предотвращения опасного поражения глаз обязательно применение защитных стекол - наиболее темных для сварщиков и более светлых для вспомогательных рабочих, что должно обеспечить значительное (почти полное) поглощение вредных излучений, связанных с горением дуги. Защитные стекла, вставленные в щитки и маски, снаружи закрывают простым стеклом для предохранения их от брызг расплавленного металла.

Щитки изготовляют из изоляционного металла - фибры, фанеры и по форме и размерам они должны полностью защищать лицо и голову сварщика.

Образующиеся при дуговой сварке брызги расплавленного металла имеют температуру до 1800С, при которой одежда из любой ткани разрушается. Для защиты от брызг обычно используют спецодежду из брезентовой и специальной ткани. Куртки при работе не следует заправлять в брюки, а брюки одевать по верх обуви, чтобы брызги расплавленного металла не попадали внутрь сапог во избежание тяжелых ожогов.

Для защиты от соприкосновения с влажной поверхностью земли, снегом, а также с холодным металлом при наружных работах и в помещении сварщики должны использовать теплые подстилки, меты, подколенники и подлокотники из огнестойких материалов.

Предотвращение отравления вредными газами и аэрозолями, выделяющимися при сварке. Высокая температура дуги неизбежно приводит к тому, что часть сварочной проволоки, покрытий, флюсов переходит в парообразное состояние. Эти пары, попадая в атмосферу цеха, конденсируется и превращается в аэрозоль конденсации, частицы которой по дисперсности приближаются к дыму и легко попадают в дыхательную систему сварщиков. Эти аэрозоли представляют главную опасность здоровья сварщиков.

Опасность взрывов возникает при неправильной транспортировке, хранении и использовании баллонов со сжатыми газами, при проведении сварочных работ в различных емкостях без предварительного контроля степени их очистки и наличия с них остатков горючих веществ и т. д.

При использовании баллонов со сжатыми газами необходимо соблюдать установленные меры безопасности: не бросать баллоны, не устанавливать их вблизи нагревательных приборов, не хранить вместе баллоны с кислородом и горючими газами, баллоны хранить в вертикальном положении. При замерзании влаги в редукторе баллона с СО2 отогревать его только через специальный электроподогреватель или обкладывая тряпками, намоченными в горячей воде. Категорически запрещается отогревать любые баллоны со сжатыми газами открытым пламенем, так как это почти неизбежно приводит к взрыву баллона.

При производстве сварочных работ на емкостях, ранее использованных, требуется выяснение типа хранившегося продукта и наличие его остатков. Обязательна тщательная очистка сосуда от остатков продуктов и 2-3-кратная промывка 10-%-н раствором щелочей, необходима также последующая продувка сжатым воздухом для удаления запаха, который может вредно действовать на сварщика.

Категорически запрещается продувать емкости кислородом, что иногда пытаются делать, так как в этом случае попадание кислорода на одежду и кожу сварщика при любом открытом источнике огня вызывает интенсивное возгорание одежды и приводит к ожогам со смертельным исходом.

Взрывоопасность существует и при выполнении работ в помещениях, имеющих большое количество пылевидных органических веществ (пищевой муки, торфа, каменного угля). Эта пыль при определенной концентрации может давать взрывы большой силы. Помимо тщательной вентиляции требуется специальное разрешение пожарной охраны.

Заключение

 

При выполнении курсового проекта, целью которого было получение сварного соединения с требуемыми механическими характеристиками и химическим составом, была разработана технология сварки нахлёсточного соединения ручной дуговой сваркой и сваркой в среде углекислого газа

Режим сварки выбран в соответствии с данной толщиной металла, заданной глубиной проплавления и требуемыми размерами шва.

Источники питания для ручной дуговой сварки и сварки в среде углекислого газа выбраны на основе полученных режимов сварки. При соблюдении разработанной технологии сварки ожидается получение сварного соединения, отвечающего своему назначению.

Список использованных источников

1   Б.Е. Патон Технология электрической сварки плавлением: Учебник для студентов вузов.- М.: Машиностроение, 1962.- 663с.

2       Акулов А.И. Технология и оборудование сварки плавлением: Учебник для студентов вузов.- М.: Машиностроение, 1977.-432с.

         Справочник по сварке. Том 2. Под ред.инж. Е.В. Соколова - М.: Машиностроение, 1961-664с.

         Н.Б. Фишбейн Электроды и флюсы для дуговой сварки: Пособие для студентов вузов.-М.: Машиностроение, 1961.- 61с.

         Котовицкий А.Д. Сварка в среде защитных газов. Учебное пособие для курсов инструкторов по внедрению в народное хозяйство передовых методов сварки. М., «Высш. Школа», 1974-224с.

         Г.А. Николаев Справочные материалы для сварщиков: Учебник для студентов вузов.- М.: Машиностроение, 1951.- 576с.

         Оборудование для дуговой сварки: Справочное пособие/Под ред. В.В. Смирнова. Л.: Энергоатомиздат, 1986.-656с.

         Маслов В.И. Сварочные работы: Учебник для профессионального образования. - М.: ИРПО; Изд.Центр «Академия», 2000.-240с.

         Виноградов В.С. Оборудование и технология дуговой автоматической и механизированной сварки: Учебник для проф. учеб. заведений. - 4-е изд.- М.: Высшая школа; Изд. Центр «Академия», 2001.-319с.