Материал: Технологические основы процесса объемной штамповки

Внимание! Если размещение файла нарушает Ваши авторские права, то обязательно сообщите нам

инструмента. Течение металла при штамповке выдавливанием осуществляется в три стадии: осадка до момента соприкосновения с боковыми стенками оси полости штампа; заполнение основной полости штампа; формирование поковки в полости выдавливания. Особенностью диаграммы усилия (рис. 5, б) является некоторое снижение усилия выдавливания к концу второй стадии течения металла из-за уменьшения сил трения по контакту в основной полости штампа [1].

2. Оборудование


Оборудование для горячей объемной штамповки молоты штамповочные, горячештамповочные кривошипные прессы, горизонтально-ковочные машины. Процессы штамповки на этих машинах имеют свои особенности, обусловленные устройством и принципом их действия.

2.1 Высокоскоростные молоты


Штамповкой на высокоскоростных молотах (ВСМ) получают поковки различных конфигураций с тонкими ребрами, стенками, полотнами, чётким оформлением торцевого рельефа, в ряде случаев без обработки части поверхностей на металлорежущих станках.

Шероховатость поверхностей поковок из алюминиевых сплавов до Ra 0,8, из титановых сплавов и сталей Rz 20. Классификация штамповочных поковок ВСМ включает следующие типы: стержни с утолщением (лопатки, клапаны); стержни с глухой полостью (стаканы, полусферы, крышки); диски (гладкие, со ступицей, с валом); детали с продольным и торцовым оребрением (стержни, стаканы, крыльчатки, шестерни с оформлением зубчатого контура); рычаги, кронштейны, фитинги, корпуса, угольники и др.

На рис.6 показан общий вид высокоскоростного штамповочного молота модель М7348 с энергией удара 63 кДж (6300 кгс∙м).

Технологические особенности серийно выпускаемых ВСМ: наличие нижнего выталкивателя; минимальная скорость удара 6 м/с; минимальный рабочий ход при наибольшей энергии удара 160 кДж в пределах 3-5 мм; отклонение величины энергии последовательных ударов составляет не более 2-5 % от номинального значения; рабочие циклы составляют 5-15с.

Высокоскоростная штамповка, как правило, одноударная, но при обработке заготовок большой массы возможна штамповка и за два - три удара. Целесообразность получения поковки штамповкой на ВСМ решают исходя из анализа конфигурации и размеров изготовляемой детали.

Рис. 6. Штамповый молот (мод. М7348): 1 - амортизаторы, 2 - сварная станина, 3 - баба, 4 - пульт управления

2.2 Горизонтально-ковочные машины


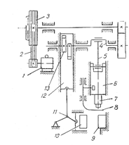
Горизонтально ковочные машины (ГКМ) изготовляют с усилием по ползуну до 3150 тс. Кинематическая схема этой машины изображена на (рис. 7).

Рис. 7. Кинематическая схема горизонтальноковочной машины: 1 - мотор, 2 - клиноремённая передача, 3 - маховик, 4 - кривошипный вал, 5 - шатун, 6 - главный ползун, 7 - несущий пуансон, 9 - неподвижная матрица, 10 - подвижная матрица, 11 - системные рычаги, 12 - боковой ползун, 13 - кулачки.

Горизонтально ковочная машина представляет собой горизонтальный кривошипный пресс, который дополняется боковым механизмом, получающим движение от кулачков 13. Главный ползун 6 машины, несущий пуансон 7, приводится движение от кривошипного вала 4 через шатун 5. Движение подвижной щеки вместе с подвижной матрицей 10 осуществляется от бокового ползуна 12 системой рычагов 11. Сам боковой ползун приводится в движение с помощью кулачков 13, сидящих на кривошипном валу 4. Движение на привод передает мотор 1 через клиноременную передачу 2 и маховик 3.

Штампы горизонтально-ковочных машин состоят не из двух частей, а из трех: неподвижной матрицы 9, подвижной 10 и пуансона 7, раскрывающихся в двух взаимно перпендикулярных плоскостях, что позволяет штамповать сложные поковки. Матрицы 9 и 10 имеют вертикальную плоскость разъема. Главный ползун 6 и боковой 12 горизонтально-ковочной машины в отличие от кривошипных пресс осуществляют движение в горизонтальном направлении.

В настоящее время применяются горизонтально-ковочные машины (небольших размеров) с горизонтальной плоскостью разъема (подвижная матрица вверху), этим облегчается возможность автоматизации технологического процесса.

Штамповка на горизонтальноковочных машинах характеризуется высокой производительностью, возможностью изготовлять поковки сложной конфигурации без напусков; малыми отходами металла точностью размеров и чистотой поверхности и удобством работы.

Вне зависимости от формы полости инструмента высадить на любой диаметр за один переход, выступающий из зажимной части матрицы конец прутка можно лишь в том случае, когда длина этого конца не превышает трех диаметров его. При большей длине возможен изгиб заготовки, а поэтому деформирование в этих случаях осуществляется в специальных наборных ручьях. При наборе материала в матрицах диаметр полости не должен превышать 1,5 диаметра высаживаемого прутка.

Набор материала в пуансоне (рис. 8, а) осуществляется чаще в конических полостях. Максимальный диаметр конуса D1 не должен превышать 1,5 диаметров исходного прутка d, если D1 = l,5d, то размер, а не должен превышать 2d, если D1<l,25d, то размер, а может быть увеличен до 3 d. При последующих высадках под диаметром d следует подразумевать средний диаметр конуса d1, полученного в предыдущем ручье (рис. 8, в), или диаметр прутка d1 (рис. 8, б), высаженного на предыдущем переходе.

Рис. 8. Ручьи штампа ГКМ с набором металла в пуансоне.

Максимальная длина выживаемой части прутка не должна превышать 12 ее диаметров. Необходимое усилие Р, для штамповки на ГКМ определяют по формуле:

= cFσпч

где F - площадь проекции поковки на плоскость, перпендикулярную к направлению движения ползуна; σпч - предел прочности металла при температуре штамповки; с - коэффициент, зависящий от конфигурации поковки; для грубых расчетов его можно принять равным 4.

При работе одновременно во всех ручьях штампа значение F - площадь проекции переходов поковки в формуле Р = cFσпч следует заменять на плоскость, перпендикулярную направлению движения ползуна.

Понятие о конструкции штампов для этих машин и о ходе работы штампа дает (рис. 9).

Заготовкой является цилиндрический пруток, который после нагрева закладывается в ручей 1 штампа и, будучи зажатым матрицами, деформируется верхним пуансоном. Деформированию подвержена часть заготовки, которая выступает из зажимной части ручья. В первом ручье производят набор материала вследствие того, что длина высаживаемой части более трех ее диаметров, и получают усеченный конус А. Полученный в ручье 1 полуфабрикат переносится в ручей 2, после деформирования, в котором поковка получает вид В; в этом ручье, в отличие от ручья 1, где набор металла происходит в полости матрицы, формующая полость находится и в матрице, и в пуансоне. В ручье 2 поковки оформлена по наружному контуру с наметкой отверстия. В ручье 3 происходит прошивка отверстия, диаметром пуансона равным диаметру прутка, после чего получается готовая деталь С. Прошивка осуществляется нижним пуансоном с помощью прошивной вставки 4, закрепленной в матрице. Благодаря, прошивки деталь отделяется от прутка.

Рис. 9. Штамп ГКМ для получения поковки с отверстием: 1 - ручей для получения полуфабриката, 2 - ручей для оформления наружного контура, 3 - ручей для прошивки отверстия, 4 - прошивная вставка.

Правая матрица штампа крепится к станине машины, а левая матрица к подвижной щеке машины при помощи накладок. Пуансоны прикрепляют к ползуну с помощью пуансонодержателей или переходных державок.

Если техническими условиями на изготовление поковки не допускается смещение половин утолщения и овальности наружного диаметра поковки, то штамповку нужно производить в пуансоне. В этом случае наружная поверхность утолщения поковки оформляется боковыми стенками пуансона и не имеет дефектов. Поковка, отштампованная в пуансоне, может иметь меньшие припуски и допуски, следовательно, является более точной. Для такой штамповки проще наладить штампы. Там, где возможно, этому способу штамповки следует отдать предпочтение.

2.2.1 Пресс однокривошипный горячештамповочный КБ8042

Станина пресса КБ8042 - сборносварная, разъемная, состоит из стоек, верхней траверсы и стола, соединенных между собой стяжными шпильками и гидрогайками. Привод регулировки положения стола - механический, от электродвигателя. Для удаления поковок из нижней половины штампа стол оснащен гидропневматическим выталкивателем. Привод прессов - одноступенчатый. Движение передается от электродвигателя через клиноременную передачу на эксцентриковый вал и далее через кривошипно-шатунный механизм на ползун. Муфта включения и тормоз - фрикционные, дисковые, с электропневматическим управлением и воздушным охлаждением, смонтированы на ступице станины. Для наладки прессов предусмотрен микропривод. Ползун - литой, стальной, совершает возвратно-поступательное движение в регулируемых направляющих станины (нижних и верхних). Ползун уравновешен пневматическими цилиндрами. Для удаления поковок из верхней половины штампа ползун оснащен жестким механическим выталкивателем. Управление прессами - кнопочное. Электросхема предусматривает работу прессов в автоматическом и наладочном режимах, а также в режиме одиночных ходов. Система смазки - автоматическая, централизованная, густая [20].

2.3 Ротационные способы изготовления поковок


В основе этих способов лежит процесс ротационного обжатия при вращении инструмента или заготовки. При обкатывании инструментом заготовки очаг деформации имеет локальный характер и постоянно перемещается по заготовке, вследствие чего усилие, действующее на инструмент, меньше чем при штамповке. Это позволяет изготовлять поковки большой массы (заготовка вагонных осей) с большой точностью, так как упругие деформации при меньших усилиях меньше.

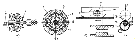
Штамповка на ковочных вальцах напоминает продольную прокатку, на двух валках закрепляют секторные штампы, имеющие соответствующие ручьи (рис. 10, а).

Рис. 10. Схемы действия ковочных вальцов (а), ротационно-ковочной машины (б), станов поперечно-клиновой прокатки (в); раскатки (г)

Нагретую заготовку 1 подают до упора 2, когда секторные штампы 3 расходятся. При повороте валков происходит захват заготовки и обжатие ее по форме полости; одновременно с обжатием заготовка выталкивается в сторону подачи. На вальцах изготовляют поковки типа звеньев цепей, рычагов, гаечных ключей и т.п., а также осуществляют фасонирование заготовок. Исходное сечение заготовки принимают равным максимальному сечению поковки, так как при вальцовке происходит главным образом протяжка. Штамповка на ротационно-ковочных машинах подобна операции протяжки и заключается в местном обжатии заготовки по периметру (рис.10, б). Заготовку 1 в виде прутка или трубы помещают в отверстие между бойками 5 машины, находящимися в шпинделе 4. Бойки могут свободно скользить в радиально расположенных пазах шпинделя. При вращении шпинделя ролики 3, помещенные в обойме 2, толкают бойки 5, которые наносят удары по заготовке. В исходное положение бойки возвращаются под действием центробежных сил. В машинах этого типа получают поковки, имеющие форму тел вращения. Существуют машины, у которых вместо шпинделя с бойками вращается обойма с роликами; в этом случае для возвратного движения ползунов служат пружины. В таких машинах получают поковки квадратного, прямоугольного и других сечений.

Поперечно - клиновой прокаткой (рис.10, в) получают заготовки валов и осей с резкими ступенчатыми переходами диаметром от 12 до 120 мм. Деформирование может осуществляться инструментом в виде двух валков, валка и сегмента или двух плоских плит. Плоско-клиновой инструмент наиболее прост и обеспечивает получение валов сложной конфигурации с высокой точностью. Заготовка 2 из круглого прокатанного прутка после нагрева автоматически перемещается в рабочую зону клиньев 1 в их исходном положении. Клиновой инструмент, закрепленный в подвижной салазке станка, совершает прямолинейное движение. Заготовка прокатывается между двумя клиновыми плитами.

Раскатка кольцевых заготовок на раскатных станах получила особенно большое распространение при производстве колец подшипников. Схема процесса показана на (рис. 10, г). Заготовка 1 представляет собой кольцо с меньшим диаметром и большей толщиной стенки, чем у поковки. Заготовки получают штамповкой на молотах или горизонтально-ковочных машинах. При подведении к заготовке 1, надетой на валок 2, быстро вращающегося валка 3 заготовка и валок 2 начинают вращаться. При дальнейшем сближении валков 2 и 3 увеличивается наружный диаметр заготовки за счет уменьшения толщины и происходит ее контакт с направляющим роликом 4, обеспечивающим получение правильной кольцевой формы поковки. После касания поковкой контрольного ролика 5 раскатка прекращается. Раскаткой получают поковки колец с поперечными сечениями различной формы наружным диаметром 70 - 700 мм и шириной 20 - 180 мм.

2.4 Штамповка жидкого металла


Штамповка жидкого металла является одним из прогрессивных технологических процессов, позволяющих получать плотные заготовки с уменьшенными пропусками на механическую обработку, с высокими физико-механическими и эксплуатационными свойствами.

Технологический процесс штамповки жидкого металла объединяет в себе процессы литья и горячей объемной штамповки. Процесс заключается в том, что расплав, залитый в матрицу пресс - формы, уплотняют пуансоном, закрепленным на ползуне гидравлического пресса, до окончания затвердевания. Сопряжение пуансона и матрицы образует закрытую фасонную полость. Наружные контуры заготовки получают разъемной формой, если деталь имеет наружные выступы, или неразъемной формой - при отсутствии выступов. Внутренние полости образуются внедрением пуансона в жидкий металл.

После извлечения из пресс-формы заготовку подвергают различным видам обработки или используют без последующей обработки. Под действием высокого давления и быстрого охлаждения газы, растворенные в расплаве, остаются в твердом растворе. Все усадочные пустоты заполняются незатвердевшим расплавом, в результате чего заготовки получаются плотными, с мелкокристаллическим строением, что позволяет изготавливать детали, работающие под гидравлическим давлением.

Этим способом можно получить сложные заготовки с различными фасонными приливами на наружной поверхности, значительно выходящими за пределы основных габаритных размеров детали. В заготовках могут быть получены отверстия, расположенные не только вдоль движения пуансона, но и в перпендикулярном направлении.

Возможно, запрессовывать в заготовки металлическую и неметаллическую арматуру. Процесс используется для получения фасонных заготовок из чистых металлов и сплавов на основе магния, алюминия, меди, цинка, а также из черных металлов.

На сегодняшний день довольно широко распространены прессовальные машины литья под воздействием давления. Такие аппараты преимуществено используются для отливки штамповок на основе жидкого металла. Устройства для штамповки жидкого металла обладают ступенчатую поверхность, которая протягивается по всей внутренней поверхности, а так же заливочное окно в стенке ступени меньшего диаметра. Стоит отметить, что в стенке ступени, обладающей несколько большим диаметром, обычно изготавливают дополнительное заливочное окно. Одним из самых крупных недостатков этого устройства является невозможность следить и управлять процессом отливки. Из-за этого, конечно, очень трудно предугадать качество конечной детали. Так же эта особенно часто приводит к тому, что пресс-формы после первой отливки приходится уничтожать из-за несоответствия чертежам и требованиям. Наиболее качественные изделия, максимально отвечающие требованиям и исходным чертежам, можно получить на устройствах, предназначенных для прессования металла под давлением. Такого рода машины так же обладают ступенчатой поверхностью, покрывающей всю длину формы внутренней стороны пресс-формы.