Материал: Светотехнический и электрический расчеты системы освещения ремонтного цеха

Внимание! Если размещение файла нарушает Ваши авторские права, то обязательно сообщите нам

Применяется для общего освещения цехов, улиц, промышленных предприятий и других объектов, не предъявляющих высоких требований к качеству цветопередачи и помещений без постоянного пребывания людей.

ДРЛ широко используют в общем освещении улиц, промышленных цехов и территорий, любых малолюдных или безлюдных помещений - там, где требования к качеству цветопередачи низкие, а к энергосбережению - высокие. Этим требованиям вполне удовлетворяют ДРЛ - эти лампы имеют достаточно высокую эффективность.

За это достоинство им прощаются многочисленные недостатки, указать на которые мы считаем необходимым.

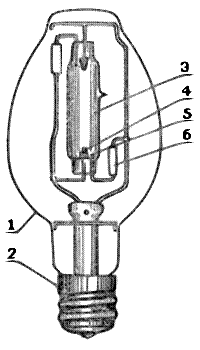
Рисунок 1.3 - Лампа ДРЛ

Устройство лампы ДРЛ: 1 - колба; 2 - цоколь; 3 - горелка; 4 - основной электрод; 5 - поджигающий электрод; 6 - токоограничительный резистор.

К одним из существенных недостатков ламп ДРЛ следует отнести интенсивное образование озона при их горении.

Включение ламп в сеть осуществляют при помощи специальных пускорегулирующих устройств: в обычных условиях с лампой ДРЛ последовательно включают дроссель, в случае температур ниже минус 25 градусов по Цельсию в схему необходимо включить автотрансформатор.

Сам процесс включения ламп ДРЛ сопровождается большим пусковым током. Полное зажигание может занять 7 и более минут, а для повторного ее включения потребуется остудить лампу, выдержав ее незажженной в течение 10-15 минут.

Прочие недостатки ламп ДРЛ

·              низкий коэффициент цветопередачи - 45%;

·              низкая цветовая температура - 3800°К;

·              продолжительное зажигание при включении (примерно 7-10 минут);

·              повторное зажигание ДОЛ после ее отключения допустимо лишь после обязательной выдержки для охлаждения в течение не менее 10-20 минут;

·              лампа ДРЛ может не зажечься, а горящая - погаснуть, если напряжение в сети питания упадет на двадцать или даже менее процентов;

·              зависимость от температуры окружающей среды (проблемы с запуском при температуре ниже -20°С, снижение срока службы);

·              при горении лампы ДРЛ ее колба разогревается до температуры порядка 100°С;

·              у ДРЛ очень высокий коэффициент пульсаций;

·              после 3-6 месяцев службы, что соответствует примерно 2000 часам работы лампы световая отдача ДРЛ снижается вдвое;

·              в излучение ДРЛ преобладает сине-зеленая часть спектра, что ведет к неудовлетворительной цветопередаче, а, значит, исключает возможность применения лампы в случаях, когда объектами освещения являются лица людей, окрашенные и цветные поверхности, мелкие или движущиеся предметы;

·              необходимость включения через специальный балластный дроссель;

·              высокая концентрация паров ртути в лампе ДРЛ (от 0,2 до 0,9 мг) достаточна для отравления людей при случайном повреждении колбы в закрытом помещении объемом 1500 кубических метров (это, например, может быть склад с высотой потолка в 3 метра и площадью в 500 м2).

Светодиоды

Первое отличие светодиодов от других источников света - это низкое потребление электроэнергии, экономичность светодиодных светильников. В основе светодиодной технологии лежит совершенно иной принцип излучения, на несколько порядков экономичней, например, технологии люминесцентных ламп.

Другим важным преимуществом светодиодных светильников является качество света, излучаемого светодиодом. Светодиодные лампы производят свет близкий к естественному, дневному свету, обеспечивая, таким образом, комфортные условия работы и отдыха для человека. Светодиоды отличает высокая степень цветопередачи, близкая к естественной.

Светодиодные лампы экологически чисты, так как не содержат в себе никаких вредных веществ и не связаны с процессами, при которых могут выделяться какие-либо вредные вещества.

Сейчас светодиодные лампы вполне доступны по цене, хотя этот параметр не является главным аргументом в пользу выбора источников света именно этой технологии.

Стоит отметить, что у светодиода отсутствует такой, обязательный для всех остальных видов светильников, элемент как тело накала. Вследствие этого светодиодам присущ необычайно длительный срок службы.

При использовании светодиодов исключается возможность перегрузки муниципальных и городских сетей при наступлении сумерек, когда массово включается большое количество светильников. Ток, потребляемый светодиодной лампой, колеблется от 0,3 до 1,1 ампера, в зависимости от ее мощности. Ток, потребляемый газоразрядной лампой, составляет от 2,2 до 4,5 (в момент пуска) ампер. Экономия от применения светодиодов может достигаться не только за счет снижения потребления энергии, но и благодаря использованию токоподводящих кабелей меньшего сечения.

Светодиодные светильники практически мгновенно выходят на максимальную силу света. Это их свойство не зависит от температуры воздуха, они легко зажигаются и нормально работают даже при экстремальной температуре в - 60°С. Газоразрядные лампы (ДРЛ, ДНАТ), как известно, набирают номинальную силу света постепенно. Кроме того, они очень плохо запускаются при пониженном напряжении и низкой температуре воздуха.

Высокий КПД. Светодиодные прожекторы имеют высокий процент использования светового потока (близкий к 100%), в отличие от обычных уличных светильников, для которых этот параметр составляет 60-75%.

Преимущества светодиодов:

·              низкое энергопотребление - не более 10% от потребления при использовании ламп накаливания;

·              долгий срок службы - до 100 000 часов;

·              высокий ресурс прочности - ударная и вибрационная устойчивость;

·              чистота и разнообразие цветов, направленность излучения;

·              регулируемая интенсивность;

·              низкое рабочее напряжение;

·              экологическая и противопожарная безопасность. Они не содержат в своем составе ртути и почти не нагреваются.

И последнее. Еще одним отличием светодиодных светильников от источников света любого другого вида является то, что у них фактически нет недостатков, или, по крайней мере, они на сегодняшний день не выявлены!

А возможные разговоры о цене вряд ли можно считать сколь-нибудь серьезными: ведь никому не приходит в голову считать цену самым главным фактором при выборе еды.

Рисунок 1.4 - Светодиодная лампа

ГЛАВА 2. ОБЩАЯ ХАРАКТЕРИСТИКА ОБЪЕКТА

Характеристика помещений и требования, предъявляемые к системе электрического освещения.

Объект представляет собой прямоугольный ремонтный цех. Это одноэтажное здание. Высота потолка основного помещения составляет 10 м, вспомогательных помещений 3 м. Общая площадь освещаемого объекта составляет 1728 м2.

Окна расположены по всему периметру здания, вследствие чего создается достаточная естественная освещенность. Помещения, в которых окна отсутствуют (помещение уборочного инвентаря, входные тамбуры) не являются местом постоянного пребывания людей и не требуют естественной освещенности.

Отделка основных помещений выполнена светлой краской, декоративной штукатуркой, пол покрыт светлым линолеумом, коэффициенты отражения: потолка - 50%, стен - 30%, пола - 10%.

Выполняемое задание на дипломное проектирование предполагает проектирование электрического освещения в основном помещении и подсобных помещений для технологического оборудования, для технологических нужд и рабочего персонала, для обеспечения нормальных условий работы.

В данном проекте предусмотрены также подсобные помещения как:

. кладовая

. душевая

. ком. отдыха

. санузлы

. санузлы

. раздевалка

. мастера

. сварочный

. прессовый

. основное

Вводное распределительное устройство (ВРУ) питается от трансформаторной подстанции (ТП) 10/0,4 кВ по радиальной схеме кабелем, проложенным в земле, длинной l = 150 м.

План помещения изображаем на рисунке 2.1.

Рисунок 2.1 - План помещения ремонтного цеха

В таблице 2.1 описаны площади помещений и нормы освещенности необходимые для данных помещений.

Таблица 2.1 - Данные по помещениям.

Наименование помещения

S мм2

Emin, Лк

1

Кладовая

24

50

2

Душевая

32

50

3

Комната отдыха

40

150

4

Санузел М

16

30

5

Санузел Ж

16

30

6

Раздевалка

32

150

7

Мастера

32

250

8

Сварочный цех

54

200

9

Прессовый цех

54

200

10

Основное помещение

1428

200


ГЛАВА 3. РАСЧЕТ ИСКУССТВЕННОГО ОСВЕЩЕНИЯ

.1 Выбор системы электрического освещения, нормируемой освещённости, источника света

Как и в любой проектной разработке выбор источников света осуществляется на основании уже существующих, освещаемых промышленностью источников света, причём выбор их осуществляется на основании сопоставления достоинств и недостатков, требований к освещению рабочей поверхности, пожаробезопасности и взрывобезопасности, а также уже существующих рекомендаций и положений.

Поскольку ВРУ питается от ТП 10/0,4 кВ, то номинальное напряжение осветительной сети принимаем 220/380 В.

Освещение бывает следующих видов:

·   рабочее освещение;

·   аварийное освещение (5% от рабочего).

Аварийное освещение применяется для эвакуации в производственных помещениях с числом работающих не менее 50 человек, и в непроизводственных помещениях не менее 100 человек.

Для заданного типа помещения число работающих не превышает 50 человек, следовательно, для него аварийное освещение не применяем.

Системы освещения бывают:

·   общая;

·   местная;

·   комбинированная.

Общая система освещения предназначена для надлежащих условий видения на всей освещаемой поверхности, включая рабочие поверхности. Оно может быть равномерным и локализованным. Для общего освещения применяется светильники одного типа и мощности.

Комбинированное освещение создает надлежащие условия видения в пределах рабочей поверхности совместно с общим и местным освещением, а по всей основной площади только общим равномерным освещением.

Для нашего помещения принимаем систему общего равномерного освещения.

В данном дипломном проектировании будет проводиться замена всех светильников в помещениях на светодиодные светильники.

Питание осветительных установок, сети и силовой, которая по заданию курсового проекта равна Sнт = 630 кВ×А, производится от трансформаторной подстанции (ТП). ВРУ питается от ТП 10/0.4, по радиальной схеме кабелем, длиной 150 м, проложенным в земле. Осветительная сеть напряжением 380/220В. Коэффициент мощности cosj = 0,86. Коэффициент загрузки трансформатора bт = 0,87.

С учетом вышесказанного, для вспомогательных помещений выбираем источники света, приведенные в таблице 3.1.

Таблица 3.1- Источники света для вспомогательных помещений.

Наименование помещения

Источники

1

Кладовая

Светодиодный светильник “Айрон”

2

Светодиодный светильник “Айрон”

3

Комната отдыха

Светодиодный светильник “Айрон”

4,5

Санузлы

Светодиодный светильник “Айрон”

6

Раздевалка

Светодиодный светильник “Айрон”

7

Мастера

Светодиодный светильник “Айрон”

8

Сварочный участок

Светодиодный светильник “Айрон”

9

Прессовый цех

Светодиодный светильник “Айрон”

10

Основное помещение

Светодиодный светильник “Айрон”


3.2 Выбор приборов электрического освещения и их расположения в плане помещения

Величина нормируемой освещённости является одним из основных исходных данных, определяющих установленную мощность источника света. Освещение рабочих мест нормируется и приводится в справочниках. Нормы устанавливают наименьшую освещенность имея ввиду, что она должна иметь место в ²наихудших² точках освещенность поверхности перед очисткой светильников.

Величина нормируемой освещенности зависит от размеров объектов, коэффициента отражения пола. Выбор освещённости в практических условиях упрощается наличием отраслевых норм, в которых приводятся значения освещенности для основных производственных операций рассматриваемой отрасли промышленности.

При проектировании осветительной установки в расчет вводится коэффициент запаса, учитывающий снижение светового потока источника света вследствие его старения, а также снижение КПД светильника в результате загрязнения ламп, осветительной арматуры и ограждающей поверхности освещаемого помещения.

Значения коэффициентов запаса приведены в справочниках в зависимости от типа светильников, лампы, а также помещений, в которых расположены источники света. Результаты выбора коэффициентов запаса сведён в таблице 3.2.

Одним из условных вопросом, решаемых при проектировании осветительной установки, от которой зависит не только её экономичность, но и надёжность работы, является выбор типа светильников.

Тип светильника определяется:

1. условиями окружающей среды;

2. требованиями к характеру светораспределения;

3. экономической целесообразностью.

Наиболее экономичны светильники прямого светораспределения, которые позволяют различать мелкие дефекты поверхностей.

При выборе светильников по условиям среды в сухих, влажных, сырых помещениях необходимо учитывать, что в сырых помещениях корпус патрона должен быть выполнен из изоляционных, влагостойких материалов, в жарких помещениях все части светильника должны быть из материала необходимой теплостойкости, в пыльных помещениях допустимо полностью или частично пылезащищенное исполнение.

Нормы устанавливают наименьшую освещенность, имея в виду, что она должна иметь место в наихудших точках освещаемой поверхности.

Согласно заданию данного дипломного проектирования минимальная освещенность для основного помещения Emin= 200 Лк.

Нормы освещенности для вспомогательных помещений также даны в задании и приведены в таблице 3.2.

Таблица 3.2 - Нормы освещенности для вспомогательных помещений.

Наименование помещения

Освещённость, лк

1

Кладовая

50

1,3

2

Душевая

50

1,3

3

Комната отдыха

150

1,3

4,5

Санузлы

30

1,3

6

Раздевалка

150

1,3

7

Мастера

250

1,3

8

Сварочный цех

200

1,3

Прессовый цех

200

1,3

10

Основное помещение

200

1,3