Министерство образования Республики Беларусь
БЕЛОРУССКИЙ НАЦИОНАЛЬНЫЙ ТЕХНИЧЕСКИЙ УНИВЕРСИТЕТ
ФАКУЛЬТЕТ ТРАНСПОРТНЫХ КОММУНИКАЦИЙ
Кафедра
«Строительство и эксплуатация дорог»
Отчёт по технологической практике
Место прохождения - ОАО ДСТ № 5 ДСУ № 12
Выполнила: Янковская О.С.
Руководитель практики Будниченко С.С.
Минск -
2014г.
Содержание
Введение
. Общая характеристика ОАО ДСТ № 5 ДСУ № 12
. Подготовительные работы при строительстве автомобильных дорог
.1 Подготовка дорожной полосы
.1.1 Восстановление и закрепление трассы
.1.2 Расчистка дорожной полосы
.1.3 Удаление растительного слоя
.1.4 Разбивочные работы при возведении земляного полотна
.2 Определение объёмов работ по расчистке дорожной полосы
.3 Расчёт потребности в машинах, механизмах, рабочей силе и комплектование специализированных звеньев (отрядов)
. Сосредоточенные работы при строительстве автомобильных дорог
. Строительно-монтажные работы при строительстве автомобильных дорог
. Лабораторные испытания грунтов
Заключение
Список
использованной литературы
Введение
Актуальность прохождения технологической практики в ДСУ № 12 ДСТ № 5 заключается в большом объёме работ, которые выполняет организация и их разнообразием.
Цель практики состоит в углублении профессиональных знаний, формировании необходимых для будущей профессиональной деятельности умений, навыков, личных качеств. Основной целью практики является практическое применение полученных ранее теоретических знаний.
Технологическую практику считаю очень важной, потому что она способствует
развитию и совершенствованию профессиональных качеств.
1. Общая характеристика ОАО ДСТ № 5 ДСУ № 12
В состав ОАО ДСТ № 5 входят ДСУ № 12 г. Минск, пос. Ждановичи, ДСУ № 13 г. Вилейка, ДСУ № 25 г. Борисов, ДСУ № 31 г. Березино.
ДСУ № 12 является специалистом в области строительства, реконструкции, ремонта автомобильных дорог. Компания выполняет полный комплекс работ по строительству и реконструкции автомобильных дорог любой сложности.
Основным направлением деятельности является строительство автомобильных дорог в РБ, ремонт и реконструкция. Также в ДСУ № 12 можно купить гравий, смеси, битум модифицированный. Осуществляется производство строительных материалов: асфальтобетон, цементобетон, песок строительный, щебень гравийный, битумная эмульсия и др.
Штат ДСУ № 12 разделён на пять участков. Первый участок включает заводы: «Королёв Стан», «Заславль», карьер в районе Логойска с перспективой до 2017-2018г.г.
Второй, третий и четвёртый участки занимаются земляными работами. Пятый участок - асфальтоукладкой. Также у ДСУ № 12 есть участок механизации и автотранспортный цех.
В перспективе у ДСУ № 12 покупка двух установок для устройства цементобетонных конструкций, приобретение цементобетонного завода для выпуска тяжёлого бетона.
В настоящее время ДСУ № 12 занимается строительством МКАД 2. Работы ведутся на второй, третьей, четвёртой очереди, которые выполнят объём работы в 40 км. Также ДСУ № 12 производится ремонт Р23, строит логистические центры, производило строительство аэропорта.
Начальником четвёртого участка ДСУ № 12 является
Дубовик Николай Александрович - заслуженный дорожник. Четвёртый участок
занимается строительством второй очереди на Второй кольцевой автомобильной
дороге вокруг г. Минска на участке от автомобильной дороги М-3 Минск - Витебск
до автомобильной дороги М-6/Е28 Минск-Гродно-граница Республики Польша. Одними
из первых положили километр цементобетонной дороги. Последняя цементобетонная
дорога на территории РБ была построена в 80х годах ХХ века.
2. Подготовительные работы при строительстве автомобильных дорог
К подготовительным работам, которые должны быть выполнены до начала возведения земляного полотна, относят:
· восстановление и закрепление трассы;
· расчистка полосы отвода;
· удаление растительного слоя;
· разбивочные работы;
· устройство временных дорог;
· постройку временных сооружений, линий связи, электропередач .
.1 Подготовка дорожной полосы
.1.1 Восстановление и закрепление трассы
Цель восстановления трассы - перенести в натуру и закрепить на местности все основные точки, определяющие положение трассы, а именно: вершины углов, створные столбы, временные реперы.
Восстановление и закрепление трассы осуществляется следующим образом:
1. Отметки по оси трассы закрепляют
прочно забитыми кольями и высокими вехами (l = 3-4м) или колышками с выносом за
пределы зоны работ землеройных транспортных машин с указанным расстоянием
выноса. На прямых участках вехи располагают через 100м, на кривых - через 20м.
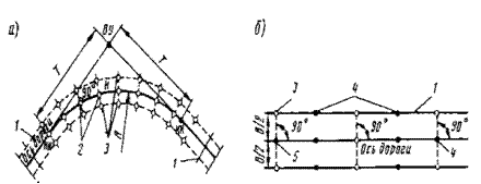
Рисунок 1 Закрепление оси дороги 1 - выносной столб с отметкой; 2 -
выносные колья; 3 - граница полосы отвода; 4 - ось дороги; 5 - пикеты; 6 -
вершина угла поворота;
. Границу подошвы насыпи - колышками через 25-50 м.
2. Углы поворота трассы - прочно вкопанными угловыми столбами с надписью.
3. Водоотводные каналы - колышками с выносом за пределы работ, сторожками на которых указаны расстояния выноски.
4. Полосу отвода земель - столбами в каждую сторону от оси дороги, столбы устанавливают и нормируют с участием местных земельных органов.
Высоты точек закрепляют реперами, устанавливаемыми через каждые
1000-2000м в зависимости от рельефа местности. Реперы устанавливают в стороне
от дороги, окапывают неглубокими канавками и обсыпают землей в виде конуса. В
качестве репера можно использовать цоколи зданий, опоры мостов, крупные камни и
скалы.
.1.2 Расчистка дорожной полосы
Очистка дорожной полосы от леса и кустарника производится после восстановления трассы, предшествуя всем другим линейным работам по строительству дороги.
Полосу земли, отведенную для размещения дороги, расчищают от леса,
кустарника, пней и крупных камней. Работу по расчистке дорожной полосы от леса
и кустарника выполняют таким образом, чтобы получить древесину наилучшего
качества и без потерь. Лес можно убирать в любое время года, однако качество
древесины лучше если деревья сваливают зимой. Валку деревьев осуществляют
спиливанием бензомоторными или электрическими пилами. Спиленные деревья очищают
от сучьев и транспортируют на промежуточный склад трелевочным трактором с щитом
и лебедкой для подтягивания деревьев на щит. Для погрузки деревьев на
транспортное средство используют краны с грейферным захватом, бульдозеры с
челюстным рабочим органом и специальные лесопогрузчики. Схема расчищаемой от
леса дорожной полосы приведена на рисунке 2.
Преимущественно в летнее время производят корчевку пней с помощью бульдозеров, корчевателей или взрыванием. Выкорчеванные пни убирают и сжигают.
Кустарник удаляют с помощью бульдозеров или кусторезов. Иногда для уборки
кустарника применяют корчеватели- собиратели. Срезанный кустарник сгребают
тракторными граблями или кустособирателями в большие валы или кучи.
2.1.3 Удаление растительного слоя
Снятие растительного слоя производится со всей площади, отведенной для строительства дороги под насыпи и выемки, включая и сосредоточенные резервы. Данный грунт используют при укреплении откосов земляного полотна, для распределения на разделительной полосе, рекультивации восстанавливаемых или малопродуктивных сельскохозяйственных земель. Работу выполняют с помощью бульдозеров или скреперов.
В зависимости от ширины дорожной полосы, толщины срезаемого почвенного слоя и мощности применяемого бульдозера работы производят по разным схемам (рисунок 3).
При применении скреперов срезку растительного грунта производят при
продольном движении. Растительный грунт укладывают во временные отвалы или
вывозят сразу после использования в качестве плодородного почвенного слоя.
Временные отвалы располагают по краям полосы или на специальных площадках,
выделенных для этой цели.


Рисунок 3 Схема срезки растительного грунта
а - при малой ширине подготавливаемой дорожной полосы и небольшой толщине n срезаемого слоя;
б - при большой ширине подготавливаемой дорожной полосы и значительной толщине срезаемого слоя в насыпи.
в - продольными проходами универсального бульдозера;
m - полоса для временной дороги; 1,2,3,4 - последовательность зарезания
грунта.
.1.4 Разбивочные работы при возведении земляного полотна
Разбивка земляного полотна заключается в нанесении и закреплении на
местности основных точек, определяющих поперечные размеры будущих насыпей
(границы и их подошвы) и верхние бровки выемок с учетом уклона местности,
толщины снимаемого растительного слоя и расположения боковых канав и резервов.
Эти границы отмечают кольями, забитыми через 25-50 м, или бороздами,
вырезанными автогрейдером.
Рисунок 4 Разбивка насыпи земляного полотна.
Разбивку круговых и переходных кривых на открытой местности выполняют способом прямоугольных координат, а на закрытой - способом углов и хорд.
Разбивку границ откосов з/п (подошвы насыпи и бровок выемки) производят раздельно на каждом пикете и на основных переломных точках плоскости.
Разбивка выемок требует восстановления на местности не только оси дороги,
но и верхних бровок выемок. Для наиболее глубоких участков выемки до уровня их
разработки землеройными машинами по линии бровок боковых канав устанавливают
колья с отметками.
Рисунок 5 Разбивка выемки з/п.
Для разбивки водоотводных и нагорных канав устанавливают на их оси колья,
на которых обозначают глубину канав; на кольях, вынесенных за пределы канав,
обозначают их ширину.
2.2 Определение объёмов работ по расчистке дорожной полосы
При расчистке дорожной полосы могут встречаться следующие виды работ:
валка деревьев, их трелёвка и разделка, корчёвка, уборка пней, очистка от
кустарников т мелколесья, снятие растительного слоя. Объёмы этих работ
рассчитываются на основании плана трассы. Составляется ведомость объёмов работ,
в которой указываются виды работ, пикетное положение участка, его длина, ширина
полосы отвода, объём работ.
.3 Расчёт потребности в машинах, механизмах, рабочей силе и
комплектование специализированных звеньев (отрядов)
Расчет ведется следующим образом: определяются нормы времени в машино-часах и человеко-часах по каждому виду работ, затем путем умножения объема работ на нормы времени определяется общая трудоемкость работ в машино-часах и человеко-часах.
Продолжительность подготовительных работ устанавливается с таким расчетом, чтобы они опережали работы по устройству труб и возведению земляного полотна (можно взять 6-10% от продолжительности строительного сезона). После подсчета общей трудоемкости переводит их в машино-смены и человеко-дни, затем путем деления последней на число смен полезной работы определяется необходимое количество машин и рабочей силы. Расчет приведён в табличной форме.
На основании выполняемых работ комплектуются специализированные звенья
(отряды), состав которых должен учитывать особенности технологии производства
работ и возможно полную загрузку машин и механизмов.
3. Сосредоточенные работы при строительстве автомобильных дорог
В соответствии с особенностями организации все дорожные работы можно разделить на сосредоточенные и линейные. Сосредоточенные выполняются, как правило, в одном месте, а линейные - распределяются по узкой полосе дороги и выполняются с помощью механизированных подразделений, передвигающихся по трассе.
Линейные работы более или менее равномерно распределены по длине строящейся дороги и повторяются на каждом километре лишь с небольшими отклонениями от средних значений: устройство земляного полотна в небольших насыпях и выемках, оснований и покрытий, труб и малых мостов, установка дорожных знаков и ограждений. Из линейных работ наиболее объемны постройка земляного полотна и дорожных одежд. Другие виды линейных работ (постройка труб, малых мостов, устройство ограждений и дорожных знаков) периодически повторяются примерно через равные промежутки.
Сосредоточенные работы обычно выполняют на коротких участках дороги. Они редко повторяются на соседнем участке и по сложности производства, трудоемкости и большому объему резко отличаются от других видов работ: глубокие выемки и высокие насыпи, участки скальных работ, большие и средние мосты, комплексы зданий дорожной и автотранспортной служб, дороги через болота большой протяженности, пересечения в разных уровнях. Сосредоточенные работы должны всегда опережать линейные с таким расчетом, чтобы линейные работы выполнялись непрерывным потоком.
Сосредоточенные работы могут явиться серьезным препятствием, если их окончание не будет строго согласовано с графиком выполнения линейных работ. Поэтому особенность проектирования организации сосредоточенных работ заключается в установлении срока их окончания в соответствии с общим движением. частных потоков, выполняющих линейные работы. Для выполнения сосредоточенных работ целесообразно использовать зимний период. Удлинение строительного сезона за счет зимы имеет много положительных качеств: сохраняется постоянная квалифицированная рабочая сила, повышается коэффициент использования дорожных машин и автомобилей. Некоторое удорожание зимних работ компенсируется ускорением строительства автомобильных дорог, досрочным вводом их в эксплуатацию.
строительство
автомобильный дорога земляной
4. Строительно-монтажные работы при строительстве автомобильных дорог
Строительно-монтажными называют работы, выполняемые непосредственно на объекте. К ним относятся сооружение земляного полотна, устройство дорожных одежд, обустройство дороги.
Во время прохождения практики на моём участке производились: подготовка
основания земполотна, устройство сооружений для регулирования водно-теплового
режима (канавы и кюветы открытого водоотвода, водопрерывающие прослойка из
геотекстиля), разработка выемок, устройство насыпей, планировочные,
укрепительные и отделочные работы, устраивались щебёночные и гравийные
основания, устраивалось асфальтобетонное покрытие.