Материал: Средства и способы взрывания

Внимание! Если размещение файла нарушает Ваши авторские права, то обязательно сообщите нам

Средства и способы взрывания













Контрольная работа

Средства и способы взрывания

Содержание

Средства и способы взрывания

1. Инициирующие взрывные вещества

2. Огневой способ инициирования зарядов

3. Электроогневой способ

4. Электрический способ

5. Взрывание с помощью детонирующего шнура (ДШ)

6. Система "Нонель"

Литература

Средства и способы взрывания


Совокупность средств взрывания и приемов, обеспечивающих инициирование зарядов в заданный момент времени и в заданной последовательности, называется способом взрывания.

Средства взрывания - это совокупность принадлежностей для инициирования зарядов.

В зависимости от используемых средств различают следующие способы взрывания: огневой, электрический, электроогневой и с помощью детонирующего шнура.

1. Инициирующие взрывные вещества


Инициирующие ВВ (ИВВ) предназначаются для возбуждения детонации промышленных ВВ. Основные их свойствами являются способность детонировать от простого начального импульса (луч огня, удар, трение и др.). ИВВ имеют малый период детонации скорости взрывчатого превращения до скорости детонации. Причем разгон реакции происходит при высоких плотностях ВВ и малых величинах заряда.

По сравнению с другими ВВ инициирующие ВВ весьма чувствительны к внешним воздействиям и имеют малую теплоту взрыва, что делает их непригодными к самостоятельному использованию.

Характерные ИВВ - гремучая ртуть, азид свинца и тенерес.

Гремучая ртуть - кристаллический порошок серого цвета. Плотность при прессовании до 4 г/см3. Не растворяется в воде и не гигроскопична. При увлажнении теряет взрывчатые свойства: при 10% -ной влажности горит без взрыва, при 30% -ной не горит.

Увлажненная гремучая ртуть реагирует с металлами. При взаимодействии с медью образуются взрывчатые соединения - фульминаты меди; при взаимодействии с алюминием образуются невзрывчатые соединения пористой структуры.

Температура вспышки 170-180°С. Гремучая ртуть токсична и вызывает раздражение слизистой оболочки или увлажненной кожи.

Азид свинца - мелкокристаллический порошок белого цвета. Плотность при прессовании до 3,5 г/см3. Не растворяется в воде и не гигроскопичен. Детонирует даже во влажном состоянии.

С алюминием не взаимодействует; с медью в увлажненном состоянии образует весьма опасные взрывчатые соединения окисной и закисной меди, поэтому его не снаряжают в медные оболочки.

Температура вспышки азида свинца 310-324°С. Азид токсичен.

Тенерес - мелкокристаллический порошок желтого цвета. Плотность при прессовании до 2,9 г/см3. Чувствительность тенереса к удару ниже, чем у азида свинца, к нагреву выше, поэтому в детонаторах их обычно используют в паре.

Тенерес не растворим в воде, не реагирует с металлами. Температура вспышки 275°С.

Все ИВВ используют для снаряжения средств взрывания и перевозятся только в изделиях.

2. Огневой способ инициирования зарядов


Огневой способ инициирования зарядов осуществляется капсюлем-детонатором (КД), который получает импульс от горящего огнепроводного шнура (ОШ). Он применяется на открытых работах и при проходке горных выработок. Запрещается взрывание этим способом в условиях, опасных по газу и пыли, в выработках с углом наклона более 30° и в тех случаях, когда своевременный отход взрывника затруднен.

Средства взрывания: КД, ОШ и средств зажигания ОШ.

взрыв детонирующий шнур заряд

КД представляет собой комбинированный заряд из инициирующего и бризантного ВВ, запрессованного в цилиндрическую гильзу (рис.1). Выпускается детонаторы гремуче-ртутно-тетриловые, которые содержат 0,5 г гремучей ртути и 1 г тетрила. В качестве бризантного ВВ в детонаторах используют также тэн или гексоген (1 г).

Рис. 1. Капсюль-детонатор. 1 - гильза; 2 - чашечка; 3 - первичное ВВ; 4 - вторичное ВВ; 5 - кумулятивная выемка.

Для работ в высокотемпературных скважинах выпускаются термостойкие детонаторы ТКД-2 (гексоген), ТКД-200 и ТКД-250 (октоген) с порогом термостойкости 165-250°С.

Гильзы детонаторов изготавливает из меди, стала, бумаги и др.

ОШ - это шнур с сердцевиной из дымного пороха с направляющими нитями. Сердцевина заключена в хлопчатобумажные оплетки (рис.2). Выпускаются ОШ для различных условий: ОША - асфальтированных (для сухих и влажных условий), ОШДА - двойной асфальтированный, ОШП - пластиковый (для сухих и обводненных условий).

Рис. 2. Огнепроводный шнур: 1-6 - оплетки; 7 - пороховая сердцевина; 8 - направляющие нити.

ОШ зажигают спичкой, тлеющим фитилем (скорость горения 0,4-1,0 см/мин), с помощью отрезка ОШ (с надрезами через 2-5 см) и зажигательных патронов. Зажигательный патрон - это бумажный стаканчик, на дно которого помещен воспламенительный состав. При зажигании патрона отрезком ОШ воспламеняется пучок отрезков ОШ (7-37 штук), введенных в патрон.

Порядок работ при огневом взрывании.

. Изготовление зажигательной и контрольной трубок (отрезков). Зажигательная трубка представляет собой детонатор, в дульце которого закреплен отрезок ОШ необходимой длины. Предназначается она для инициирования заряда. Контрольная трубка служит для контроля времени при зажигании более 5 зажигательных трубок на открытых работах и в горных выработках. Конструктивно контрольная трубка аналогична зажигательной, но во всех случаях разница в длинах отрезков ОШ зажигательной и контрольной трубок (или их отрезков) должна быть не менее 60 см.

. Изготовление патрона-боевика.

. Заряжание и забойка.

. Зажигание отрезков ОШ. На поверхности количество зажиганий на одного взрывника определяется временем горения контрольной трубки. В горных выработках на одного взрывника приходится не более 16 отрезков или 10 зажигательных патронов. При смешанном зажигании общее количество зажиганий не более 16, из них патронов не более 6.

. Осмотр места взрывания после взрыва. При отсутствии отказа осмотр можно проводить: на открытых работах через 5 мин, в горных выработках через 15 мин с момента последнего взрыва. В случае отказа осмотр места взрыва разрешается не ранее чем через 15 мин.

Достоинства способа: простота исполнения и низкая стоимость. Недостатки: повышенная опасность работ (при зажигании отрезков ОШ взрывная находится вблизи зарядов), отсутствие средств контроля, увеличение выхода ядовитых газов за счет сгорания ОШ.

3. Электроогневой способ


Суть способа заключается в инициировании заряда зажигательной трубкой, отрезок ОШ которой получает импульс от электровоспламенителя.

Средства взрывания: КД, ОШ, электрозажигательная трубка ЭЗТ-2 и средства зажигания ЭЗ-ОШ-Б и ЭЗП-Б.

Электрозажигательная трубка ЭЗТ-2 (рис. 3.) предназначается для работ в сухих местах. Она представляет собой трубку, к отрезку ОШ которой с помощью гильзы, присоединен электровоспламенитель.

Электрозажигатель огнепроводного шнура ЭЗ-ОШ-Б (рис.4) предназначается для зажигания одиночных отрезков ОШ и состоит из бумажной гильзы и электровоспламенителя.

Рис. 3. Электрозажигательная трубка ЭЗТ-2: 1 - отрезок огнепроводного шнура; 2 - гильза; 3 - электровоспламенитель.

Рис. 4. Электрозажигатель огнепроводного шнура ЭЗ-ОШ-Б: 1 - бумажная гильза; 2 - электровоспламенитель.

Электрозажигательные патроны ЭЗП-Б (Рис.5) предназначаются для одновременного зажигания пучка отрезков ОШ. ЭЗП-Б представляет собой бумажную гильзу, на дне которой размещена лепешка зажигательного состава с электровоспламенителем. В зависимости от диаметра гильзы (20-43 мм) в патрон можно одновременно ввести от 1-7 до 28-38 отрезков ОШ.

Рис.4. Электрозажигательный патрон ЭЗП-Б:

- провода; 2 - бумажная гильза; 3 - зажигательный состав; 4 - электровоспламенитель.

Рис.6. Детонирующий шнур.

-4 - оплетки, 5 - сердцевина из тэна, 6 - направляющие нити

4. Электрический способ


Инициирование заряда при этом способе взрывания осуществляется электродетонатором (ЭД), который получает импульс от электровоспламенителя (ЭВ).

Способ применяется на открытых и подземных горных работах, включая выработки, опасные по газу и пыли, при сейсморазведочных и прострелочно-взрывных работах в скважинах.

Средства взрывания: ЭД, провода, источника тока, контрольно-измерительная аппаратура.

ЭД - это капсюль-детонатор, в дульце которого жестко закреплен ЭВ. Электровоспламенитель состоит из мостика накаливания (нихромовой проволочки диаметром 0,03 мм, припаянной к концам детонаторных проводов) и нанесенного на мостик воспламенительного состава (рис.7, а).

Рис. 7. Электродетонаторы мгновенного (а) и коротко-замедленного (б) действия: 1 - гильза; 2 - вторичное ВВ; 3 - первичное ВВ; 4 - электровоспламенитель; 5 - пробка; 6 - детонаторные провода; 7 - воспламенительная головка; 8 - замедлитель

Основные параметры электродетронаторов: сопротивление ЭД - электросопротивление мостика и детонаторных проводов - 2,0 - 4,2 Ом; безопасный ток - максимальный ток, который, протекая без ограничения времени через ЭД, не вызывает его взрыва - 0,15-0,18 А; гарантийный ток - минимальный ток, который, проходя через последовательно включенные ЭД, вызывает взрыв - постоянный 1 А, переменный 2,5 А.

По времени срабатывания - время от момента включения тока до момента взрыва ЭД - различают ЭД мгновенного действия, короткозамедленного действия (ЭДКЗ) и замедленного действия (ЭДЗД). ЭДКЗ и ЭДЗД отличаются от обычных ЭД тем, что в них между ЭВ и зарядом ВВ размещен столбик замедлителя (рис.7, б). Время замедления определяется длиной столбика или его химическим составом.

Выпускаются следующие марки электродетонаторов: ЭД-8-Э, и ЭД-8-Ж, ЭДС (сейсмические), ТЭД-2, ТЭД-200 и ТЭД-270 с порогом термостойкости 165-270°С. ЭДКЗ-15 (6 серий) и ЭДКЗ-25 (8 серий) с интервалом замедления 15 и 25 мс. ЭДЗД с временем срабатывания: 0,5; 0,75; I; 1,5; 2; 4; 6; 8 и 10 с.

Термостойкие ЭД используются при прострелочно-взрывных работах в скважинах.

При монтаже электровзрывных сетей используют магистральные соединительные, участковые и концевые провода. Магистральные провода (марки СПП-1, ВМП и др.) служат для соединения источника тока со смонтированными в сеть ЭД; их сечение должно быть не менее 0.75 мм2. Сечение остальных проводов (марки ЭВ, ЭП, ЭВЖ, ЭПЖ и др.) - не менее 0.2 мм2. Электровзрывная сеть должна быть двухпроводной.

В качестве источников тока используются взрывные конденсаторные приборы (КВП-1/100М, ПИВ - 100М, СВМ-2 и др.), осветительные и силовые электросети, передвижные электростанции и батареи.

Особенностью сейсмического взрывного прибора СВМ-2 является возможность проведения взрыва синхронно с началом сейсмозаписи.

При взрывании от электрических сетей должны использоваться взрывные станции, представляющие собой комплект рубильников, сигнальных ламп и измерительных приборов.

Для контроля качества средств взрывания и монтажа электровзрывных сетей используют:

измерительный мост Р-353 - определение численных значений сопротивлений ЭД и сетей в диапазонах 0,2-500 и 20-5000 Ом;

омметр взрывных цепей ОВЦ-2 - определение сопротивлений в диапазонах 1-50 и 10-500 Ом;

омметр-классификатор ОКЭД-1 - определение сопротивлений ЭД в диапазоне 0,5-8,5 Ом;

пьезоэлектрический взрывной испытатель ВИО-3 - проверка токопроводимости ЭД и сети (сопротивление не более 100 Ом) по светосигнальному устройству.

Порядок работ при электрическом взрывании.

. Проверка ЭД на целостность мостика накаливания.

. Изготовление патрона-боевика.

. Заряжание и забойка. В шпурах и скважинах боевик располагают первым от устья.

. Монтаж электровзрывной сети. Монтаж проводится от заряда к месту расположения источника тока. В подземных выработках расстояние от забоя до источника тока должно быть не менее 75 м; в других случаях оно принимается в зависимости от метода взрывных работ.

. Измерение сопротивления или проверка токопроводимости сети. Разница в расчетном и измеренном сопротивлении не должна превышать 10%.

. Осмотр места взрыва. При отказе осмотр разрешается через 10 мин; при отсутствии отказа осмотр проводится после полного проветривания выработки или окончания подвижки пород на открытых работах, но не ранее чем через 5 мин.

Достоинства способа: неограниченная область применения, наличии приборов контроля, возможность взрывания в любой последовательности, повышенная безопасность.

Недостатки: сложность монтажа взрывных сетей, опасность преждевременных взрывов от блуждающих токов, токов утечки и др.

5. Взрывание с помощью детонирующего шнура (ДШ)


Суть способа заключается в инициировании заряда ДШ (у порошкообразных и прессованных ВВ) или ДШ в сочетании с дополнительным зарядом (у гранулированных ВВ). ДШ инициируют огневым или электрическим способом.

Способ применяется в горнорудной промышленности, при сейсморазведочных и прострелечно-взрывных работах.

Средства взрывания: ДШ, пиротехнические реле.

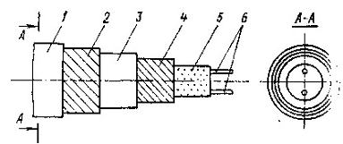
ДШ представляет собой сердцевину из бризантного ВВ, заключенную в нитяные оплетки с внешней водоизолирующей оплеткой красного цвета или любого цвета с двумя красными нитями (рис.10). Диаметр шнура 6-10 мм. Скорость детонации 6,5 км/с.

Выпускаются ДША (асфальтированный, тэн, 12-14 г/м), ДШВ (водоустойчивый, тэн, 14 г/м), ДШТ-165 и ДШТ-180 (термостойкие, гексоген,20 г/м).

Пиротехнические реле КЗДШ-69 используются для короткозамедленного взрывания. Реле представляет собой картонную трубку, в которой помещен КД и пиротехнический замедлитель. Время замедления 10, 20, 35 и 50 мс.

Порядок работ при взрывании с помощью ДШ.

. Нарезка отрезков ДШ.

. Изготовление боевиков. Для порошкообразных ВВ боевик - это заряд ВВ, в который введен отрезок ДШ; для гранулированных - набор шашек тротила или ТГ-50/50, обвитых концом отрезка ДШ. При глубине скважины 15 м и более ДШ дублируется.

. Монтаж взрывной сети. Отрезки ДШ соединяются внакладку на длине 10 см. Инициаторы (зажигательная трубка, ЭД, КЗДШ-69) Прикрепляются к шнуру внакладку.

. Взрывание.

Достоинства способа: простота работ, высокая степень безопасности, возможность применения в условиях блуждающих токов.

Недостатки: высокая стоимость и отсутствие средств контроля.

6. Система "Нонель"


Все современные неэлектрические системы инициирования полностью безопасны к различного рода электромагнитных наводкам и, при этом, позволяют создавать схемы взрывания зарядов с практически неограниченными возможностями управления процессами разрушения массивов горных пород.