Материал: Совершение очистки дизельного топлива грузового автомобиля

Внимание! Если размещение файла нарушает Ваши авторские права, то обязательно сообщите нам

.2 Факторы, влияющие на расход топлива

Расход топлива автомобилями зависит от технических и организационных факторов. Основными из них являются:

улучшение технического состояния автомобилей (в первую очередь систем питания, зажигания, цилиндро - поршневого и газораспределительного механизмов, трансмиссии и ходовой части);

улучшение условий использования автомобилей;

мастерство и квалификация водителя;

улучшение учета и нормирования расхода топлива.

Техническое состояние механизмов автомобилей оказывает решающее влияние на расход топлива через десятки различных факторов. На автомобиле нет второстепенных составных частей. Так, неисправность стеклоочистителя или неправильная регулировка фар хотя и не имеет прямого отношения к расходу топлива, но в определенных условиях затрудняет управление автомобилем, заставляет водителя снижать скорость, чаще тормозить. Поэтому экономия топлива может быть достигнута только при полной технической исправности механизмов автомобиля.

.3 Расчет расхода топлива автомобилями

Индивидуальные нормы расхода топлива применяют внутри хозяйства автотранспортного предприятия. Они являются основанием для списания топлива, израсходованного в целом, как хозяйством, так и водителями, работающими на конкретных автомобилях.

Групповые (плановые) нормы служат для планирования расхода и оценки эффективности использования топлива на транспортную работу в целом по хозяйству, району, области, республике, министерству, то есть на всех уровнях планирования.

Для грузовых бортовых автомобилей и автопоездов, работа которых учитывается в тонно-километрах, индивидуальные нормы расхода топлива слагаются из линейной нормы на 100 км пробега и нормы на произведенную транспортную работу из расчета 2,0 л для автомобилей с карбюраторными двигателями и 1,3 л для автомобилей с дизельными двигателями на каждые 100 тонно-километров (для нормальных дорожных и климатических условий работы).

В соответствии с этим общий нормативный расход топлива Qн конкретным автомобилем рассчитывают по линейной норме на пробег L и норме на транспортную работу Р по формулам:

Qн=Qп+Qт±Qу

Qн=Нл·L/100+Нт·Р/100±(Qп+Qт)ΣΔу·/100(2.1)

где Qп - нормативный расход топлива на пробег, л;

Qт - нормативный расход топлива на транспортную работу, л;

Qу - увеличение или снижение нормативного расхода топлива на особые условия работы, л;

Нл - линейная норма расхода топлива, л/100 км;

Нт - норма расхода топлива на транспортную работу, л/100 ткм;

ΣΔу - суммарное увеличение или снижение нормативного расхода топлива на особые условия работы, %:

ΣΔуу1у2+…+Δуп(2.2)

Объем выполненной транспортной работы (ткм) равен:

Р=Gгр·Lг(2.3)

где Gгр·- масса груза, т;

Lг - пробег с грузом, км.

Для грузовых автомобилей-самосвалов норма расхода топлива слагается из нормы на пробег автомобиля и нормы на каждую ездку с грузом, установленную в размере 0,25 л для всех моделей автомобилей-самосвалов (для нормальных климатических и дорожных условий). Общий нормативный расход топлива для автомобилей самосвалов рассчитывают по формулам:

Qо.н.=Qп+Qе;

Qо.н=Нл·L/100+Нen(2.4)

где Qе, Не - соответственно дополнительное количество и норма расхода топлива на каждую ездку с грузом, л;

n - количество ездок с грузом.

Нормы на 100 км пробега, утвержденной для базовой модели, увеличенной или уменьшенной на 2 л для автомобилей с карбюраторными двигателями и на 1,3 л - для автомобилей с дизельными двигателями на каждую тонну превышения или снижения веса специализированного автомобиля против базового.

В тех случаях, когда на шасси бортовых автомобилей установлено специальное оборудование, не позволяющее автомобилю производить транспортную работу, норма расхода топлива слагается из:

нормы расхода топлива на передвижение, исходя из линейных норм и надбавок на превышение собственной массы;

нормы расхода топлива на работу специального оборудования.

Для автомобилей с прицепами (при отсутствии норм) на каждую тонну собственной массы прицепа норму расхода топлива увеличивают: с карбюраторными двигателями - на 2 л, с дизельными - на 1,3 л.

Таким образом, основной нормируемый расход топлива определяют по индивидуальным нормам, которые составлены для каждого конкретного автомобиля или автопоезда при движении в заданном состоянии в летнее время по дороге с усовершенствованным покрытием, проложенной в равнинно-холмистой местности, при длине ездки более 20 км. Однако эти нормы не учитывают ряд эксплуатационных и природно-климатических факторов, которые влияют на расход топлива при автоперевозках. Эти отклонения от указанных выше условий эксплуатации учитываются соответствующими надбавками, которые устанавливают в процентах к нормируемому топливу.

Нормы расхода жидкого топлива для автомобилей могут быть увеличены или уменьшены в зависимости от времени года, климатических, дорожных и других условий.

Руководителям автотранспортных предприятий и хозяйств предоставляется право увеличивать нормы расхода топлива на 10 %:

для автомобилей, условия, работы которых в черте населенного пункта требуют частых остановок (перевозка продуктов, вывоз мусора и др.);

при перевозке грузов, требующих пониженных скоростей движения;

при постоянной работе автомобилей на территории предприятий и цехов;

для автомобилей (кроме автомобилей УАЗ), использование которых допускается с почасовой оплатой.

Для новых и вышедших из капитального ремонта автомобилей при пробеге первой тысячи километров норма расхода топлива может быть увеличена до 5 %.

При работе в карьерах в тяжелых дорожных условиях, а также на поле норма расхода топлива автомобилем может быть увеличена до 20%, а при учебной езде - 25 %.

На внутригаражные разъезды и технические надобности (технические осмотры, регулировочные работы, приработка деталей после ремонта и др.) разрешается расходовать до 0,5 % топлива от общего его количества, потребляемого автомобилями хозяйства.

При погрузочно-разгрузочных работах, где по условиям противопожарной безопасности запрещается останавливать двигатель (нефтесклады, спецсклады и др.), на один час простоя автомобиля устанавливают дополнительный расход топлива исходя из нормы расхода на 5 км пробега.

Нормы расхода топлива снижаются при работе автомобилей на внегородских дорогах с усовершенствованным покрытием до 15 %.

Следует отметить, что при работе в условиях, требующих увеличения или снижения норм, норму расхода топлива следует изменять в равной степени, как на пробег, так и на транспортную работу.

При определении эффективности использования топлива фактический расход его сопоставляют с нормативным. Фактический расход топлива Qф - это расход топлива конкретным автомобилем (автопоездом) при выполнении транспортной работы в заданных условиях.

.4 Расчет норм расхода топлива для автомобиля ЗИЛ-133 ГЯ

На бортовом грузовом автомобиле ЗИЛ-133 при общем пробеге L=180 км выполнена транспортная работа Р=450 ткм. Фактический расход топлива Qф составил 64,8 л. Необходимо определить эффективность использования топлива на данной работе.

Для автомобиля МАЗ-500 на 100 км пробега необходимо 36,0 л, на 100 ткм транспортной работы - 2,0 л. Нормативный расход топлива на пробег и транспортную работу определяют по формуле:

о.п.=36,0/100·180+2,0/100·450=73,8 л.

Разность между общим нормативным и фактическим расходом топлива (73,8-64,8=9,0 л) соответствует перерасходу топлива 13,9 %.

Устранить потери топлива при эксплуатации автомобиля ЗИЛ-133 возможно при модернизации системы питания.

Техническая характеристика грузового бортового автомобиля ЗИЛ-133 ГЯ дана в таблице

Таблица 2.4 Техническая характеристика грузового автомобиля ЗИЛ-133 ГЯ

Показатели

Значения

Колесная формула

6×4

Грузоподъемность, кг

10000

Снаряженная масса, кг, в том числе: На переднюю ось На заднюю ось (тележку)

7610


3290


4320

Полная масса, кг, в том числе: На переднюю ось На заднюю ось (тележку)

17835


4460


13375

Допустимая масса прицепа, кг

11500

Габаритные размеры, м Длина Ширина Высота



9,250


2,500


4,500

База, м

4,500

Расстояние, м: От передней до средней оси От средней до задней оси



4,610


1,400

Колея колес, м: Передних Задних



1,835


1,850

Дорожный просвет, мм: До передней оси До задней оси (оси тележки)



340


234

Углы проходимости, град: Передний Задний



35


27

Радиусы поворота, м: Наружный габаритный По оси внешнего переднего колеса



12,1


11,6

Максимальная скорость, км/ч

85

Время разгона до скорости км/ч, м

60


50

Выбег со скорости км/ч, м

50


900

Тормозной путь от скорости км/ч, м

40


17,2

Контрольный расход л/100 км топлива При скорости км/ч:

60


26,6

Марка двигателя

КамАЗ-740.10

Тип двигателя

Д

 

Число цилиндров

8

 

Степень сжатия

17,0

 

Максимальная мощность двигателя, кВт

154

 

Частота вращения коленчатого вала, об/мин (при максимальной мощности)

2600

 

Максимальный крутящий момент, Н·м

637

 

Частота вращения коленчатого вала, об/мин (при максимальном крутящем моменте)

1500-1800

 

Минимальный удельный расход топлива, г/кВт·ч

217,6

 

Передаточное число КПП на передачах: 1 2 3 4 5 з.х.


 


7,82

 


4,03

 


2,5

 


1,53

 


1,00

 


7,38

 

Передаточное число главной передачи

6,83

 

Маркировка шин

260R508

 

Давление воздуха в шинах, МПа: Передних колес задних колес


 


0,73

 


0,53

 


2.5 Топливные фильтры

На дизеле ЗИЛ-133 для грубой очистки топлива устанавливают фильтры-отстойники ФГ-1 и ФГ-2, различающиеся только размерами. Фильтр ФГ-1 действует следующим образом. Топливо, засасываемое подкачивающим насосом из бака через полый болт 1 (рисунок 2.1, а), заполняет кольцевую полость А в корпусе 3 и через восемь отверстий диаметром 2 мм в распределителе 4 поступает в стакан 6.

Поток топлива проходит через кольцевой зазор между фильтрующим элементом 5 и стаканом 6 и направляется в полость Б. Направление движения основной части топлива, засасываемого насосом, резко изменяется, и оно проходит через сетку фильтрующего элемента 5 с отверстиями размером 0,1 мм и далее через полый болт 2 в подкачивающий насос. Механические примеси и капли воды, имеющие большую плотность, стремятся сохранить прямолинейное движение и проходят через кольцевой зазор между успокоителем 7 и стаканом 6 в полость В отстоя.

Фильтр тонкой очистки модели 2СТФ-3 (рисунок 2.1, б) дизелей СМД-18Н и А-41 состоит из двух одинаковых секций. Правая секция - первая ступень очистки, левая - вторая ступень. Каждая секция представляет собой пластмассовый стакан 3, в котором размещен неразборный фильтрующий элемент 5 (ЭТФ-3).

а - грубой очистки; 1 и 2 - полые болты; 3 - корпус; 4 - распределитель; 5 - фильтрующий элемент; 6 - стакан; 7 - успокоитель; А, Б, В - полости;

б - тонкой очистки; 1 - запорный болт; 2 - пружина; 3 - стакан; 4 и 20 - резиновые прокладки; 5 - фильтрующий элемент; 6 - стяжной болт; 7 - прокладка; 8 - крышка; 9 - пробка; 10 - корпус продувочного вентиля; 11 и 21 -шарики; 12 - стяжная гайка; 13 - трубка слива топлива при прокачке топливной системы; 14 - продувочный вентиль; 15 - топливопровод отвода чистого топлива; 16 - топливопровод подвода топлива в фильтр тонкой очистки; 17 - болт поворотного угольника; 18 - топливопровод слива топлива из форсунок; 19 - двухходовый кран; 22 - штуцер стяжного болта.

Рисунок 2.1. Топливные фильтры.

Обе секции крепят к одной общей крышке 8. Фильтрующий элемент 5 представляет собой штору из фильтровальной бумаги, помещенную в жесткий картонный цилиндр с отверстиями для прохода топлива. С целью создания максимальной поверхности очистки цилиндрическая штора свернута в виде "гармошки". Фильтрующий элемент надет на стяжной болт 6, один конец которого ввернут в штуцер 22, а второй закреплен в крышке 8 гайкой 12. Вверху фильтрующий элемент уплотнен прокладкой и прижат к крышке 8 пружиной 2.

В крышке расположен двухходовый кран 19, с помощью которого можно отключать правую секцию и промывать ее фильтрующий элемент противотоком топлива без разборки секции. Из левой секции сливается отстой топлива. Для этого отворачивают на два-три оборота болт 1, который упирается в шарик 21, закрывающий отверстие для слива топлива. Чтобы выпустить воздух при заполнении системы топливом с помощью насоса ручной прокачки, отворачивают вентиль 14.

Топливо из подкачивающего насоса нагнетается по топливопроводу 16 и каналу в крышке 8 фильтра в правую секцию. Пройдя через фильтрующий элемент 5, оно поступает в левую секцию и фильтруется, окончательно. Фильтры задерживают частицы размером более 0,002 мм. По топливопроводу 15 очищенное топливо поступает в ТНВД. Вместо модели 2СТФ-3 устанавливают фильтр ФТ-150А, обе секции которого работают параллельно. Отстой сливают из обоих стаканов. Двухходовый кран отсутствует.

В дизелях СМД-60 применяют двухступенчатый фильтр, первая ступень которого состоит из двух параллельно работающих секций, а вторая (контрольная) имеет одну секцию.

В карбюраторных двигателях ЗМЗ-53-11, ЗИЛ-130 и других между баком и топливным насосом установлен щелевой пластинчатый фильтр-отстойник, а между топливным насосом и карбюратором - фильтр тонкой очистки топлива. Последний имеет керамический фильтрующий элемент или элемент в виде стакана из алюминиевого сплава с отверстиями и ребрами, который обернут мелкой латунной сеткой.

Топливоподкачивающий насос большинства автотракторных дизелей поршневого типа и установлен на корпусе ТНВД.

Если по каким-либо причинам (например, вследствие загрязнения фильтра, топливопроводов и т. д.) гидравлическое сопротивление за топливо подкачивающим насосом превысит давление, создаваемое пружиной (0,15...0,17 МПа), перемещение поршня прекратится, и подачи топлива не будет. Ручной прокачивающий насос установлен на корпусе топливо подкачивающего насоса и служит для удаления воздуха в результате заполнения топливом фильтра тонкой очистки, топливопроводов низкого давления [3].

.6 Конструкции механических фильтров для очистки топлив

Анализ отказов и нарушений работы топливных систем машин показал, что их надежность и срок службы в большой степени зависят от наличия в топливе загрязнений:

оставшихся после изготовления агрегатов и их монтажа в систему (заусенцы, отколы, стружка, пыль, волокна, песок, влага, сварочные брызги, краска, остатки промывочных средств);

проникающих в систему из окружающей среды через воздушные фильтры баков (сапуны), уплотнения, крышки баков или демонтируемые при техническом обслуживании элементы;

образующихся вследствие абразивного изнашивания при попадании твердых частиц при непосредственном контакте металлических поверхностей из-за выдавливания топливной пленки между ними, а также при усталостном разрушении, эрозии металлов и неметаллов, при воздействии процессов коррозии, кавитации, окисления самого топлива и др.

В механических фильтрах (с фильтрующими перегородками) взвешенные в рабочей жидкости частицы твердого тела (механические частицы) задерживаются в основном на поверхности фильтрующей перегородки (поверхностные механические фильтры) или на порах ее капилляров, расположенных на большей или меньшей глубине от поверхности (глубинные механические фильтры).

Для изготовления фильтрующих перегородок используют металлическую сетку, профилированную проволоку, металлические пластины, бумагу, войлок (фетр), пористые металлы, пластмассу, керамику, металлокерамику, комбинированные материалы и др. Фильтрующий материал для перегородок выбирают с учетом тонкости фильтрации, гидравлического сопротивления и срока службы до замены.

Он должен быть максимально проницаемым, однако способным задерживать, возможно, малые частицы, механических включений (малые частицы твердых веществ). В соответствии с этим материал должен иметь мельчайшую однородную сетку с максимальной площадью проходных ячеек (пор) и количеством их на единицу площади поверхности. Последнее в основном и определяет тонкость фильтрации, которая характеризуется размерами поровых каналов в фильтрующей перегородке или (что-то же самое) размерами частиц загрязнений, которые удерживаются в фильтре.

В силовых фильтрах рабочая жидкость очищается (фильтруется) за счет действия силовых полей - гравитационного, инерционного, магнитного, электрического и др.

В последние годы, ведущие в области фильтровальной техники, российские и зарубежные фирмы разработали, запатентовали и выпускают новые конструкции гидравлических фильтров, отличающихся улучшенными характеристиками. Так гидравлический механический фильтр позволяет упростить технологию его сборки, снизить трудоемкость технического обслуживания, уменьшить габаритные размеры и массу. Он содержит полый корпус, крышку с впускными и выпускным отверстиями для рабочей жидкости, фильтрующие элементы тонкой и грубой очистки, обратный и перепускной клапаны. Уплотнение стыка корпуса и крышки осуществляется резиновым кольцом.

Топливо на очистку поступает под давлением из гидравлической системы через отверстия крышки, приподнимает обратный клапан и входит в полость Б. Проходя через фильтрующий элемент тонкой очистки, жидкость очищается, поступает в полость А, оттуда через выпускное отверстие В отводится в систему.

Если фильтрующий элемент не успевает пропускать топливо вследствие избыточной подачи ее насосом, загустевания (при низких температурах) или загрязнения (в результате чего перепад давления на элементе превышает заданную величину), то срабатывает перепускной клапан, который открывает проход неочищенной жидкости из полости Б в полость А через фильтрующий элемент грубой очистки. После прекращения подачи жидкости на очистку обратный клапан перекрывает впускные отверстия Г, предотвращая вытекание топлива из фильтра.

В механическом фильтре фирмы Mahle Filtersysteme (Германия) исключается возможность повреждения фильтрующего элемента при его установке в корпус (заявка № 102005013424 на пат. Германии).

Фильтр состоит из вертикального корпуса в виде стакана, ввинчиваемой в него крышки с выпуклой верхней частью и фиксируемого в ней фильтрующего элемента, торец которого опирается на фланец штуцера на дне стакана. Положение фильтрующего элемента в корпусе также фиксируется вспомогательным штуцером на дне стакана, в который заходит запорный выступ элемента.

В дополнение к гидравлическим фильтрам серии Vario фирма выпускает удобные в эксплуатации механические фильтры серии AF 179 производительностью 700-3000 л/мин. Они имеют модульную конструкцию, переменное число фильтрующих элементов (можно установить от 4 до 16 фильтрующих элементов) и различные исполнения по присоединительным размерам и материалам.

Простой конструкцией, удобством обслуживания, сохранением герметичности при замене фильтрующего модуля отличается механический фильтр (заявка № 102005021660 на пат. Германии), разработанный фирмой Siteco (Германия). Его сменный фильтрующий модуль состоит из вертикального пакета дисковидных элементов, который удерживается в нужном для работы положении внутри корпуса с помощью специального приемного устройства и вертикальных и горизонтальных стержней.

Фирма Vomat (Германия) разработала установку полнопоточной очистки с высокой степенью по классу NAS 7 (3 мкм). Каждый ее фильтрующий элемент после достижения определенной степени загрязненности автоматически очищается обратной промывкой; другие фильтрующие элементы продолжают работать.

Высокую степень очистки обеспечивает механический фильтр с пластиной, возбуждающей колебания в очищаемой жидкости (пат. РФ № 2049522).

Он состоит из корпуса с входным и выходным патрубками, фильтрующей перегородки и генерирующей пластины, установленной во входном патрубке с внутренним диаметром d. Передняя кромка пластины жестко закреплена во входном патрубке, а задняя расположена на расстоянии L=0,35+0,45rf от его выходного сечения. Поступающая на очистку рабочая жидкость обтекает пластину, генерирующую в ней поперечные стоячие волны. Воздействуя на частицы загрязнений мелкой фракции (5 мкм и менее), эти волны заставляют их независимо от собственных физико-химических свойств коагулировать между собой. Снижение концентрации частиц загрязнений мелкой фракции повышает надежность фильтрации и качество очистки.

Применение крупнопористых фильтрующих перегородок позволяет получить заданную степень очистки и существенно снизить гидравлическое сопротивление фильтра. Расстояние L от выходного сечения входного патрубка до фильтрующей перегородки должно быть больше длины образованных в топливе поперечных стоячих волн.

Компактные по конструкции непрерывно работающие механические ленточные фильтры типа KF для очистки жидкостей с расходом 110-600 л/мин выпускает фирма Knoll Maschinenbau (Германия). Очистка осуществляется в них через участок фильтрующей ленты, изготовленной из пористого полотна. При достижении на этом участке слоя механических загрязнений определенной толщины включается привод, и загрязненный участок заменяется чистым. Фильтрующая лента перематывается с одного барабана на другой, проходя стадию регенерации (очистки). Фильтры удобны в эксплуатации и обеспечивают качественную очистку.

Большой ресурс работы до замены фильтрующего элемента имеет механический фильтр (заявка № 2391493 на пат. Великобритании), состоящий из цилиндрического корпуса с входным и выходным штуцерами. Цилиндрический фильтрующий элемент, размещенный в полости А корпуса, имеет внутренний канал Б, сообщающийся с выходным штуцером для очищенного топлива.

Жидкость под давлением поступает на очистку через тангенциально расположенный по отношению к корпусу входной штуцер и течет вокруг фильтрующего элемента в кольцевом зазоре В. Эффективная очистка поверхности фильтрующего элемента от собирающихся частиц загрязнений обеспечивается тангенциальным вихрем поступающей на очистку рабочей жидкости, образующимся в зазоре В между внутренней поверхностью цилиндрического корпуса и радиальной наружной поверхностью фильтрующего элемента.

Удобен в эксплуатации механический фильтр (заявка № 19613817 на пат. Германии), состоящий из корпуса, стакана-отстойника, фильтрующего элемента, опорных шайб и решетчатой трубы и уплотнительных колец и. Стакан-отстойник предназначен для накопления отфильтрованных частиц примесей. Фильтрующий элемент надет на решетчатую трубу и закреплен с помощью опорных шайб. Фильтр имеет малые габаритные размеры при относительно большой площади фильтрующей поверхности.

Фирма Z-Filter (Германия) выпустила установку для механической очистки жидкостей с обратной промывкой фильтрующих элементов. Установка работает в автоматическом режиме, экономична и удобна в эксплуатации.

Для улавливания ферромагнитных частиц из жидкости применяют силовые магнитные фильтры, которые комбинируют с механическими фильтрами.

Магнитные фильтры задерживают мельчайшие ферромагнитные частицы, представляющие собой в основном продукты износа, которые невозможно отделить механическим путем.

Анализ улавливаемых ими загрязнений показывает, что они удерживают не только ферромагнитные частицы, но и значительную часть сцепленных с ними немагнитных частиц

Для улучшения очистки топлив разработан ферромагнитный фильтр с комбинированным фильтрующим элементом (пат. РФ № 2042390). Он содержит корпус с механическим фильтрующим элементом, прижатым к уплотнительным резиновым кольцам и пружиной, крышку с выступом, входным Б и выходным А каналами. Во входном радиальном канале Б на выступе крышки установлен закрепленный пластиной магнитный элемент, нижняя часть которого имеет Г-образную форму. Верхняя часть пластины изогнута под острым углом а, причем ее отогнутый конец обращен в сторону входного канала Б с пересечением его горизонтальной плоскостью, проведенной через ось входного канала. Отогнутый конец пластины выполнен в виде лепестков трапецеидальной формы, большее основание которых обращено в сторону магнитного элемента, а меньшее - в сторону канала Б. Площадь поперечного сечения лепестков отогнутого конца пластины значительно меньше площади поперечного сечения радиального входного канала Б. Магнитный фильтр с комбинированным фильтрующим элементом отличается простотой обслуживания.

В составе жидкостей крайне нежелательно наличие воды. Даже ее незначительное количество (0,05-0,1 %) ускоряет процесс окисления жидкости, вызывая гидролиз гидролитических неустойчивых компонентов (различных присадок). Таким образом, вода способствует образованию шлама неорганического и органического происхождения, который приводит к износу деталей агрегатов систем, забиванию фильтров и зазоров в подвижных соединениях и даже к заклиниванию пар трения.

Для обезвоживания жидкостей разработано устройство (заявка № 102004015506 на патент Германии), состоящее из двух параллельных сеток (сит), между которыми располагается слой водопоглощающего минерала - цеолита. Его погружают в бак и по истечении определенного времени заменяют новым. Простотой конструкции, технологичностью изготовления, удобством в эксплуатации это устройство отличается от устройств подобного назначения.

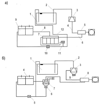
.7 Общая схема системы питания ЗИЛ-133 и ее преобразование

Ранее установленный в систему питания фильтр для очистки и подготовки (модификации) жидкого топлива к сгоранию работал следующим образом (рисунок 2.2).

1-кожух, 2-крышка, 3-фильтрующий элемент, 4-катушка, 5-входной штуцер, 6-нижняя крышка, 7-кран-заглушка.

Рисунок 2.2. Фильтр для очистки и подготовки топлива к сгоранию

Через входной штуцер 5 подавалось топливо, которое, проходя через резьбовую щель, получало заданный начальный импульс вращения вдоль стенки усечённого конуса фильтрующего элемента 3. По мере этого движения за счёт расширения скорость движения топлива падает в 3-4 раза. При этом изменяется порядок расположения различных фракций топлива - более тяжёлые стремятся занять среднюю часть конуса, а лёгкие фракции проходят в фильтрующий элемент в первую очередь. Одновременно на очищаемое топливо действует магнитное поле, создаваемое катушкой 4, расположенной на внешней стороне усечённого конуса, что также позволяет воздействовать на проходящие фракции топлива, модифицируя их в сторону повышения цетанового числа. Очищенное и модифицированное топливо выводится через нижний выходной патрубок и поступает в камеру сгорания двигателя.

Система питания теперь дополняется комбинированным магнитным фильтром, который устанавливается вместо фильтра грубой очистки топлива.

На рисунке 2.3 показана схема включения фильтра очистки топлива в систему питания двигателя ЗИЛ-133.

а) штатная: 1 - топливный бак; 2, 4, 8 .- трубопроводы питательные; 3 - фильтр грубой очистки; 5 - электрический насос подачи топлива; 6 - трубопровод подачи топлива; 7 - фильтр тонкой очистки; 9 - ТНВД: 10 - перепускной клапан обратки с ТНВД; 11 - перепускной клапан обратки с фильтров. б) с фильтром подогревателем- преобразователем и комбинированным магнитным фильтром: 1 - топливный бак; 2 - трубопровод питательный; 3 - фильтр грубой очистки заменяется, на фильтр нового типа; 4 - ТНВД; 5 - перепускной клапан с ТНВД; 6 - перепускной клапан для сброса загрязнений через обратку в бак; 7 - электромагнитный фильтр-преобразователь с системой самоочистки; 8 - электрический насос подачи топлива; 9 - кран сброса загрязнений.

Рисунок 2.3. Включение фильтра нового типа в топливную систему питания дизельных двигателей.

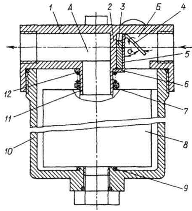
Ферромагнитный фильтр с комбинированным фильтрующим элементом содержит корпус 10 (рисунок 2.4) с механическим фильтрующим элементом 8, прижатым к уплотнительным резиновым кольцам 7 и 9 пружиной 12, крышку 1 с выступом 11, входным Б и выходным А каналами. Во входном радиальном канале Б на выступе крышки установлен закрепленный пластиной 5 магнитный элемент 3, нижняя часть 6 которого имеет Г-образную форму.

Рисунок 2.4. Комбинированный фильтр.

Верхняя часть 4 пластины изогнута под острым углом α, причем ее отогнутый конец обращен в сторону входного канала Б с пересечением его горизонтальной плоскостью, проведенной через ось входного канала. Отогнутый конец пластины выполнен в виде лепестков трапецеидальной формы, большее основание которых обращено в сторону магнитного элемента, а меньшее - в сторону канала Б. Площадь поперечного сечения лепестков отогнутого конца пластины значительно меньше площади поперечного сечения радиального входного канала Б.

Магнитный фильтр с комбинированным фильтрующим элементом отличается простотой обслуживания. При прохождении топлива через магнитный элемент и фильтрующий сменный элемент топливо получает две ступени очистки.

При минимальных затратах времени и средств, предлагаемый фильтр может быть использован в системах питания различных дизельных и карбюраторных двигателей.

.8 Расчет сварочного соединения

Момент изгибающий Ми, Н·м,

Mи=P·h(2.5)

Mи=P·h=38·0,125=4,75 Н·м

При действии изгибающего момента

σ=≤[σр]

где W - момент сопротивления сечения сварочного соединения

Запас прочности принимается n=1,5. Материал уголка и косынки СтЗ сп, для которой предел текучести от 220 МПа. [9,10]

Сварка электродуговая, ручная, электродами Э42А

[σр]===146 МПа

Катет шва R=8 мм=0,008 м.

Длина шва l=34 мм=0,034 м.

Wсв.шва==6,34·10-5

σ==7,49·10-6 Па

σ≤[σр]

.9 Расчет резьбового соединения повышенной прочности

На рабочие органы машин действуют большие динамические нагрузки, приводящие к релаксации и последующему разрушению резьбовых соединений деталей. В этих узлах обычно используют конструкции со свободной посадкой крепежных деталей, при которой зазоры могут достигать 1 мм.

При расчете групповых болтовых соединений такого типа за совместное действие поперечных и осевых усилий принимают, что болты нагружены равномерно. Однако, как показали экспериментальные исследования, коэффициент равномерности распределения поперечной нагрузки находится в пределах 0,25-0,35.

Недостаточная прочность и жесткость соединений часто приводят к их разрушению и простою техники.

К причинам разрушения узлов с крепежными деталями, установленными по свободной посадке, относятся:

жесткое защемление части крепежных деталей, установленных с минимальными зазорами, приводящее к неравномерному восприятию поперечной нагрузки (20-30 % причин группового разрушения крепежных деталей по плоскости разъема);

несоответствие расчетных напряжений действительным;

неучет факторов, существенно снижающих сопротивление материалов деталей, в частности, под действием переменных сдвигающих и осевых сил происходит частичное раскрытие соединения и деформационное скольжение прижатых к крепежу деталей по пояскам, в результате которого накапливаются усталостные повреждения в материале крепежа и соединяемых деталей.

Частичное раскрытие соединения сопровождается изгибом стержня болта и резким повышением напряжений на наиболее растянутом волокне, порой превосходящих предел текучести и способствующих появлению микротрещин усталости, снижению начального натяга и существенному уменьшению долговечности.

Предлагаем резьбовое соединение новой конструкции, показанное на рисунке, которое заметно увеличит усталостную прочность соединений деталей (рисунок 2.5).

Рисунок 2.5. Конструкция резьбового соединения.

При сборке болт 4 свободно проходит через отверстие в детали 1 и плотно входит в отверстие цилиндрической втулки 3 под посадку без зазора. Затем болт затягивается с заданным усилием натяга, обеспечивающим упругое вдавливание его головки и гайки 5 в детали 1 и 3.

При работе соединения под действием поперечных нагрузок все болты деформируются как трехопорные стержни с двумя защемленными краями и одной опорой длиной в детали.

Защемление болта в сечении, совпадающем с опорной поверхностью головки, обеспечивается за счет упругого вдавливания головки болта 4 от затяга, а в детали 2 - за счет посадки без зазора во втулке 3 и вдавливания в нее гайки. Втулка, в свою очередь, также упруго вдавливается в деталь 2 от затяга болта.

Исследования несущей способности новой и типовой конструкций (в обоих случаях резьбовые детали M10×50) проведены на экспериментальной установке с использованием специально изготовленного приспособления.

Испытывали два болтовых соединения, в которых последовательно установлены по шесть болтов. Соединение нагружали поперечной нагрузкой от 0 до 22·10 Н. Напряжение начального затяга (от 50 до 300 МПа), создаваемое при завинчивании гайки с помощью динамометрического ключа, контролировали по относительной деформации тела болта с помощью приклеенных тензодатчиков.

Одновременно исследовали напряжения изгиба под резьбовой частью и головкой болта, поперечную нагрузку, смещение деталей, неподвижность головок болтов и гаек.

По результатам экспериментов получена зависимость, показанная на рисунке 2.6. Из графиков видно, что в узле новой конструкции напряжения изгиба в резьбовой части меньше в 16 раз, а жесткость выше в 20 раз.

Рисунок 2.6. Зависимость напряжений изгиба в болтах (а и б) и смещений S деталей от поперечной нагрузки (б и г) в типовой (а и б) и новой конструкциях (б и г).

Предложенная конструкция исключает частичное жесткое защемление группы крепежных деталей с минимальными зазорами. Податливость на изгиб позволяет выбрать небольшие зазоры Д и выровнять нагрузку на все крепежные детали. В результате повышается равномерность загрузки всех болтов группового соединения и существенно возрастает его прочность и жесткость.

.10 Техническое обслуживание системы питания дизельного двигателя

К неисправностям системы питания дизельного двигателя, вызывающим ухудшение его работы, относятся затрудненный пуск, перебои в работе, неравномерная работа, снижение мощности двигателя, дымный выпуск отработавших газов, неустойчивая работа двигателя и "разнос", когда двигатель трудно остановить. Трудность пуска двигателя происходит в результате чрезмерного снижения давления при впрыске и уменьшении подачи топлива. Эти неисправности возникают вследствие износа плунжерной пары и отверстий распылителя форсунки, уменьшения упругости пружины форсунки, плохого крепления штуцеров, засорения фильтров и трубопроводов.

Двигатель работает с перебоями, если неплотно затянуты штуцера топливопроводов высокого и низкого давления, неплотно прилегают крышки топливных фильтров (подсос воздуха), неисправен топливоподкачивающий насос, нарушена регулировка величины и равномерности подачи топлива секциями насоса высокого давления.

Мощность двигателя снижается из-за недостатка в подаче топлива и неправильной регулировки насоса.

Дымный выпуск отработавших газов является следствием избыточной подачи топлива и плохого его распыления или неправильной установки насоса высокого давления и износа поршневых колец. Избыточная подача топлива происходит из-за неправильной регулировки насоса высокого давления, а плохое распыливание из-за потери упругости пружин форсунки, неплотного прилегания иглы и износа отверстий распылителя.

Работа двигателя "в разнос" происходит в случае заедания рейки, поломки пружины рычага провода рейки и попадания излишнего масла в камеру сгорания при износе поршневой группы.

При выполнении сборочно-разборочных работ необходимо обеспечить максимальную чистоту, так как даже незначительное попадание пыли и грязи в систему питания может привести к ее засорению и износу деталей. После отсоединения топливопроводов все отверстия приборов и трубопроводов должны быть закрыты пробками, колпачками или замотаны чистой изоляционной лентой, а перед сборкой все детали должны быть тщательно промыты.

Топливопроводы и фильтры нужно промывать и продувать сжатым воздухом. Топливные фильтры заменяют при их значительном загрязнении или в соответствии с заводской инструкцией.

В неисправном топливоподкачивающем насосе и насосе высокого давления изношенные или поломанные детали заменяют. Насос высокого давления после обслуживания испытывают и регулируют на специальном стенде СДТА-1. Регулировку производят на начало, величину и равномерность подачи топлива.

В форсунках проверяют чистоту отверстий и если они закоксованы, то их прочищают стальной проволочкой диаметром 0,3 мм. Собранную форсунку проверяют на давление впрыска и на распыливание. Игла форсунки должна плотно прилегать к своему гнезду, а если посадка нарушена, иглу нужно притереть фильтра фильтрующий элемент воздухоочистителя заменять.

Утечка в системе питания, помимо увеличения расхода топлива, приводит к нарушению режима работы двигателя. Для проверки герметичности топливопроводов низкого давления применяют прибор типа НИИАТ-383. В этом приборе создается давление 0,3 МПа и он подключается к топливопроводу со стороны бака, при этом все неплотности в соединениях обнаруживаются по обильному вытеканию топлива. Утечка в трубопроводах высокого давления также обнаруживается по вытекающему топливу.

Начало подачи топлива секциями насоса высокого давления регулируют на стенде типа СДТА-1 со снятой муфтой опережения впрыска.

Регулировку величины и равномерности подачи топлива секциями насоса производят на том же стенде. Величина и равномерность подачи определяется по количеству топлива в мерных мензурках для каждой топливной секции.

Регулировку частоты вращения коленчатого вала на холостом ходу осуществляют при прогретом двигателе вращением корпуса буферной пружины всережимного регулятора.

Максимальную частоту вращения регулируют ограничительным винтом максимальных оборотов. Проверяют по тахометру.

Проверка и регулировка форсунки на давление впрыска и качество распыливания топлива осуществляется на стендах типа КП 1600А.

Регулировку форсунки на давление впрыска производят при снятом колпачке путем вращения отверткой регулировочного винта, который предварительно нужно расконтрить.

В исправной форсунке топливо выпрыскивается одновременно из всех отверстий в виде тумана, после окончания впрыска не должно быть подтеканий.

Основные работы, выполняемые при техническом обслуживании системы питания дизельного двигателя.

ЕО. Очистить от грязи н пыли приборы системы питания. Проверить уровень топлива в баке и при необходимости произвести заправку автомобиля топливом. Слить из топливного фильтра предварительной очистки 0,1 л, а из фильтра тонкой очистки 0,2 л топлива. Проверить герметичность соединения топливного бака, топливных фильтров, топливоподкачивающего насоса, насоса высокого давления и форсунок и коммуникаций от воздушного фильтра. Проверить уровень масла в картере корпуса всережимного регулятора частоты вращения коленчатого вала, состояние привода управления насосом высокого давления, работу указателя уровня топлива в баке.

ТО-1. Проверить крепление впускного и выпускного трубопроводов, топливных фильтров и топливоподкачивающего насоса и герметичность воздухопроводов от воздушного фильтра. Слить отстой из топливного, бака. Промыть корпус и заменить фильтрующие элементы топливных фильтров. Смазать шарнирные соединения приводов управления насосом высокого давления.

ТО-2. Промыть топливный бак. Проверить крепление глушителя и всережимного регулятора; герметичность системы питания и циркуляцию топлива, а также действие насоса высокого давления и форсунок. Отрегулировать частоту вращения коленчатого вала двигателя на холостом ходу. Через каждые 1000 ч работы фильтра фильтрующий элемент воздухоочистителя заменять.

При сезонном обслуживании произвести очистку первой ступени фильтра очистки воздуха. Не реже одного раза в два года производить проверку показаний индикатора засоренности воздушного фильтра.

3. Охрана труда

.1 Особенности безопасности труда на транспортных предприятиях

Безопасность труда - это система законодательных актов и соответствующих им социально-экономических, технических и гигиенических организационных мероприятий, обеспечивающих безопасность труда, сохраняющих здоровье и работоспособность человека в процессе труда [10].

Основной составляющей частью безопасности труда законодательство, техника безопасности и производственная санитария по ГОСТ 12.0.003-83. ССБТ [11].

Техническая реконструкция, механизация и автоматизация АТП призвана сыграть основную роль в качественном изменении содержания труда. Если прежде производственный труд имел преимущественно физический, мускульный характер, то сейчас в связи с научно-техническим прогрессом он все более интеллектуализируется. За счет техники значительно расширились возможности человека и одновременно возросли требования к безопасности труда [12].

.2 Меры безопасности при работе с вредными веществами

На АТП при заправке топливного бака, системы охлаждения, тормозной системы, окрасочных и антикоррозионных работах, ремонте поверхности кузова приходится иметь контакт с вредными веществами. Правильное обращение с ними, соблюдение мер личной гигиены, использование средств индивидуальной защиты позволяют полностью предотвратить их опасное и вредное воздействие па организм человека.

Этилированный бензин применяют на АТП в качестве топлива для автомобильных двигателей. Применять его для любых других целей запрещается.

В состав этилированного бензина входит этиловая жидкость. Она повышает антидетонационные свойства бензина и содержит тетраэтилсвинец, который является сильнейшим ядом. Проникая в организм человека через органы дыхания, кожу, слизистые оболочки и даже через желудочно-кишечный тракт при приеме пищи и питьевой воды, он поражает, прежде всего, центральную нервную систему и кроветворные органы, двигательные волокна.

Признаки острого отравления этилированным бензином проявляются не сразу, иногда они обнаруживаются через несколько суток. При многократном воздействии небольшими дозами возникает хроническое отравление, которое развивается постепенно.

Этилированный бензин легко отличить - его окрашивают специальным красителем, входящим в состав этиловой жидкости, в красно-оранжевый или сине-зеленый цвет. Неокрашенный этилированный бензин отпускать и применять запрещается.

К работе с этилированным бензином допускаются только работники, прошедшие медицинское освидетельствование и инструктаж по правилам обращения с ним. Инструктаж повторяется каждые 3 мес.

На предприятиях, применяющих этилированный бензин, должен быть установлен такой порядок его перевозки, хранения, отпуска и расходования, чтобы исключить возможность его использования не по назначению.

Запрещается использовать этилированный бензин в двигателях, работающих внутри помещений (внутрицеховой транспорт, стационарные двигатели), применять для испытания двигателей на испытательных станциях без оборудования их дополнительной, надежно действующей вентиляцией, хранить вне специально оборудованных складов и хранилищ, заполнять им резервуары более 90 % их вместимости, перевозить в кузовах легковых автомобилей, автобусов, в кабинах, а также на грузовых автомобилях и прицепах вместе с людьми и животными, транспортировать совместно с пищевыми грузами и промышленными товарами.

Для этилированного бензина должны быть предусмотрены отдельные резервуары для хранения, топливопроводы, колонки и тара для перевозки. Емкости для перевозки и хранения должны быть исправными (их проверяют ежедневно) и герметически закрывающимися с надписью "Этилированный бензин".

Автомобили заправляют этилированным бензином только из бензоколонок или автозаправщиков через шланг с раздаточным пистолетом. Нельзя пользоваться для этой цели ведрами или лейками, а также переносить бензин в открытой таре. Во время заправки заправщик и водитель должны находиться с наветренной стороны автомобиля, как это принято в обычных условиях. Места постоянной заправки оборудуют площадками из бензостойких материалов с ровными, удобными для очистки поверхностями, уклонами и трапами для спуска сточных вод в канализацию и бетонированными сборными колодцами с бензо- и маслоуловителями.

При ремонте автомобиля следует помнить, что детали двигателя, работающего на этилированном бензине, бывают покрыты особо ядовитой пленкой бензина из-за высокой концентрации тетраэтил-свинца. Он образуется за счет быстрого испарения с поверхности деталей. Кроме того, отлагающиеся на деталях двигателя (головках цилиндров, цилиндрах, клапанах, выпускных трубах) осадки содержат бромистый свинец и окись свинца, которые в свою очередь могут вызвать отравление. Тетраэтилсвинец, содержащийся в парах бензина, попадает в картер двигателя и загрязняет масло.

При ремонте детали, узлы и агрегаты должны обезвреживаться, для чего их погружают в керосин на 10-20 мин. Двигатель перед, разборкой обтирают снаружи кистью или ветошью, обильно смоченной в керосине. При ремонте системы питания запрещается продувать ее ртом, а также категорически запрещается засасывание бензина ртом при переливании.

В местах храпения, погрузки, выгрузки этилированного бензина и работы с ним должны находиться в достаточном количестве средства для обезвреживания пролитого бензина и очистки загрязненных им поверхностей: керосин, хлорная известь, раствор дихлорамина, опилки, ветошь и т. п.

В случае загрязнения этилированным бензином почвы, тары, автомобиля, оборудования, пола их обезвреживают, используя 1,5 %-ный раствор дихлорамина в неэтилированном бензине или хлорную известь в виде кашицы (1 часть хлорной извести на 3-5 частей воды). Металлические предметы обезжиривают керосином или щелочным раствором. Загрязнение цементобетонных и асфальтобетонных покрытий можно снять кашицей из хлорной извести. Ее наносят на 15-20 мин, а затем смывают водой. Для деревянных конструкций такую операцию проводят дважды.

Для работы с этилированным бензином должны обязательно использоваться средства индивидуальной защиты: костюмы по ГОСТ 12.4.111-82 и ГОСТ 12.4.П2-82, фартуки но ГОСТ 12.4.029-76, резиновые сапоги по ГОСТ 12265-78, перчатки резиновые по ГОСТ 20010-74.

При обезвреживании резиновые сапоги, перчатки и фартуки натирают кашицей хлорной извести (1 часть извести па 2-3 части воды). Хорошо действуют также вымачивание в насыщенной хлорной воде и обильное промывание чистой водой. Перед снятием перчаток их предварительно протирают керосином, а затем моют водой с мылом. Сняв перчатки, необходимо также тщательно вымыть руки водой с мылом.

В спецодежде, использованной при работе с этилированным бензином, запрещается входить в столовые, красные уголки, служебные и жилые помещения.

Нельзя выносить спецодежду после работы за пределы предприятия или хранить ее вместе с обычной одеждой. Стирать и сушить ее следует отдельно от другой одежды.

Загрязненные этилированным бензином обтирочные материалы, ветошь, опилки должны быть собраны в металлическую тару с плотными крышками, а затем сожжены в специально отведенном месте.

Платформы и борта кузовов автомобилей и прицепов, выделенных для постоянной перевозки этилированного бензина, должны быть обиты листовым железом. После каждой смены их необходимо тщательно очищать, обезвреживая загрязненные места.

Использовать емкости из-под этилированного бензина для перевозки других жидкостей разрешается только после полного удаления из них остатков бензина и обезвреживания.

Емкость обезвреживают следующим образом. Ее проветривают, пропаривают и вновь проветривают. Затем наливают в емкость керосин из расчета 10 л керосина на емкость объемом 250 л, закупоривают и в течение 10 мин перекатывают так, чтобы вся внутренняя поверхность была полностью обмыта. Промывают емкость дважды. После этого протирают снаружи кистью или ветошью, смоченной керосином.

При попадании этилированного бензина на лицо, руки или другие части тела их надо обтереть тряпкой, смоченной в керосине, а затем обмыть теплой водой с мылом; при попадании бензина в глаза надо немедленно промыть их 2 %-ным раствором питьевой соды или чистой теплой водой.

В местах, где используется этилированный бензин, должны быть вывешены инструкции и предупредительные надписи.

Антифриз - специальная этиленгликолевая низкозамерзающая охлаждающая жидкость, заливаемая в систему двигателя во время эксплуатации автомобиля в холодное время года.

Этиленгликоль и его водные растворы крайне ядовиты. Они поражают центральную нервную систему и почки человека.

Случайное заглатывание даже небольшого количества антифриза может привести к смертельному исходу. Для предупреждения отравления антифризом необходимо строго соблюдать требования техники безопасности и производственной санитарии.

Перевозить и хранить антифриз следует в исправных металлических бидонах с герметическими крышками и бочках с завинчивающимися пробками. Крышки и пробки должны быть опломбированы. На таре должна быть выполнена надпись несмываемой краской "Яд" и нарисован знак, установленный для ядовитых веществ (ГОСТ 12.4.026-76). В связи с тем, что антифриз при нагревании расширяется, тару заполняют только на 90 %.

Систему охлаждения заливают антифризом на 6 % меньше полного объема. Если уровень антифриза в системе охлаждения понизился в результате испарения, доливают только чистую воду. При заправке используют только специально предназначенную для этой цели посуду (ведра с носиком, воронки) с надписью "Только для антифриза". Переливать антифриз через шланг путем подсасывания ртом запрещается.

После каждой операции с антифризом нужно тщательно мыть руки водой с мылом. дизельный двигатель топливный автомобиль

Персонал допускают к работе с антифризом только после ознакомления под расписку с правилами применения антифриза.

Метанол (метиловый спирт) применяют на АТП как растворитель лаков, смол и жиров. Он обладает высокой токсичностью и способен накапливаться в организме человека. Легкая форма отравления характеризуется головной болью, головокружением, тошнотой, рвотой, повышенной утомляемостью и т. п. При тяжелой форме происходят расстройство и потеря зрения, появляются судороги, возможна потеря сознания и даже смерть.

При работе с метанолом должны выполняться Общие санитарные правила № 4132-86. Тара для хранения и перевозки метанола должна герметически закрываться, пломбироваться и иметь надписи несмываемой краской "Яд", "Огнеопасно" и знак, установленный для ядовитых веществ. Сливать метанол надо специально для этого выделенными насосами или сифонами. Переливание ведрами и сифонами с засасыванием ртом запрещается. Порожнюю тару из-под метанола необходимо промывать большим количеством воды.

При попадании метанола на руки, лицо и одежду облитые места необходимо немедленно обмыть большим количеством воды и сменить одежду. При попадании метанола внутрь следует немедленно направлять пострадавших в лечебное учреждение.

Рабочие, связанные с применением метанола, должны проходить специальный инструктаж.

В качестве средств индивидуальной защиты от метанола и других растворителей, смывок, преобразователей ржавчины используют спецодежду, рукавицы, резиновые перчатки, респираторы (для защиты органов дыхания при окрасочных работах) и дерматологические средства. Из дерматологических средств рекомендуются крем "Пленкообразующий", ТУ 47-7-4к/68 и пасты ИЭР-1, ФС 42-501-72.

Наносить защитные пасты, мази и кремы следует только па чистую кожу рук, равномерно распределяя по поверхности кожи тонким слоем с помощью шпателя. Приступать к работе следует через 3-4 мин после нанесения крема "Пленкообразующий" и пасты ИЭР-1. За это время образуется защитная пленка, предохраняющая кожу от контакта с вредными веществами. По окончании работы крем и пасту смывают холодной водой. Затем следует вымыть руки с мылом.

Эпоксидные смолы являются основой эпоксидных клеев и композиций, которые используют для склеивания различных материалов и при ремонте автомобилей (заделке трещин, вмятин и раковин, устранении коррозионных повреждений на кузове и оперении).

Смола и отвердитель являются токсичными веществами. Пары отвердителя могут вызвать отравления, а эпоксидная смола, попадая на кожу,- различные кожные заболевания (экземы, дерматиты и др.). Очень опасно попадание эпоксидной смолы на органы зрения.

Для обеспечения санитарно-гигиенических условий при работе с эпоксидными смолами разогревать и перемешивать их, а также вводить в них компоненты необходимо в вытяжном шкафу. Из средств индивидуальной защиты следует использовать резиновые перчатки, нарукавники и защитные очки. Руки желательно покрывать названными ранее защитными кремами и пастами.

Столы и верстаки, на которых работают с эпоксидными составами, покрывают бумагой или картоном, которые по окончании работы сжигают.

Наносить эпоксидные смолы на обрабатываемые детали следует только шпателем или лопаткой. Излишки и подтеки с деталей снимают бумагой, а затем ветошью, смоченной ацетоном.

При попадании отвердителя на незащищенную кожу ее следует промыть теплой водой с мылом и натереть мыльной пастой. При попадании эпоксидной смолы ее смывают ацетоном. Запрещается применять для этой цели бензол, четыреххлористый углерод и другие токсичные растворители.

Тормозные жидкости применяют для заполнения систем гидравлического и гидропневматического тормозных приводов и гидравлического привода выключения сцепления. Тормозные жидкости "Нева" и ГТЖ-22 М на гликолевой основе ядовиты. При попадании внутрь организма они могут вызвать отравления и даже смерть. При их использовании следует соблюдать те же меры безопасности, что и при работе с антифризом.

При использовании новых химических средств и составов следует соблюдать требования безопасности, изложенные в прилагаемых к ним инструкциях.

3.3 Меры безопасности при техническом обслуживании транспортных средств

На постах технического обслуживания широко используются электромеханические подъемники. Причины травматизма при эксплуатации подъемников можно подразделить на две группы:

связанные с аварией подъемников;

не связанные с авариями.

Аварии подъемников могут произойти из-за их перегрузки и неисправного содержания механизмов самого подъемника. Несчастные случаи при проведении ТО на подъемниках, не связанные с авариями, происходят при падении автомобиля, при зажатии человека между автомобилем и неподвижной частью подъемника, при поражении электрическим током, из-за низкой квалификации обслуживающего персонала.

К выполнению обязанностей по управлению и обслуживанию подъемников допускаются лица не моложе 18 лет, прошедшие медицинское освидетельствование, специальное обучение.

В ремонтных мастерских подъемниками управляют сами работающие. Кроме инструктажа по техники безопасности по основной профессии, необходимо периодически проводить обучение по правилам безопасности работы с подъемниками.

Для безопасности обслуживающего персонала на предприятиях применяются смотровые канавы.

Ядовитость выхлопных газов общеизвестна. Наиболее опасна из всех их составляющих окись углерода СО, предельно допустимая концентрация которой в воздухе составляет 0,02 мг/л.

Профилактика отравлений окисью углерода в условиях АТП заключается в систематическом контроле ее содержания в воздухе на рабочих местах и стоянках автомобилей обеспечении хорошей вентиляции.

Для предупреждения поступления выхлопных газов в помещения необходима герметизация трубопроводов выхлопных систем. На автомобилях, предназначенных для перевозки людей, глушитель должен быть выведен из-под кузова, а щели в полу тщательно заделаны.

Категорически запрещается обогреваться в кабине автомобиля при работе двигателя в режиме холостого хода (т.е. на богатой смеси), так как постепенно проникающие в кабину отработавшие газы создают опасную ситуацию.

Отравление окисью углерода происходит незаметно и часто приводит к смертельному исходу. Для оказания первой помощи (до прибытия врача) пострадавшего необходимо срочно вынести на свежий воздух, укрыть чем-нибудь теплым и попытаться напоить горячим чаем. Если дыхание остановилось, необходимо делать искусственное дыхание до появления признаков жизни.

Смазочные масла и гидравлические жидкости на минеральной основе также являются токсичными веществами. К маслам, которые содержат присадки, нужно относиться с большей осторожностью, чем к маслам без присадок, так как действие токсичных веществ, содержащихся в них (серы, хлора, фосфора, цинка, свинца и др.), изучено еще недостаточно. При нарушении правил обращения с маслами и личной гигиены они могут вызывать экзему, фолликулярные поражения кожи и даже более тяжелые заболевания.

Этиленгликоль и его водные растворы - антифризы также весьма токсичны. При попадании внутрь организма они поражают центральную нервную систему и почки. Аналогичным токсичным действием обладают тормозные жидкости на гликолевой основе "Томь", "Роса", "Нева" и др. Смертельная доза этиленгликоля составляет всего 50 г (около 100 г антифриза).

При отравлении этиленгликолем охлаждающей или тормозной жидкостями - пострадавшему следует немедленно оказать первую помощь: тщательно промыть желудок водой или 2 %-м раствором питьевой соды, искусственно вызвать рвоту, согреть и немедленно вызвать врача.

Для предупреждения отравлений охлаждающими и тормозными жидкостями необходимо строго контролировать их хранение, перевозку и расходование. На таре, в которой хранятся эти жидкости, обязательно должна быть четкая надпись "Яд".

Растворители и разбавители, которые используются на АТП, также токсичны и обладают высокой испаряемостью. Меры предосторожности при работе с ними и с лакокрасочными материалами, в которых они присутствуют, те же, что и при работе с бензинами.

При отравлении метиловым спиртом или дихлорэтаном пострадавшему оказывают такую же помощь, как и при отравлении тормозными и охлаждающими жидкостями. Мероприятия должны соответствовать ГОСТ 12.104-96 [13].

.4 Охрана труда при обслуживании системы питания

Особая осторожность должна быть соблюдена при разборке и регулировке некоторых деталей и сборочных единиц системы питания двигателя. Все операции по ТО с ними необходимо проводить только после тщательной отчистки и промывки их в ванной с керосином. Следует помнить, что такие детали покрыты пленкой с концентрацией топлива, которое при попадании в организм человека может вызвать сильное отравление.

Длительный и систематический контакт кожи с жидким дизельным топливом вызывает у человека различные кожные заболевания, резкие боли и отеки. Особенно сильное раздражающее действие оказывают сернистые дизельные топлива, и чем больше содержится в них серы, тем болезненнее поражение кожи (вплоть до омертвения тканей).

Вследствие низкого давления насыщенных паров и малой летучести дизельные топлива значительно менее огнеопасны, чем бензины. Минимальные температуры образования взрывоопасных смесей дизельных топлив 57...70 °С, т.е. они значительно выше температур, при которых эксплуатируются автомобили с дизельными двигателями, и поэтому образование взрывоопасных концентраций паров топлива с воздухом в обычных условиях маловероятно [14].

Для предупреждения возникновения взрыва и пожара от разрядов статического электричества необходимо:

тщательно заземлять все перекачивающие средства, трубопроводы, цистерны, топливозаправщики и резервуары;

не допускать налива топлива открытой струей и его разбрызгивания;

не допускать перемешивания топлива с воздухом и водой;

при заполнении автомобильных цистерн и других емкостей опускать наливную трубу до их днища, и пока нижний конец трубы не погрузится в топливо, соблюдать минимальную скорость заполнения емкости;

соблюдать осторожность, если на дне резервуара или любой другой емкости под нефтепродуктом имеется вода;

обязательно заземлять металлическим штырем шланг (рукав) для заправки автомобилей и пистолет (раздаточный кран);

на рамах автоцистерн, перевозящих топливо, укреплять заземляющую цепь, касающуюся земли на стоянке и при движении.

Опасность электризации топлив эффективно снижается при добавлении в них антистатической присадки. Однако в бензины и дизельные топлива, антистатические присадки пока не добавляют.

3.5 Пожароопасность

Правила пожарной безопасности на территории и производственных помещениях АТП

Пожарная безопасность АТП должна отвечать требованиям ГОСТ 12.1.004-85, строительным нормам и правилам, типовым правилам пожарной безопасности для промышленных предприятий и Правилами пожарной безопасности для предприятий автомобильного транспорта общего пользования.

Территорию АТП необходимо содержать в чистоте и систематически очищать от производственных отходов. Промасленные обтирочные материалы и производственные отходы следует собирать в специально отведенных местах, и по окончании рабочих смен удалять.

Разлитые топливно-смазочные материалы надо немедленно убирать.

Дороги, проезды, подъезды к зданиям и пожарным водоисточникам, противопожарные разрывы между зданиями и сооружениями и подступы к пожарному инвентарю и оборудованию должны быть всегда свободными.

На территорию складов легковоспламеняющихся и горючих веществ въезд транспортных средств допускается только при наличии на выхлопных трубах искрогасителей.

Во избежание пожара вблизи мест стоянки автомобилей и хранения горючих материалов не разрешается курить и пользоваться открытым огнем.

Производственные, служебные, административные, хозяйственные, складские и вспомогательные помещения надо своевременно убирать, технологическое и вспомогательное оборудование очищать от горючей пыли и других горючих отходов. Проходы, выходы, коридоры, тамбуры, лестницы должны быть свободными и не загромождаться оборудованием, сырьем и различными предметами.

У входа в производственное помещение должна быть надпись с указанием его категории и классов взрыво- и пожароопасное.

В лестничных клетках зданий запрещено устраивать какие-либо помещения, прокладывать промышленные газопроводы, трубопроводы с легковоспламеняющимися и горючими жидкостями, открыто прокладывать электрические кабели и воздуховоды.

В подвальных помещениях и цокольных этажах производственных зданий запрещено хранение легковоспламеняющихся и взрывчатых веществ, баллонов с газами, находящимися под давлением, и веществ с повышенной взрыво- и пожароопасностью, а в подвалах с выходами в общие лестничные клетки зданий - горючих веществ и материалов.

В цеховых кладовых для хранения горючих и легковоспламеняющихся жидкостей устанавливают нормы их хранения.

На рабочих местах в производственных помещениях легковоспламеняющиеся и горючие жидкости (топливо, растворители, лаки, краски) хранят в плотно закрытых емкостях в количестве, не превышающем сменную потребность.

Курение в производственных помещениях допускается только в специально отведенных для этого местах, оборудованных резервуарами с водой и урнами. В этих местах должна быть вывешена табличка с надписью "Место для курения".

В производственных и административных зданиях АТП запрещается:

загромождать проходы к месту расположения первичных средств пожаротушения и к внутренним пожарным кранам;

убирать помещения с применением легковоспламеняющихся и горючих жидкостей (бензина, керосина и др.);

оставлять в помещениях после окончания работы, топящиеся печи, электроотопительные приборы, включенные в электросеть, не обесточенное технологическое и вспомогательное оборудование, легковоспламеняющиеся и горючие жидкости, не убранные в специально отведенные места или кладовые;

пользоваться электронагревательными приборами в местах, не оборудованных специально для этой цели;

пользоваться отопительными приборами кустарного производства;

отогревать замерзшие трубы различных систем (водопровода, канализации, отопления) при помощи открытого огня;

производить работы с применением открытого огня в не предусмотренных для этой цели местах, а также пользоваться открытым огнем для освещения при ремонтных и других работах;

хранить тару из-под легковоспламеняющихся и горючих жидкостей.

Для устранения условий, могущих привести к пожарам и загораниям, все электроустановки следует оборудовать аппаратами защиты от токов короткого замыкания. Соединять, ответвлять и заделывать концы жил проводов и кабелей необходимо при помощи опрессовки, сварки, пайки или специальных зажимов.

Осветительные и силовые линии монтируют с таким расчетом, чтобы исключить соприкосновение светильников с горючими материалами.

Маслонаполненное электрооборудование (трансформаторы, выключатели, кабельные линии) защищают стационарными или передвижными установками пожаротушения.

Воздухонагревательные и отопительные приборы располагают таким образом, чтобы к ним был обеспечен свободный доступ для осмотра. В помещениях со значительным выделением горючей пыли устанавливают нагревательные приборы с гладкими поверхностями, препятствующими скоплению пыли.

Дымовые трубы котельных установок, работающих на твердом топливе, оборудуют искрогасителями. Для предотвращения загораний внутри дымовой трубы один раз в 2 мес. ее очищают от сажи. У каждой печи перед топочным отверстием на деревянных полах прибивают металлический лист.

Вентиляционные камеры, циклоны-фильтры, воздуховоды периодически очищают от скопившихся в них горючих пылей.

В случае, если в помещениях выделяются пары легковоспламеняющихся жидкостей или взрывоопасные газы, то в них устанавливают вентиляционные системы с регуляторами и вентиляторами, исключающими искрообразование. Вентиляционные установки, обслуживающие пожаро- и взрывоопасные помещения, оборудуют дистанционными устройствами их включения или отключения при пожарах.

Пожарная безопасность при обслуживании и эксплуатации автомобилей

При обслуживании и эксплуатации автомобилей следует соблюдать следующие правила пожарной безопасности. Мыть агрегаты и детали необходимо негорючими составами. Нейтрализовать детали двигателя, работающего на этилированном бензине, разрешается промывкой керосином в специально выделенных для этой цели местах.

Автомобили, направляемые на ТО, ТР и хранение, не должны иметь течи топлива, а горловины топливных баков транспортных средств должны быть закрыты крышками.

При необходимости снятия топливного бака и при ремонте топливопроводов топливо сливают. Слив топлива обязателен при ТО и ТР легковых автомобилей на поворотном стенде.

При обслуживании и ремонте газовой аппаратуры газобаллонных автомобилей следует проявлять особую осторожность и не допускать искрообразований. Для этого используют инструмент, изготовленный из неискрящих металлов (алюминий, латунь). Обслуживание и ремонт приборов электрооборудования газобаллонного автомобиля проводят при закрытых вентилях газовой аппаратуры и после проветривания подкапотного пространства.

В целях предотвращения возникновения пожара на автомобиле запрещается:

допускать скопление на двигателе и его картере грязи и масла;

оставлять в кабине и на двигателе промасленные обтирочные материалы;

эксплуатировать неисправные приборы системы питания;

подавать топливо самотеком или другими способами при неисправной топливной системе;

курить в автомобиле и в непосредственной близости от приборов системы питания;

подогревать двигатель открытым пламенем и пользоваться открытым огнем при определении и устранении неисправностей;

эксплуатировать газобаллонный автомобиль с неисправной газовой аппаратурой и при наличии утечки газа через не плотности.

Число автомобилей в местах стоянки, помещениях ТО и ТР не должно превышать установленной нормы.