Материал: Системы отопления

Внимание! Если размещение файла нарушает Ваши авторские права, то обязательно сообщите нам

В гравитационной системе используется различие в плотности нагретого и окружающего воздуха. Как и в водяной вертикальной гравитационной системе, при различной плотности воздуха в вертикальных частях возникает, естественное движение воздуха в системе. При применении вентилятора в системе создается вынужденное движение воздуха. Воздух, используемый в системах отопления, нагревается до температуры, обычно не превышающей 60°С, в специальных теплообменниках - калориферах. Калориферы могут обогреваться паром, водой, электричеством или горячими газами; система воздушного отопления соответственно называется водовоздушной, паровоздушной, электровоздушной, газовоздушной.

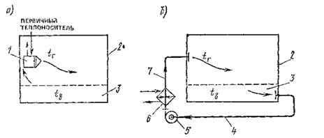
Воздушное отопление может быть местным (рис. 5, а) и центральным (рис. 5).

Рис.5 Принципиальные схемы местной (а) и центральной (б) систем воздушного отопления Отопительный агрегат; 2-помещение; 3-рабочая Зона; 4- обратный воздуховод; 5 - вентилятор; 6- теплообменник (калорифер); 7-подающий воздуховод.

В местной системе воздух нагревается в отопительной установке с теплообменником (калорифером или другим отопительным прибором), находящимся в обогреваемом помещении.

В центральной системе теплообменник (калорифер) размещается в отдельной камере - тепловом центре. Воздух при температуре tв подводится к калориферу по обратным воздуховодам (рециркулирует), горячий воздух при температуре tv перемещается вентилятором в помещения по подающим воздуховодам. [1]

В современных системах воздушного отопления малоэтажных зданий воздух нагревают обычно в калориферах-теплообменниках, печах, в которых тепло передается воздуху через стенку продуктами сгорания топлива или электрическими нагревателями. Нагретая изнутри металлическая (или кирпичная) поверхность калорифера (печи) охлаждается снаружи, отдавая тепло воздуху. Теплоотдача воздуху тем выше, чем больше поверхность теплообмена, поэтому искусственно увеличивают поверхность теплообмена или увеличивают скорость движения воздуха, соприкасающегося с поверхностью теплообменника.

Местное отопление часто приравнивается только к производственным помещениям. Приборы местного отопления используются для таких помещений, которые используются лишь в определенные периоды, в помещениях вспомогательного характера, в помещениях, которые сообщаются с наружными воздушными потоками.

Главными приборами системы местного отопления являются вентилятор и нагревательный прибор. Для воздушного отопления могут применяться такие устройства и приборы, как: воздушно-отопительные устройства, тепловые вентиляторы или тепловые пушки. Такие приборы работают на принципе воздушной рециркуляции.[7]

4. Паровое отопление

Паровое отопление - одна из разновидностей систем отопления зданий. В отличие от водяного или воздушного отопления, теплоносителем является водяной пар. Иногда в быту водяное отопление зданий неправильно называют «паровым», хотя в жилых и общественных зданиях применение парового отопления сейчас запрещено строительными нормами и правилами.

Особенностью парового отопления является комбинированная отдача тепла рабочим телом (паром), которое не только снижает свою температуру, но и конденсируется на внутренних стенках отопительных приборов. Удельная теплота парообразования (конденсации), которая выделяется при этом, составляет около 2300 кДж/кг, тогда как остывание пара на 50 °C дает только 100 кДж/кг.[2]

Источником тепла в системе парового отопления может служить отопительный паровой котёл, отбор пара из паровой турбины или редукционно-охладительная установка (РОУ), снижающая давление и температуру пара энергетических котлов до безопасных для потребителя параметров. Также источником вырабатываемой тепловой энергии с паром могут служить утилизационные установки, устанавливаемые, например, на металлургических предприятиях. Отопительными приборами являются радиаторы отопления, конвекторы, оребрённые или гладкие трубы. Образовавшийся в отопительных приборах конденсат возвращается к источнику тепла самотёком (в замкнутых системах) или подаётся насосом (в разомкнутых системах). Давление пара в системе может быть ниже атмосферного (т. н. вакуум-паровые системы) или выше атмосферного (до 6 атм). Температура пара не должна превышать 130 °С. Изменение температуры в помещениях производится регулированием расхода пара, а если это невозможно - периодическим прекращением подачи пара. В преддверии морозов иногда приходится заранее прогревать здание, чтобы использовать его тепловую инерцию (т. н. «перетоп»).

Преимуществами парового отопления являются:

1.      Небольшие размеры и меньшая стоимость отопительных приборов.

.        Малая инерционность и быстрый прогрев системы.

.        Отсутствие потерь тепла в теплообменниках.

Недостатками парового отопления являются:

.        Высокая температура на поверхности отопительных приборов.

.        Невозможность плавного регулирования температуры помещений.

.        Шум при заполнении системы паром.

.        Сложности монтажа отводов к работающей системе.

Из-за невысокой стоимости паровое отопление широко применялось в первой половине XX века. В настоящее время паровое отопление может применяться как при централизованном, так и при автономном теплоснабжении в производственных помещениях, в лестничных клетках и вестибюлях, в тепловых пунктах и пешеходных переходах. Целесообразно использовать такие системы на предприятиях, где пар так или иначе применяется для производственных нужд.

.1 Виды парового отопления

При паровом отоплении в приборах выделяется теплота фазового превращения в результате конденсации пара. Конденсат удаляется из приборов и возвращается в паровые котлы.

Системы парового отопления по способу возвращения конденсата в паровые котлы разделяются на замкнутые (рис. 1.6, а) с самотечным возвращением конденсата и разомкнутые (рис. 1.6, б) с перекачкой конденсата насосами.

В замкнутой системе конденсат непрерывно поступает в котлы под действием разности давления, выраженного столбом конденсата высотой h (см. рис. 1.6, а) и давления пара в котлах. Поэтому отопительные приборы должны находиться достаточно высоко над паросборниками котлов (в зависимости от давления пара в них).

В разомкнутой системе парового отопления конденсат из отопительных приборов непрерывно поступает в конденсатный бак и по мере накопления периодически перекачивается конденсатным насосом в котлы на тепловой станции. В такой системе расположение бака должно обеспечивать стекание конденсата из нижнего отопительного прибора в бак, а давление пара в котлах преодолевается давлением насоса.

В зависимости от давления пара системы парового отопления подразделяются на субатмосферные, вакуум-паровые, низкого и высокого давления (табл. 1.)

Рис. 6. Принципиальные схемы замкнутой (а) и разомкнутой (б) системы парового отопления. -паровой котел с паросборником. 2 - паропровод; 3 -отопительный прибор; 4 и 6 - самотечный и напорный конденсатопроводы; 5 - воздуховыпускная труба; 7 - конденсатный бак; 8 - конденсатный насос; 9 - парораспределительный коллектор.

Максимальное давление пара ограничено допустимым пределом длительно поддерживаемой температуры поверхности труб и отопительных приборов в помещениях (избы -точному давлению 0,17 МПа соответствует температура пара приблизительно 130 °С).

Таблица 1. Параметры (округленные) насыщенного пара в системах парового отопления


В системах субатмосферного и вакуум-парового отопления давление в приборах меньше атмосферного и темпера тура пара ниже 100 0С. В этих системах можно, изменяя величину вакуума (разрежения), регулировать темпера туру пара.

Теплопроводы систем парового отопления делятся на паропроводы, по которым пар перемещается от теплового центра до отопительных приборов, и конденсатопроводы для отвода конденсата. По паропроводам пар перемещается под давлением рп в паросборниках котлов (см. рис. 4, а) или в коллекторах (см. рис. 4, б) к отопительным приборам.

Конденсатопроводы (см. рис. 4.) могут быть самотечными и напорными. Самотечные трубы прокладывают ниже отопительных приборов с уклоном в сторону движения конденсата. В напорных трубах конденсат перемещается под действием разности давления, создаваемой насосом или остаточным давлением пара в приборах.[1]

Заключение

Система отопления представляет собой комплекс элементов, необходимых для обогрева помещений. Основными элементами являются генераторы теплоты, теплопроводы, отопительные приборы. Передача теплоты осуществляется с помощью теплоносителей - нагретой воды, пара или воздуха. Различают местные и центральные системы отопления.

К местным относят системы, в которых все элементы объединены в одном устройстве и которые предназначены для обогрева одного помещения. К местным системам относят печное отопление, газовое (при сжигании топлива в местном устройстве) и электрическое.

В водяных и паровых системах теплоноситель - вода или пар - нагревается в генераторе теплоты и передается по трубопроводам к нагревательным приборам. Прокладка трубопроводов систем отопления недопускается:

а) на чердаках зданий (кроме теплых чердаков) и в проветриваемых подпольях в районах с расчетной температурой минус 40 °С и ниже (параметры Б);

б) транзитных - через помещения убежищ, электротехнические помещения, шахты с электрокабелями, пешеходные галереи и тоннели.

На чердаках допускается установка расширительных баков с тепловой изоляцией из негорючих материалов.[3]

В заключение перечислим преимущества и недостатки основных теплоносителей для отопления.

При использовании воды обеспечивается довольно равномерная температура помещений, можно ограничить температуру поверхности отопительных приборов, сокращается по сравнению с другими теплоносителями площадь поперечного сечения труб, достигается бесшумность движения в трубах. Недостатками применения воды являются значительный расход металла и большое гидростатическое давление в системах; тепловая инерция воды замедляет регулирование теплопередачи приборов.

При использовании пара сравнительно сокращается расход металла за счет уменьшения площади приборов и поперечного сечения конденсатопроводов, достигается быстрое прогревание приборов. Гидростатическое давление пара в вертикальных трубах по сравнению с водой минимально. Однако пар как теплоноситель не отвечает санитарно-гигиеническим требованиям, его температура высока и постоянна при данном давлении, что не обеспечивает регулирования теплопередачи приборов, движение его в трубах сопровождается шумом.

При использовании воздуха можно обеспечить быстрое изменение или равномерность температуры помещений, избежать установки отопительных приборов, совмещать отопление с вентиляцией помещений, достигать бесшумности его движения в каналах. Недостатками являются его малая теплоаккумулирующая способность, значительные площадь поперечного сечения и расход металла на воздуховоды, относительно большое понижение температуры по длине воздуховодов.[6]

И так при выборе видов отопления по теплоносителю - водяного, воздушного, парового следует учесть все факторы, влияющие на окружающую среду, на приборы, на саму систему.

Использованная литература

1.      СНиП 41-01-2003 «Отопление, вентиляция и кондиционирование».2003г.

.        А. Н. Сканави, Богословский «Отопление». Стройиздат. Москва 1991г.

.        А.Н. Сканави, Л.М. Махов «Отопление». Издательство Ассоциации строительных вузов. 2002г.

.        Квартирное отопление // Краткая энциклопедия домашнего хозяйства. - М.: Государственное Научное издательство «Большая Советская энциклопедия», 1959.

.        Отопление // Краткая энциклопедия домашнего хозяйства. - М.: Государственное Научное издательство «Большая Советская энциклопедия», 1959.

.        В. Н. Карпов «Система водяного отопления зданий».НП «АВОК».2007г.

.        Интернет сайт Google.ru.