Вариант 1. Пентод. Пролітний клістрон. Потенціальний розподіл катодів. Типи і властивості катодів.
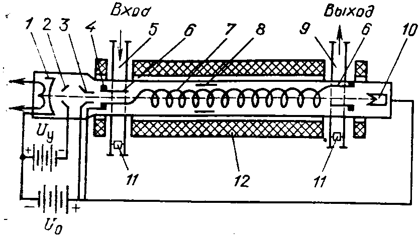
На рис. 1 показано пристрій і схема живлення пролітного дворезонаторного клістрона. Вхідний резонатор Р1 клістрона служить для модуляції швидкості електронного пучка, а вихідний резонатор Р2 перетворює енергію електронного пучка, що має модуляцію по щільності, в високочастотну енергію електромагнітних коливань власних частот резонатора.

Рисунок 1. Принципова схема дворезонаторного пролітного клістрона
28. Надайте характеристику вольфрамового катоду.
Робоча T = 2400-2800К
довговічність: 2-3 тис. годин
ефективність: 2-10 мА/Вт
Вольфрамові катоди застосовуються в потужних лампах, що працюють при високій анодній напрузі, коли робота катодів
інших типів робиться нестійкою. Сталість емісійних характеристик визначило використання суцільно металевих катодів
у високоточній вимірювальній апаратурі.
29. Надайте характеристику танталового катоду.
Робоча T = 2300-2500К
довговічність: 2-3 тис. годин
ефективність: 20-100 мА/Вт
Недоліком чистих танталових і вольфрамових катодів є те, що при сильних нагрівах матеріал катода кристалізується, що
робить катоди досить крихкими і ламкими.
30. Надайте характеристику торійованого катоду.
Робоча T = 1800-1900К
довговічність: 2-3 тис. годин
ефективність: 35-50 мА/Вт
Нестійка емісія, застосування тільки в деяких типах вимірювальних (електрометричних) ламп
31. Надайте характеристику карбідованого катоду.
Робоча T = 1950-2000K
довговічність:2 тис. годин
ефективність:50-70 мА/Вт
Карбідовані катоди знаходять застосування в генераторних лампах.
32. Надайте характеристику барієво-вольфрамового катоду.
Робоча T = 1200-1600K
довговічність:5 тис. годин
ефективність:100-1000 мА/Вт
Важливою перевагою барієво-вольфрамових катодів є їх здатність відновлювати активований шар при нагріванні, що
обумовлено безперервним надходженням барію зсередини на поверхню катода. Стійкість катодів до інтенсивного
електронного та іонного бомбардування дозволяє їх застосовувати в електровакуумних приладах з агресивними умовами
роботи – високі значення питомих струмів емісії та високі потенціали на електродах магнетрони, потужні клістрони та
інші.
33. Надайте характеристику оксидного катоду.
Робоча T = 900-1100K
довговічність:0.5-10 тис. годин
ефективність:60-100 мА/Вт
34. Надайте характеристику торієво-оксидного катоду.
Робоча T = 1600-1800K
довговічність:0.5-100 тис. годин
ефективність:100 мА/Вт
катод стійкий до електронного і іонного бомбардування і до впливу залишкових газів, добре працює при високих
анодних напругах, має малу схильність до іскріння. Металокерамічний торієво-оксидний катод призначений у першу
чергу для імпульсних магнетронів а також для потужних генераторних ламп.
Тетрод — електровакуумна лампа, що має чотири електроди: катод, керуючу сітку, екрануючу сітку та анод.
Екрануюча сітка розміщується між анодом і керуючою сіткою і виконується у вигляді густої спіралі, що оточує керуючу сітку.
Матеріалом для виготовлення сітки є нікель, молібден, їх сплави, а також тантал та вольфрам.
У тріоді між катодом та сіткою утворюється об'ємний заряд, який знижує підсилення, особливо на низьких напругах анода. Екрануюча сітка нейтралізує об'ємний заряд та підвищує підсилення лампи. На екрануючу сітку подається постійна позитивна відносно катода напруга, яка складає певну частину від анодної напруги залежно від призначення тетрода.
У електронній апарутурі тетроди в основному застосовуються як потужні генераторні лампи.


Рис. Розподіл потенціалу в пентоді та типові анодні характеристики пентода.
Пролітний клістрон — електровакуумний прилад, що працює за принципом короткочасної взаємодії електронів з електромагнітним полем двох і більше резонаторів.
сновные типы электронных вакуумных ламп:
Диоды (легко делаются на большие напряжения)
Триоды
Тетроды
Пентоды
Лучевые тетроды и пентоды (как разновидности этих типов)
Гексоды
Гептоды
Октоды
Ноноды
Комбинированные лампы (фактически включают 2 или более ламп в одном баллоне)
Лампою хвилі що біжить (ЛБХ) називають прилад, який працює по принципу розподіленої взаємодії електронного потоку з прямою, рухомою уповільненою електромагнітною хвилею.
Це високоефективний підсилювач з широкою смугою посилення (порядку 20-30% від середньої робочої частоти), високим коефіцієнтом посилення (порядку 20-60дБ) та низьким рівнем технічних та природніх шумів. Високий коефіцієнт посилення досягається завдяки тривалої взаємодії згустків електронного потоку з високочастотним полем уповільнюючих систем, які знижують фазову швидкість електромагнітної хвилі до швидкості електронів. Для різних частотних діапазонів використовуються різні уповільнюючі структури: спіральні, циліндричні, гребінці та інші. Саме вони визначають частотний діапазон роботи приладу.

Рисунок 7. Лампа хвилі, що біжить: 1- катод; 2 – керуючий електрод; 3—перший анод; 4 — другий анод; 5 — вхідний хвилевід; 6 — перехід, що погоджує; 7—спіральна уповільнююча система; 8—локальний поглинач; 9—вихідний хвилевід: 10 — колектор; 11 — пристрій узгодження; 12 — фокусуюча система.
Вакуумний тріод – триелектродна лампа, що складається з:
катоду -- джерела прикатодного об’ємного заряду;
аноду – колектора електронів;
керуючої сітки – електрода керування анодним струмом.
Сітка відрізняється більшою ефективністю дії на прикатодний об’ємний заряд ніж анод, тому що знаходиться ближче до катоду ніж анод.
Другою причиною є часткове екранування поля анода в прикатодній області за рахунок:
- виготовлення сітки з металу;
- виготовлення сітки у вигляді спіралей , сіток та металевої тканини.
Рис.
Конструктивні схеми тріодів.
Ua,

Рис. Типові анодно-сіткові та анодні статичні характеристики та методика визначення статичних параметрів лампи.
Теоретично, відбір енергії НВЧ полем відбувається лише тоді, коли або енергія, що віддається кожним електроном полю перевищуватиме енергію забрану ним від нього, або кількість електронів що віддають енергію перевищуватиме кількість електронів прискорюваних цим полем. Перша умова технічно важко здійснимо із-за необхідності керуванням кожним електроном окремо. Друга – доступніша і здійснюється шляхом перетворення рівномірного по щільності та по швидкості потоку електронів в потік, щільність якого змінюється в часі і в просторі згідно певного закону.
На даний момент відомо два способи управління щільністю струму в потоці: електростатичний і динамічний [14, 15].
Електростатичний спосіб широко використовується у довгохвильовій радіотехніці і реалізується в добре відомих тріодних, тетродних та пентодних генераторах, що мають наступні загальні риси:
– перетворення рівномірного по щільності електронного потоку в модульований по щільності потік досягається в просторі катод – сітка;
– взаємодія потоку змінної щільності з електромагнітним полем, що приводить до відбору енергії відбувається в просторі сітка – анод.
Режим А — такой режим работы усилительного элемента (транзистора или лампы), в котором при любых допустимых мгновенных значениях входного сигнала (напряжения или тока) ток, протекающий через усилительный элемент, не прерывается. Усилительный элемент не входит в режим отсечки, не отключается от нагрузки, поэтому форма тока через нагрузку более или менее точно повторяет входной сигнал. В частном случае усилителя гармонических колебаний режим А — такой режим, в котором ток через усилительный элемент протекает в течение всего периода, то есть угол проводимости 2Θc равен 360°[8][9].
Класифікація ламп по потужності розсіювання на аноді Ра .
Ра 25 Вт – малопотужні лампи. Працюють при Ua500В, за конструкцією подібні до приймально-підсилювальних ламп.
25 Вт Ра 1 кВт – лампи середньої потужності. 70% енергії джерела живлення перетворюється в коливну, решта -- на розігрів аноду. Працюють при Ua 20 кВ, застосовується примусове охолодження електродів (повітряне, водяне, вапатронне).
Ра 1 кВт – великої потужності (до 500 кВт). Виконуються, як правило, розбірними з постійною відкачкою газів, або напів-розбірними, застосовується примусове охолодження електродів (водяне, вапатронне).
Вариант 5. Магнетрон. Кут прольоту електрона. Променевий тетрод. Характеристика катодів по типу і будові.
Магнетроном називається генераторний прилад М-типу, в якому анод і катод є коаксіальними циліндрами, постійне магнітне поле є аксіальним та перпендикулярним електричному полю прискорення, а уповільнююча система є резонансною.
Принцип дії багаторезонаторного магнетрона базується на поєднанні методів короткочасної і тривалої взаємодії електронів із високочастотним електричним полем системи резонаторів, які утворюють замкнуту на себе уповільнюючу систему з вузькою смугою частот. Загальна схема багаторезонаторного магнетрона показаний на рис.13,а.

Рисунок 13. Загальна схема магнетрону: а) схема-переріз приладу: 1 — анодний блок; 2 — катод; 3 — резонатори; 4 — простір взаємодії; 5 — петля звязку для виводу НВЧ енергії; б) форма електронного потоку та траєкторії руху електронів
Для оцінки впливу часу прольоту електронів на ефективність використання електровакуумного приладу зазвичай використовують кут прольоту електрона
.

Рис. Загальний вигляд та схеми будови променевого тетроду та його окремих елементів

Рис. Типові анодні та анодно-сіткові статичні характеристики променевого тетроду 6Е6П з провисанням анодних характеристик при малих значеннях струмів.

Рис. Криві розподілу потенціалу а)- в міжелектродному просторі екранованого та променевого тетродів; б) – при зміні потенціалу керуючої сітки
В залежності від потужності лампи, напруг на електродах, інтенсивності іонного бомбардування, величини зворотних катодних струмів з сіток використовують:
- оксидні;
- оксидно-торієві;
- карбідовані;
вольфрамові.
Конструкція катодів визначається максимальною площею емісії, термоміцністю, з врахуванням температурного коефіцієнта розширення матеріалів катоду, виводів катоду та балону лампи.
Може використовуватись живлення трифазною напругою.
Переведення в робочі режими відбувається поступово для усунення перегорання катодів та виникнення пробоїв.
С ВАР 1.
Вариант 8



Шум — совокупность апериодических звуков различной интенсивности и частоты. С физиологической точки зрения шум — это всякий неблагоприятный воспринимаемый звук.
Термин: Децибел акустический, дБА
Описание: Единица измерения уровня шума с наложенным на измеритель фильтром, учитывающим особенность восприятия шума слуховым аппаратом человека (нелинейность частотной характеристики уха) . В дБА обычно измеряются шумовые характеристики ИБП / UPS. Величина дБА — уровень звукового давления, измеренный в дБ при помощи шумомера, содержащего корректирующую цепочку, снижающую чувствительность устройства на низких и очень высоких частотах для того, чтобы точнее имитировать чувствительность человеческого уха и получать отсчеты, дающие некоторые указания на громкость, неприятное действие или приемлемость звука. Значение дБА обычно на 10 единиц превосходит эквивалентное значение нормировочного индекса шума для данного звука.
По спектру[править | править вики-текст]
Шумы подразделяются на стационарные и нестационарные.
По характеру спектра[править | править вики-текст]
По характеру спектра шумы подразделяют на:
широкополосный шум с непрерывным спектром шириной более 1 октавы;
тональный шум, в спектре которого имеются выраженные тона. Выраженным тон считается, если одна из третьоктавных полос частот превышает остальные не менее, чем на 10 дБ[1].
По частоте (Гц)[править | править вики-текст]
По частотной характеристике шумы подразделяются на:
низкочастотный (<300 Гц)
среднечастотный (300—800 Гц)
высокочастотный (>800 Гц)
По временны́м характеристикам[править | править вики-текст]
1. — постоянный, уровень звука которого за 8-ми часовой рабочий день изменяется во времени не более, чем на 5 дБА при измерениях на временной характеристики «медленного» шумомера (шум в котельной); 2. — непостоянный, уровень звука которого за 8-ми часовой рабочий день изменяется во времени более, чем на 5 дБА при измерениях на временной характеристики «медленного» шумомера. В свою очередь, непостоянный шум подразделяется на: колеблющийся, прерывистый, импульсивный