Материал: Сборка и сварка фермы

Внимание! Если размещение файла нарушает Ваши авторские права, то обязательно сообщите нам

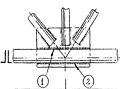
Рис.5.6. Узел фермы с прокладкой.

6. Выбор режима сварки

Качество сварки в значительной мере зависит от правильности выбора режимов работы сварочного полуавтомата, а также от правильности выбора сварочных материалов (сварочной проволоки). Для регулировки расхода защитного газа используют газовый редуктор. Защитный газ, который подается в зону сварки через газовое сопло, защищает дугу и сварочную ванну с расплавленным металлом. Металл в расплавленном состоянии химически активен и может взаимодействовать с защитным газом.

В зависимости от толщины свариваемого металла сварщик выбирает режим работы переключателем силы тока и подачи электрода. Расстояние от края защитной трубки и свариваемой деталью 7-14 мм.

Толщина свариваемого металла - 2 мм. Зазор между свариваемыми деталями устанавливается около 0,8 мм.

Рассмотрим оптимальные режимы сварки при толщине металла 2 мм:

      Диаметр проволоки 0,8 мм

      Сварочный ток - около 200 А

      Скорость сварки - 55 м/ч

      Вылет электрода - 13 мм

      Расход газа - 7 л/мин

      Число проходов - 1

7.   Требования качества выполненных работ

Сварные конструкции контролируют на всех этапах их изготовления. Кроме того, систематически проверяют приспособления и оборудование. При предварительном контроле подвергаются проверке основные и вспомогательные материалы, устанавливается их соответствие чертежу и техническим условиям,

После заготовительных работ детали подвергают чаще всего наружному осмотру, т.е. проверяют внешний вид детали, качество поверхности, наличие заусенцев, трещин, забоин и т.п., а также измеряют универсальными и специальными инструментами, шаблонами, с помощью контрольных приспособлений. Особенно тщательно контролируют участки, подвергающиеся сварке. Профиль кромок, подготовленных под сварку плавлением, проверяют специальными шаблонами, а качество подготовки поверхности - с помощью оптических приборов или специальными микрометрами.

Во время сборки и прихватки проверяют расположение деталей друг относительно друга, величину зазоров, расположение и размер прихваток, отсутствие трещин, прожогов и других дефектов в местах прихваток и т.д. Качество сборки и прихватки определяют главным образом наружным осмотром и обмером.

Наиболее ответственным моментом является текущий контроль выполнения сварки. Организация контроля сварочных работ может производиться в двух направлениях: контролируют сами процессы сварки либо полученные изделия.

8. Организация рабочего места

Для сварки и сборки фермы создаются специализированные сварочные участки - сборочно-сварочные цехи, которые оборудованы грузоподъемными устройствами, сборочными стеллажами, кондукторами и кантователями. Применение грузоподъемных устройств должно быть предусмотрено на сборке при сварке отдельных изделий массой более 20 кг каждое. Ширина проходов между оборудованием, движущимися механизмами и перемещаемыми деталями, а также между стационарными многопостовыми источниками питания должна быть не менее 1,5 м.