Дипломная (вкр): Розробка технологічного процесу складання лонжеронного крила

Внимание! Если размещение файла нарушает Ваши авторские права, то обязательно сообщите нам

Заклепки з алюмінієвих сплавів мають межі міцності на зріз τ = 180..280 МПа, сталеві заклепки - τ = 350...500 МПа.

Заклепки зі сплавів В65 і Д18П термічно оброблюються один раз при виготовленні та ставляться в конструкцію після природного старіння.

Заклепки з термічно стійкого сплаву Д19П ставляться в конструкцію у свіже загартованому стані не пізніше 2 годин після гарту і їх застосовують лише в тих конструкціях, які нагріваються в процесі польоту.

В з'єднаннях обтічних повітряним потоком, зазвичай застосовуються заклепки з потаємними головками.

На сучасних літаках такі заклепки складають приблизно 65...70% від загальної кількості заклепок в літаку.

Технологічній процес клепки, склад операцій і їхня послідовність багато в чому визначаються вимогами забезпечення ресурсу та герметичності, типом заклепок, методом складання.

Отвори для заклепок в з'єднувальних деталях свердлять або пробивають. Найбільш розповсюдженим засобом є свердлення отворів, бо при цьому вони виходять більш якісними.

Міцність заклепочних з'єднань з пробитими для заклепок отворами менша, чим таких самих з'єднань з отворами, які свердлять.

Сучасні тенденції в удосконаленні процесів клепки пов'язаних, в першу чергу, зі створенням процесів клепки. Які забезпечують щільне заповнення гнізда та отвору тілом заклепки, забезпеченням гарантованого натягу заклепок протягом усього строку експлуатації.

При передачі зусиль повз клепаний шов в матеріалі листа виникають напруження, які розподіляються нерівномірно по ширині листа. В зоні отвору ці напруження мають найбільшу величину і є джерелом виникнення тріщин і руйнування з’єднання при роботі в умовах змінних навантажень. Існує декілька технологічних методів зниження найбільшого напруження - концентрації напруження: зміцнення стінок отворів в деталях, підвищення чистоти поверхні при утворенні отвору, зняття та зміцнення фасок на кромках отворів. Найбільш ефективним методом є зміцнення матеріалу - стінок отвору.

При виконанні клепаних з’єднань зміцнення отворів виконують за рахунок деформації листа - збільшення діаметру отвору стрижнем заклепки.

В процесі утворення замикаючої головки заклепки стрижень збільшується в діаметрі та збільшує діаметр отвору, тобто зміцнює матеріал деталі в зоні отвору під заклепку.

В практиці літакобудування застосовується декілька засобів клепки, які мають різну ступінь зміцнення і відповідну до неї витривалість з’єднань.

На мал. 4.4 наведено графік, який відображає характер зміцнення при різних засобах клепки.

Мал. 4.4 Витривалість потаємних клепаних з’єднань, виконаних різними засобами

Засіб Д - постановка звичайних потаємних заклепок (зміцнюється в основному лист зі сторони замикаючої головки), витривалість умовно прийнята за 100%.

Засіб ПЗГ (потаємна замикаюча головка) призводить до зміцнення зенкованого листа и дає деяке підвищення витривалості при руйнуванні з’єднання під час вібраційних навантажень по зенкованому листу.

Заклепки з компенсатором (ЗУК) і стрижневі (ЗУС) забезпечують більш рівномірне зміцнення деталей, які з’єднують, і призводить до значного підвищення витривалості.

Найбільше і практично рівномірне зміцнення по товщині деталей можливо отримати при клепці КЗО-ЗУС. При цьому засобі клепки утворення головок заклепок відбувається в замкнутому об’ємі.

Окрім описаних вище типів заклепок в літакобудуванні застосовуються і спеціальні - заклепки з високим опором зрізу та заклепки для односторонньої клепки.

Технологія клепки такими заклепками і застосовуваний на деяких операціях і переходах інструмент трохи відрізняються.

Такі заклепки використовуються в заклепочних з’єднаннях, які сприймають великі зрізні навантаження. В таких з’єднаннях міцність на зріз заклепок з легких сплавів недостатня, а при використанні звичайних сталевих заклепок їх необхідно перед постановкою в отвір нагріти, що значно ускладнює виконання робіт. Технологічний процес утворення з’єднання заклепками з високим опором зрізу включає такі основні операції: свердлення, зенкування, розгортання або протягування отворів, постановка заклепок в отвори, установка кілець і утворення замикаючих головок заклепок. Усі ці операції виконуються на звичайному клепувальному обладнанні, окрім обтискача 3 (мал. 4.5). Цей обтискач має отвір для виходу зайвого матеріалу після осадки кільця на стрижень заклепки.

Мал. 4.5 Схема технологічного процесу постановки заклепок з високим опором зрізу: а) установка заклепки в отвір; б) надівання кільця; в) обтиснення кільця; г) заклепка після обтиснення кільця; 1 - стрижень заклепки; 2- кільце; 3- обтискач; 4 - відхід (зайвий матеріал)

Мал.4.6 Схема технологічного процесу постановки заклепок із сердечником: 1-свердління отвору; 2-вставка заклепки в отвір; 3- утворення замикаючої головки; 4 - обрив сердечника; 5 - видалення виступаючої частини сердечника;6 - готовий виріб

Заклепки з високим опором зрізу клепають на пресах одинарної клепки або пневмомолотком. Заклепки для односторонньої клепки застосовують в місцях, де немає доступу до замикаючої головки заклепки.

В таких випадках використовують заклепки з сердечником (мал. 4.6.) або гайкопістони. Отвори та гнізда для головок таких заклепок виконуються звичайним інструментом.

В літаках герметизують кабіни, приладові та вантажні відсіки. Призначення герметизації - підтримання надлишкового тиску в кабінах, запобігання витоку палива з кесон-баків, захист різних відсіків і агрегатів від проникнення в них агресивних рідин і газів і попадання води під час дощу. Витоки повітря, газів або рідини в швах в основному відбувається через зазори між контактними поверхнями листів, між елементами заклепок (стрижень, головки) та стінками отворів в деталях.

Зменшити або повністю усунути витоки можливо шляхом нанесення герметизуючих матеріалів в зони витоку і використанням щільної посадки заклепок в отвори.

Замість звичайних заклепок постановка заклепок з компенсатором і стрижневих призводить к значному підвищенню герметичності шва.

Найбільший ефект в частині герметизації швів досягається поєднанням щільної посадки заклепок з наступним нанесенням герметизуючих матеріалів спеціальних герметиків.

Герметизуючи матеріали мають адгезію до з’єднувальних деталей и можуть застосовуватися у вигляді плівок, паст та рідини, допускають взаємне переміщення з’єднувальних деталей без порушення герметизації. До герметиків пред’являють наступні вимоги:

·   Вони повинні володіти пластичністю, тобто зберігати герметизуючи властивості при перепадах тиску робочого тіла, деформаціях шва, впливу високої і низької температур;

·   Повинні мати зчеплення не менш 0,98 МПа з поверхнями деталей, яке не повинно порушуватися при впливі статистичних та змінних навантажень, різних температур, атмосферних явищ і повітря, газів і палива;

·   Не повинні надавати шкідливого впливу на людей і викликати корозійні процеси в зоні герметизації.

В літакобудуванні використовується велика кількість різноманітних марок герметиків.

Герметики ВГФ-1 і У-2-28 працюють при температурі від -60 (70) до +250 (300)0 С на літаках зі швидкістю М = 2…3, а герметики У-30М, УТ-32, У-30мєс-5, ВТУР - від -50 до +1300 С на літаках зі швидкістю польоту до 277,8 м/с.

Герметик може бути у вигляді пасто образної маси, розчину, пасти, рідини, стрічки або тканини, яка просочена герметиком.

Стан герметика залежить від кількості компонентів, які до нього входять, і визначають засіб його нанесення та вид застосовуваного при цьому інструменту й обладнання. Стрічки в зону шва укладають вручну, умовний індекс засобу нанесення позначається літерою (Л). На кресленні герметичного шву вказують марку герметика, товщину стрічки та засіб нанесення, наприклад, якщо було взято герметик У-20А у вигляді стрічки, то зображено У-20А(Л) (див. Мал. 4.7).

Мал. 4.7 Зона герметизації швів і засоби нанесення герметика: а - укладання стрічки; б - нанесення пасти шпателем; в - нанесення герметика пензлем; г - нанесення герметика поливом; 1 - звичайний джгут; ІІ - джгут з напливом; ІІІ- форма шпателів для нанесення джгутів; IV - місцева герметизація стику; V - місцева герметизація заклепки (болта)

Герметики у вигляді пасти наносять шпателем або шприцом, яким присвоєно індекс (Ш). Герметики, які наносяться пензлем, розчиняють до в'язкотекучої рідини, їм надано індекс (К).

Для нанесення герметика поливом, пульверизатором або окупанням його розчиняють до стану рухомої рідини, яка має в'язкість, цьому процесу надано індекс (П) (мал. 5.7, г). Важливою властивістю герметика є його життєздатність, тобто час, протягом якого герметик наноситься на поверхню деталей, зберігаючи свої адгезійні властивості - здатність прилипати до поверхні деталей.

Враховуючи життєспроможність герметиків, виготовляють його безпосередньо в цеху герметизації перед видачею на робочі місця

4.1 Типові приклади складання вузлів і панелей клепаної конструкції (складання лонжерона)

Клепані з'єднання мають широке використання при складанні вузлів і панелей, які виготовляються з листів і профілів алюмінієвих, магнієвих і титанових сплавів. Складання вузлів і панелей клепаної конструкції виконується зазвичай в пристосуваннях з базуванням деталей по їх поверхням або по складальним отворам.

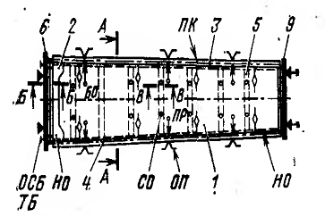
На мал. 4.8 (а,б,в) показаний процес складання лонжерона: схема базування (мал. 4.8,а), схема складання (мал.5.8,б), пристосування та його оснащення (мал. 4.8, в).

Мал. 4.8,а. Схема базування

Мал. 4.8,б. Схема складання лонжерона

Мал. 4.8, в. Пристосування та його обладнання

В якості баз прийняті: поверхня каркасу ПК при створенні обводів; УБО і поверхня ложементів 14 (ЛЖ) для встановлення і закріплення стінки в пристосуванні; ОСБ і торцева поверхня плити стику 6 (ПС-Н) при установці стикового вузла 2; поверхня каркасу ПК - обводообразуючі поверхні поясів 3 і 4 при установці їх на базові поверхні ложементів (ЛЖ); СО в стінці 1 и стійках 5 при встановленні останніх по дистанціям нервюр.

Умови постачання деталей на складання. Стінка 1 подається з обрізаними кромками і торцями. В ній просвердлені два отвори УБО по хорді та СО по стійках 5.

Стикувальний вузол 2 подається на складання повністю зібраним із отворами під ОСБ, виконаними на 2*10-3 м менш діаметру болта для подальшого опрацювання отворів під стикувальні болти крила на оброблювальному стенді.

В стикувальному вузлі також просвердлені НО під заклепки, які з'єднують вузол зі стійкою та поясами.

Пояси 3 і 4 подаються на складання з обрізаними торцями по НО. Стійки 5 мають СО і НО.

Складання починають з установки стінки лонжерону 1 по УБО на штифти 25. Потім встановлюють стикувальний вузол 2, спираючи його на поверхню плиті 6 пристосування, і закріплюють на ній технологічними болтами 18, встановленими в отворах ОСБ. Далі встановлюють пояси 3 і 4, спираючи їх на робочі поверхні ложементів 14. В подовжньому напрямку пояси фіксують по плиті 6, підтискаючи їх до неї плито-фіксатором 9. В такому положенні поясу і стінка закріплюються в ложементах пневматичними притисками 15. Стійки 5 закріплюють на стіні 1 по СО за допомогою технологічних болтів ТБ.

Свердління усіх отворів по НО виконується за допомогою свердлильної установки типа СЗВУ, а клепку заклепок за допомогою підвісного пневморичажного пресу ПКП. Після закінчення складання лонжерон знімають з пристосування та передають до наступного етапу складання.

.2 Види та конструктивно-технологічні характеристики роз'ємних з'єднань

Роз'ємні з'єднання це з'єднання, які можна розібрати без порушення елементів конструкції. До них відносяться різьбові, клинові, шліцьові, шомпольні, штифтові з'єднання.

В конструкціях літаків найбільш широке використання мають різьбові роз'ємні з'єднання. Розрізняють їх на болтові, гвинтові, шпилькові з'єднання, які мають різьбу на елементах кріплення.

З усіх видів різьбових з’єднань саме широке використання в конструкціях планерів літаків мають болтові з’єднання (БС). До цього виду з’єднань відносяться також з’єднання за допомогою болтів-заклепок.

Болтові з’єднання використовуються для передачі великих навантажень і для з’єднання пакетів великих товщин (мал. 4.9).

 

Мал. 4.9 Типові конструкції болтових з’єднань: а - фланцевий стик із закладним болтом; б - стик «вухо-вилка» кріплення ОЧК із центропланом; в - кріплення панелі обшивки з каркасом потаємними болтами; г - кріплення стінки профілю з поясом лонжерону; д - кріплення обшивки з каркасом потаємними болтами з анкерними гайками

В конструкціях сучасних літаків кількість болтів досягає 55 тис. штук на легких машинах і 400 тис. штук на важких.

Частіше за все болти і гайки виготовляються зі сталі 30ХГСА, 30ХГСНА, з титанового сплаву ВТ16. Застосування титанових болтів дає суттєвий виграш у масі порівняно зі сталевим кріпленням.

Біля 80 % з'єднань виконуються болтами з потаємною голівкою, а решта - з виступаючою, головним чином шестигранною голівкою.

Технологічний процес виконання болтового з’єднання складається з: утворення та обробки отворів під болти, встановлення болта в отвір, надягання шайби, нагвинчування і контрування гайки.

Близько 70% всієї трудомісткості виконання з'єднань витрачається на утворення та обробку отворів під болти. Ці операції виконуються ручним механізованим інструментом або в спеціалізованих пристосуваннях з програмним управлінням за допомогою свердел, набора зенкерів (для отворів великих розмірів), розгорток, протяжок.

Постановка болтів по легкопресовій та іншим напруженим посадкам є особливо трудомісткою операцією. Для зменшення зусиль запресовування болтів використовують змащення ЦИАТИМ-201, петролатум та ін.

Нагвинчування гайок (затягування БС) є досить відповідальною операцією.

Величина затягування цілком визначає працездатність БС працюючих на розтягнення та, в значній мірі, якість з’єднань, які працюють на зріз.

Тому в особливо відповідальних з’єднаннях зусилля стягування пакета лімітуються величиною крутного моменту затягування та виконуються тарованими гайковими ключами.

Трудомісткість виконання БС в 10…15 разів вища трудомісткості виконання заклепочних з’єднань. Тому їх використання може бути виправдано тільки в тих випадках, коли БС не має можливість змінити менш трудомісткими видами з’єднань.

Суттєвими факторами, які впливають на ресурс БС є: матеріал елементів конструкції та кріплення; геометричні параметри швів БС (відстань від краю листів і між болтами, число болтів в ряду та ін..); режими і засоби утворення та оброблювання отворів під болти (швидкість, величина подачі і глибина різання при свердлуванні, розгортанні та протягуванні отворів); характер посадки болтів в отвори (із зазором, середнім за величиною або великим радіальним натягом); величина затягування болтів; інтенсивність і умови експлуатації, погодні та кліматичні умови.