Материал: Регенеративный теплообменник упрощенный

Внимание! Если размещение файла нарушает Ваши авторские права, то обязательно сообщите нам

Регенеративный теплообменник упрощенный

Введение

регенератор теплообменник топливо печь

Первая мартеновская печь в России садкой 2,5 т была пущена в феврале 1870 г. на Сормовском заводе (ныне завод «Красное Сормово») А.А. Износковым и Н.Н. Кузнецовым. В конструктивном отношении она была лучше первых печей, сконструированных во Франции и США.

С увеличением садки печей улучшаются их технико-экономические показатели. В СССР, кроме печей садкой 200, 300, 400 и 600 т, работают печи садкой 900 т. Более половины всей мартеновской стали выплавляют в печах садкой 400-600 т.

Общее производство мартеновской стали увеличивается, но доля ее в суммарной выплавке стали в стране начинает снижаться вследствие ускоренного роста производства кислородно-конвертерной стали [3, стр. 240].

Проблема получения стали в больших количествах с различными свойствами не могла быть решена при помощи бессемеровского и томасовского процессов. На заводах скапливалось большое количество отходов и скрапа. Становился острым вопрос о рациональном использовании этих отходов, а также чугуна, который по химическому составу не подходил для передела в конвертере.

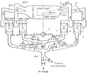
Идея, высказанная Реомюром в 1722 г., о возможности превращения мягкого железа в сталь путем погружения его в жидкий чугун, а затем о получении стали путем плавления лома и чугуна на подине отражательной печи была объектом упорных исканий братьев Мартен (с 1840 по 1865 г.). На заводе в Сирейле во Франции они добились успеха в этом начинании лишь после того, как воспользовались предложением Сименса (1856 г.) использовать тепло отходящих газов для нагрева топлива и воздуха, подаваемого для его сжигания.

По этому предложению, регенераторы печи (рисунок 1) заполнялись насадками из огнеупорного кирпича по форме ячеек, через которые пропускали уходящие из рабочего пространства печи продукты сгорания. Насадочные кирпичи аккумулируют часть тепла продуктов сгорания, нагреваясь до высокой температуры. Через определенный промежуток времени (10-12 мин) изменением положения задвижек в клапанах продукты сгорания направляются в две другие регенеративные камеры, расположенные по другую сторону печи, в то время как в первые две камеры раздельно пропускаются газ и воздух для нагревания от раскаленных насадок при их движении в рабочее пространство печи. При использовании регенерации тепла продуктов сгорания удалось поднять температуру в рабочем пространстве настолько, что это позволило расплавить и даже перегреть шихту, составленную из чугуна и стальных отходов.

Регенеративные печи описанной системы имели две головки (горелки), симметрично расположенные по торцам рабочего пространства, которые служили попеременно для впуска газа и воздуха и для выхода продуктов сгорания.

В дальнейшем процесс, как и конструкция печи, подвергались совершенствованию. Так, когда запасы лома были исчерпаны, возник процесс с повышенным содержанием чугуна в шихте и с применением руды для окисления примесей.

Уже за первые десятилетия своего существования мартеновский процесс опередил по объему производства стали бессемеровский благодаря своей гибкости, применимости к любому масштабу производства, легкой контролируемости, менее строгим требованиям к шихтовым материалам и возможности выплавки стали как углеродистых, так и легированных марок. Он был использован и для передела высокофосфористого чугуна в мартеновских печах качающегося типа.


Рисунок 1Схема мартеновской печи

1 - рабочее пространство; 2 - головка; 3 - вертикальные каналы; 4 - шлаковик; 5 - боров; 6 - газовый регенератор; 7 - воздушный регенератор; 8 - вентилятор.

1. Общая часть

.1 Устройство и принцип работы регенеративного теплообменника


Регенеративный теплообменник, обычно применяемый в металлургических печах, представляет собой камеру, заполненную кирпичной многорядной решеткой (насадкой), выложенной из огнеупорных кирпичей. Сначала через регенератор пропускают дым, а затем в обратном направлении - воздух или газообразное топливо. В этот период регенеративная насадка отдает воздуху (газу) ранее аккумулированное тепло.

Материал, из которого выполняют насадку, должен характеризоваться соответствующей огнеупорностью, термостойкостью и обладать определенным сопротивлением деформации под нагрузкой при повышенных температурах. В мартеновских печах крайне важное значение имеет способность кирпича насадки выдерживать воздействие железистых шлаков. Ячейкой регенеративной насадкиназывается сечение, свободное дляпрохода газов и заключенное междучетырьмя кирпичами регенератора.

Размер ячейки определяется видом иназначением насадки. Наибольшее распространение получили насадки представленные на рис. 3. Их сравнительные характеристики приведены в табл. 1.

Таблица 1Характеристики различных типов регенеративных насадок



Рисунок 3 Виды регенеративных насадок

а) насадка Каупера; б) насадка Сименса; в, г) блочные насадки для доменных воздухонагревателей

Рисунок 4 Регенеративный теплообменник мартеновских печей:

а - двухоборотный; б - однооборотный с выдвижным шлаковиком

1.2 Характеристика материалов, используемых для кладки печи


При сооружении металлургических печей наряду с обычными строительными материалами применяются материалы, предназначенные для работы при высоких температурах. Они служат для отделения рабочей камеры печи от окружающего пространства и ее тепловой изоляции. Это неметаллические огнеупорные и теплоизоляционные материалы.

Помимо них, применяются также жароупорные металлы и сплавы, используемые для изготовления узлов и деталей, работающих при высоких температурах и несущих значительные нагрузки (муфели, конвейеры, толкатели и т.п.).

Огнеупорные материалы.

Классификация огнеупорных материалов

Огнеупорными называют строительные материалы, предназначенные для сооружения тепловых устройств, в частности металлургических печей, и способные противостоять воздействию высоких температур и физико-химических процессов, протекающих в этих агрегатах.

По способу изготовления огнеупорные изделия делят на естественные (выпиливаемые из горных пород, например тальковые) и искусственные (прессованные, трамбованные, литые и волокнистые). Литые изделия могут быть получены отливкой из жидкого раствора (подобно литому бетону) или из расплавленных масс. Прессованные изделия изготовляют обожженными (обжиговые) и необожженными (безобжиговые); последние подвергают обжигу в период разогрева печи и ее эксплуатации. Волокнистые изделия изготовляют путем пропитки связующим раствором алюмосиликатной огнеупорной волокнистой массы, получая, таким путем, войлок, маты и плиты.

Свойства огнеупорных материалов

Огнеупорные материалы характеризуются огнеупорностью; предельной температурой службы; термической стойкостью; механической прочностью; плотностью; пористостью; шлакоустойчивостью; теплопроводностью; удельной теплоемкостью; электропроводностью.

Огнеупорность - это свойство материала противостоять длительному воздействию высоких температур, не деформируясь и не расплавляясь. Огнеупорность определяют стандартным методом.

Предельная температура - это та максимальная температура, при которой огнеупорный материал может работать в футеровке печи без разрушения

Термическая стойкость - это способность материала выдерживать резкие колебания температуры, не растрескиваясь и не разрушаясь. Этот показатель характеризуют числом теплосмен, понимая под одной теплосменой цикл нагрева огнеупорного изделия до определенной температуры с его последующим резким охлаждением.

При футеровке печей (особенно плавильных) необходимо применять огнеупорные изделия с минимальной газопроницаемостью, поскольку проникновение газов через кладку может открыть путь для прорыва жидкого металла и шлака.

Шлакоустойчивость характеризует способность огнеупорных материалов противостоять разъедающему действию расплавленных шлаков. Это свойство особенно важно при выборе материала для футеровки плавильных печей.

Теплопроводность огнеупорных материалов оказывает большое влияние на тепловую работу футеровки. Чем она ниже, тем лучше теплоизолирующие свойства кладки. Коэффициент теплопроводности огнеупоров зависит от природы материала, его пористости и температуры.

При увеличении температуры величина коэффициента теплопроводности шамотных и динасовых огнеупоров повышается, а магнийсодержащих и высокоглиноземистых - сильно понижается.

Удельная теплоемкость огнеупорного материала также является важной характеристикой, оказывающей влияние на тепловую работу футеровки, особенно печей периодического действия. Чем выше удельная теплоемкость огнеупорного материала, тем при прочих равных условиях больше расход тепла на аккумуляцию кладкой печи, изготовленной из этого материала. С ростом температуры теплоемкость всех огнеупорных изделий повышается.

Шамотные изделия

Их изготовляют из огнеупорных глин и каолинов, содержащих водный каолинит Al2O3-2SiO2-2H2O. Это сырье подвергают предварительному обжигу с целью получения безводного каолинита Al2O3-2SiO2, который размалывают и просеивают. Смесь необожженной глины и безводного каолинита (в равных количествах) увлажняют и из этой пластической массы посредством прессования под высоким давлением изготавливают изделия требуемой формы. Их сушат, а затем обжигают при температуре, возрастающей до 1400°С в течение 70-120 ч. В процессе обжига происходит перекристаллизация глинозема и образуется муллит 3Al2O3-2SiO2, зерна которого укрупняются и формируют кристаллический сросток.

Полукислые огнеупоры

Их изготовляют из огнеупорных глин, смешанных с песком, или из полукислых глин, содержащих 15-30% А120з, по той же технологии, что и шамотные изделия. Полукислые огнеупорные материалы характеризуются хорошим постоянством объема, так как усадка одного компонента (глинозема) компенсируется увеличением объема второго компонента (кремнезема). Обычно полукислые огнеупоры дают в процессе эксплуатации усадку 1-1,5%. Они несколько менее огнеупорны, чем шамотные материалы.

Высокоглиноземистые изделия

Их изготовляют из природных минералов: андалузита, силиманита и кианита, имеющих одинаковый химический состав (Al2O3-SiO2), но различное кристаллическое строение, а также издиаспора А120320, боксита А12Oз-nН20, гидрагиллита А12O3-ЗН2O и корунда А12O3. Применяется также и искусственное сырье в виде технического глинозема, содержащего не менее 90% А1203.

Футеровка печи

Футеровка печи состоит из пода, стен и свода. Кладка всех этих элементов футеровки осуществляется различными методами. Кирпичи укладывают в большинстве случаев на плашку (рис. 7, а), но в подах и сводах печей их часто кладут на ребро и на торец (рис. 7, б, в). Различают также укладку кирпича ложковую (рис. 7, г) и тычковую (рис. 7, д).

В каждом последующем ряду кладки кирпичи смещают (на 1/4, на 1/2 или 3/4 размера кирпича) относительно предыдущего ряда с тем, чтобы швы в двух соседних рядах не совпадали. Это укрепляет кладку и делает ее более устойчивой по отношению к шлаку и к газам. Такое смещение швов называют перевязкой.

Вертикальные швы перевязывают всегда, а горизонтальные - редко. Некоторые примеры перевязки швов показаны на рис. 8 [1, стр. 202].

Рисунок 7 Способы укладки кирпича:

а - на плашку; б - на ребро; в-на торец; г - ложковая; д - тычковая

Рисунок 8 Примеры перевязки швов огнеупорной кладки: а - столбика; б - простенка; в - стены; г - угла

2. Специальная часть

.1 Расчет горения топлива


Таблица 2 Состав сухого газа, %

Газ

Влажность,

доменный

10,8

29,4

1,3

-

-

58,1

0,2

30

коксовый

2,2

8,2

58,3

22,5

1,8

0,2

6,3

0,5

30


Определение влажного состава топлива


 - содержание компонента во влажном топливе, %

 - содержание компонента в сухом газе, %

 - коэффициент пересчета из единицы массы в единицу объема;

 - Влажность, .

Доменный газ

Коксовый газ

Определение теплоты сгорания



Доменный газ

Коксовый газ

Определение доли участия каждого газа в смеси.

Найдем долю участия доменного газа в смеси


 - низшая теплота сгорания смеси;

 - доля участия доменного газа в смеси

Найдем доли участия каждого компонента в смеси


Определить количество воздуха, необходимого для горения топлива, количество и состав продуктов горения.

Таблица 3 Определение количества воздуха и продуктов горения

Реакции горения

Воздух

Всего



Всего








-


-




11,31




-




8,32








12,42




12,42