Материал: Разработка технологической схемы синтеза бутадиен-нитрильного каучука и композиции на его основе

Внимание! Если размещение файла нарушает Ваши авторские права, то обязательно сообщите нам

Одним из серьезных недостатков при коагуляции латексов СКН является повышенный расход электролита - хлорида натрия (до 1500 - 2500 кг/т). Уменьшение расхода достигается за счет использования рецикла серума, введение в латекс коагулирующих добавок и других приемов. Сушка каучука производится с учетом возможности деструкции СКН при повышенных температурах. На сушку лента каучука поступает с содержанием влаги 40 - 50 %. Сушильный агрегат - это многоходовая ленточная сушилка непрерывного действия, она оборудована девятнадцатью транспортерами, на которые поступает горячий воздух, прогреваемый в калориферах. Сушильный агрегат разделен на четыре зоны, в которых движутся транспортеры. С целью регулирования скорости транспортеров по зонам установлены вариаторы скоростей. Температура по зонам сушилки поддерживается автоматически с помощью регулирующих клапанов и выдерживается в следующих пределах: первая зона - не выше 1450С, вторая зона - не выше 1400С, третья зона - не выше 1300С. Четвертая зона служит для охлаждения высушенного каучука путем подачи свежего воздуха в сушилку. Высушенная лента каучука с содержанием влаги не более 1% подается транспортером на упаковку или на разрывную машину. На агрегате брикетирования лента упаковывается в полиэтиленовую пленку. Брикеты массой 32кг укладываются в контейнеры и отправляются потребителям.

В промышленности применяют два метода выделения каучука из латекса: в виде ленты и в виде крошки. Технологический режим выделения каучука из латекса определяется выбранной схемой. При выделении каучука из латекса в виде ленты крошки каучука размером 1 - 3 мм должна обладать определенной клейкостью, что возможно при условии удерживания крошки каучука четырехкратного объема воды. При выделении каучука в виде крошки размером 5 - 30 мм стремятся обеспечить более полное обезвоживание. Это достигается путем повышения кислотности среды, а также более длительного контакта с серной кислотой. Размер зерна обеспечивается путем подбора режима коагуляции водой или серумом (вода с примесью электролитов и отдельных водорастворимых компонентов латекса), интенсивностью смешения потоков латекса и электролитов, скоростью перемешивания потоков на стадии коагуляции, степенью промывки крошки. Все это также влияет на условия сушки каучука.

.3 Модифицированный СКН

Модификация состоит во введении в СКН различных добавок, например поливинилхлорид. Смешение производят в резиносмесителях или на вальцах.

Можно также модифицировать каучуки путем смешения латексов. Этот способ более экономичен.

Каучуки, модифицированные поливинилхлоридом, выпускают двух типов. Они различаются соотношением каучука и поливинилхлорида: 70:30 и 50:50. Модифицированный каучук получают обычно периодическим способом. Латекс СКН после дегазации смешивается с латексом поливинилхлорида в аппарате с мешалкой, при этом вводят стабилизатор для двух латексов. Выделение такого каучука производится раствором хлорида натрия при 40 - 450С. Полученная крошка промывается водой в аппарате с мешалкой и направляется в аппарат для сушки.

Преимуществом таких модифицированных каучуков являются отличные озоностойкость, сопротивление раздиру, стойкость к агрессивным средам, тепловому старению и огнестойкость.

Кроме поливинилхлоридов СКН модифицируют хлоропреновым каучуком, тиоколом, бутадиен - стирольным, полибутадиеновым, натуральным каучуками и фенолформальдегидными смолами.

Были получены изопрен - нитрильные каучуки, которые применяются при изготовлении клеев. Они обладают повышенной клейкостью. Из них получают светлые резины.

Также выпускают структурированные бутадиен - нитрильные каучуки - продукты тройной сополимеризации бутадиена, НАК и дивинилбензола (марки СКН - 26СШ и СКН - 40СШ). Большое значение имеет тройной сополимер бутадиена, НАК и стирола, выпускаемый в виде смолы.

Разработанные бутадиен - нитрильные каучуки, наполненные пластификатором на стадии латекса (вопрен 520), характеризующиеся особо легкой перерабатываемостью; карбоксилированные каучуки (СКН - 26 - 5 - сополимер бутадиена, НАК и метакриловой кислоты); большой ассортимент жидких бутадиен - нитрильных полимеров. Производятся порошкообразные каучуки, каучуки со связанным антиоксидантом, вводимым на стадии полимеризации.

.4 Вулканизация

Бутадиен-нитрильные каучуки могут вулканизоваться серой в присутствии ускорителей серной вулканизации, а также тиурамом, органическими перекисями, алкилфенолформальдегидными смолами, хлорорганическими соединениями. Вулканизацию проводят при температурах 140-190оС. При вулканизации наблюдается большое плато вулканизации. С повышением содержания связанного НАК скорость вулканизации увеличивается.

Так как БНК не кристаллизуются при деформации, ненаполненные резины на их основе характеризуются низкими прочностными показателями и практического значения не имеют.

Качество каучуков оценивают по свойствам вулканизатов стандартных смесей следующего состава (табл. 2):

Таблица 2 - Содержание, масс. частей

СКН-18

100,00

-

СКН-26, СКН-40

-

100,00

Сера

2,00

1,50

Оксид цинка

5,00

5,00

Меркаптобензитиазол

1,50

0,80

Технический углерод

50,00

45,00

Стеариновая кислота

1,50

1,50


Каучук с ингредиентами смешивают на лабораторных вальцах при температуре валков 30-40оС. Общая продолжительность смешения 41 мин, из них в течение 15 мин проводят пластикацию каучука. Продолжительность вулканизации резиновых смесей, приготовленных по стандартному рецепту при 142 ± 1оС, составляет 50-60 мин. Предел прочности ненаполненных вулканизатов стандартных смесей не превышает 5-6 МПа.

.5 Свойства

Физические свойства

Физические свойства БНК существенно зависят от содержания НАК. Бутадиен-нитрильные каучуки хорошо растворяются в кетонах, ароматических и хлорированных углеводородах, сложных эфирах и очень плохо в алифатических углеводородах и спиртах. С увеличением содержания в полимере связанного НАК существенно увеличивается межмолекулярное взаимодействие между цепями полимера и плотность, повышается температура стеклования, снижаются диэлектрические свойства, уменьшается растворимость в ароматических растворителях и увеличивается стойкость к набуханию в алифатических углеводород.


СКН-18

 СКН-26

СКН-40

Сопротивление раздиру, кН/м

46-65

65-85

72-85

Твердость по ТМ-2

69-72

75-78

72-76

Эластичность по отскоку, %

40-45

30-35

15-20

Истираемость, м3/ТДж (мм3/кДж)

82-90

55-68

41-55

Температура хрупкости, °С.

58-60

48-50

23-21

Коэффициент теплостойкости при 100°С



по прочности при растяжении.

0,3-0,4

0,3-0,4

0,3-0,4

по относительному удлинению.

0,5-0,6

0,5-0,6

0,55-0,65

Набухание в бензине в течение 24 ч, %

22-24

7-8

0,5-1,0


Технологические свойства

В зависимости от условий регулирования процесса полимеризации БНК выпускают с различными пластоэластическими свойствами: Очень жесткие (твердые) - с жесткость по Дефо 21,5 - 27,5 Н или вязкостью по Муни выше 120 усл. ед.; Жесткие - с жесткостью по Дефо 17,5 - 21,5 Н или вязкостью по Муни 90 - 120 усл. ед.; Мягкие - с жесткостью по Дефо 7,5 - 11,5 Н или вязкостью по Муни 50 - 70 усл. ед.

В соответствии с этим к обозначению каучука добавляют букву Т - для очень жестких каучуков или М - для мягких. Для каучуков получаемых в присутствии алкилсульфонатов в качестве эмульгаторов, к обозначению каучука добавляется буква С. Например, СКН-18МС обозначает, что каучук содержит около 18% связанного НАК, мягкий (за счет пониженном молекулярной массы), получен в присутствии биологически разлагаемого алкилсульфонатного эмульгатора.

Переработка БНК затруднена из-за высокой жесткости, обусловленной большим межмолекулярным взаимодействием. Обрабатываемость каучуков различных марок зависит от их исходной вязкости, а также от содержания нитрильных групп. Для всех каучуков жестких типов необходима предварительная пластикация, причем наиболее эффективна механическая пластикация на вальцах при температуре 30-40 °С.

По скорости пластикации БНК могут быть расположены в следующий ряд: СКН-40>СКН-26>СКН-18. Термоокислительная деструкция БНК малоэффективна и не находит практического применения. Существенные трудности возникают при изготовлении резиновых смесей на основе БНК в резиносмесителях, так как при этом вследствие повышенного теплообразования развиваются высокие температуры, которые приводят к повышению жесткости смесей из-за подвулканизации или термоструктурирования каучука.

Обычно применяются многостадийные режимы смешения с охлаждением и вылежкой маточных смесей между стадиями. Резиновые смеси на основе БНК обладают незначительной конфекционной клейкостью. Формование смесей затруднено вследствие высокой жесткости и большого эластического восстановления.

Каучуки, полученные низкотемпературной полимеризацией, имеют лучшие технологические свойства по сравнению с каучуками «горячей» полимеризации.

Свойства вулканизатов

Основные свойства резин на основе БНК зависят от содержания в них связанного НАК. С увеличением содержания повышаются прочностные свойства, твердость, износостойкость, стойкость к набуханию в алифатических углеводородах и стойкость к тепловому старению. В то же время существенно снижаются эластичность и морозостойкость, повышается теплообразование при многократных деформациях. Резина на основе БНК отличаются высоко стойкостью к набуханию в алифатических углеводородах, жирах и растительных маслах, но сильно набухают в полярных, ароматических и хлорсодержащих органических соединениях.

Одним из существенных преимуществ резин на основе БНК по сравнению с резинами на основе НК, СКИ-3, СКС-30 является их более высокая стойкость к тепловому старению, что объясняется образованием при окислении промежуточных продуктов, являющихся ингибиторами окисления. Резины на основе БНК имеют хорошую адгезию к латунированному металлу и приближаются в этом отношении к резинам из НК. Прочность крепления их к алюминию и его сплавам, стали, чугуну, латуни, бронзе, цинку, магнию выше прочности самого вулканизата.

БНК можно применять в комбинации с натуральным, изопреновым, бутадиеновым и бутадиен-стирольным каучуками, которые вводятся для улучшения технологических свойств смесей и повышения морозостойкости вулканизатов. Совмещение их с этиленпропиленовыми и хлоропреновыми каучуками улучшает озоностойкость и стойкость к тепловому старению, а совмещение с тиоколами, поливинилхлоридом, фторкаучуками и фенолформальдегидными смолами улучшает масло - и бензостойкость, озоностойкость.

.6 Применение

Бутадиен-нитрильные каучуки применяют для изготовления различных масло- и бензостойких изделий, используют также как пластификаторы для пластмасс, на основе которых изготовляют ударопрочные материалы.

Стойкость бутадиен-нитрильных каучуков к маслам, углеводородам и другим агрессивным средам послужила причиной широкого применения этих каучуков при изготовлении:

широкого ассортимента резинотехнических изделий;

уплотнительных деталей, втулок, колец, манжет, сальников, диафрагм, мягкой тары, шлангов, полиграфических офсетных пластин, приводных ремней и пр.;

кислотно- и щелочестойкой резины, применяемой в качестве антикоррозийных материалов для внутренних покрытий аппаратов, работающих в агрессивных средах;

покрытий топливных баков для автомобильной, авиационной, нефтяной промышленности и шлангов, теплостойкого эбонита, обладающего большой механической прочностью и стойкостью к химическим агентам, для изготовления оболочек электрических кабелей;

маслобензостойкой обуви, каблуков и подошв обуви.

Каучуки используются для производства изоляционных и электропроводящих резин, каблуков и подошв обуви, клеев и эбонитов, защитных покрытий, стойких в агрессивных средах.

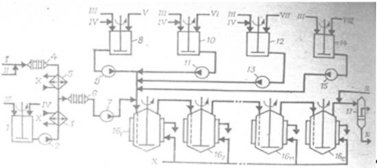
.Описание технологической схемы

Схема установки для получения низкотемпературных бутадиен-нитрильных каучуков непрерывной полимеризацией в эмульсии представлена на рисунке 1. Водная фаза, включающая раствор основного эмульгатора, электролита и второго эмульгатора (лейканола), готовится в аппарате 1 смешением указанных компонентов, дозируемых в соответствии с заданной рецептурой, и имеет рН 10-11.

Готовая водная фаза насосом 2 через холодильник 3, охлаждаемый рассолом, подается на смешение с углеводородной фазой в диафрагмовой смеситель 6. Углеводородная фаза готовится непрерывным смешением бутадиена и акрилонитрила, подаваемых в заданном соотношении дозировочными насосами в диафрагмовый смеситель 4 охлаждается в рассольном холодильнике 5, смешивается с водной фазой в диафрагмовом смесителе 6, после чего насосом 7 подается в первый по ходу аппарат батареи полимеризаторов, состоящий, как правило, из 12 стандартных полимеризаторов объемом 12 или 20 м3.

Эмульсия инициатора готовится в аппарате 8 из умягченной воды, инициатора и эмульгатора, дозируемых из соответствующих мерников, и насосом 9 подается на смешение с эмульсией углеводородов в воде в линию шихты перед первым полимеризатором 16.

Регулятор молекулярной массы каучука (трет-додецилмеркаптан) применяется в виде раствора в акрилонитриле. Комплекс железа готовится в отсутствие воздуха в виде тонкой взвеси в воде при нагревании смеси растворов пирофосфата калия и сульфата железа (II) при перемешивании или в виде раствора омылением этилендиаминтетрауксусной кислоты едким калием с последующим взаимодействием образовавшейся соли с рассчитанным количеством сульфата железа (II), Ронгалит растворяется в воде при перемешивании. Приготовленные в соответствии с рецептом полимеризации растворы подаются на смешение в линию шихты перед первым полимеризатором. Все растворы исходных компонентов готовятся и хранятся в атмосфере азота.

Рисунок 1 - Схема полимеризации при получении низкотемпературных бутадиен эмульсионных каучуков: 1 - емкость для приготовления водной фазы; 2, 7, 9, 11, 13, 15 - насосы; 3, 5 - холодильники; 4, 6 - диафрагмовые смесители: 8, 10, 12, 14 - аппараты для приготовления компонентов; 161 - 1612 - полимеризаторы; 17 -фильтр. I-бутадиен; II-акрил; III-умягченная вода; IV - эмульгаторы; V - инициатор; VI - комплекс железа; VII- ронгалит; VIII- регулятор молекулярной массы; IX- стоппер; Х - рассол; XI-латекс на дегазацию